手机用户可
保存上方二维码到手机中,在
微信扫一扫中右上角选择“从
相册选取二维码”即可。
1、填空题 锅炉热效率计算有()和()两种方法。
点击查看答案
本题答案:正平衡、反平衡
本题解析:试题答案正平衡、反平衡
2、问答题 什么叫机组的滑参数启动?有何优点?
点击查看答案
本题答案:锅炉与汽轮发电机组同时启动,锅炉点火升压的同时,汽轮机
本题解析:试题答案锅炉与汽轮发电机组同时启动,锅炉点火升压的同时,汽轮机利用锅炉的低参数过热蒸汽进行暖机升速、带负荷。由于汽轮发电机组是在汽温汽压等参数不断变化的情况下启动暖机。升速。并网和承接少量负荷的,故称为滑参数启动,又称为成套或单元启动。其优点很多:
(1)与机炉分别单独启动相比,从启动到机组带满负荷,所需的时间大大减少。机炉分别启动所需的时间,为锅炉与汽轮机单独启动所需时间之和。而滑参数启动所需的时间与汽轮机单独启动所需时间大致相等,甚至更短些。
(2)由于锅炉启动初期过热器出口的低参数排汽被用来暖机升速和带部分负荷,排汽造成的热量和工质损失得到回收。
(3)用温度和压力较低的蒸汽进行暖管暖机,产生的热应力比用温度和压力较高的蒸汽暖管暖机小得多。
(4)单独启动时,由于升火初期,过热器内没有蒸汽冷却,为了防止过热器烧坏,必须限制进入锅炉的燃料量。而滑参数启动,利用凝汽器内的真空启动,过热器内很快就有蒸汽冷却,升火速度可以显著加快。在低压时,过热器内的蒸汽容积流量很大,过热器管不会像单独启动时那样因排汽流量很小(约占额定蒸发量的15%~20%),流量不均而产生热偏差。
(5)滑参数启动时,锅炉的启动要满足汽轮机暖机升速的要求,因为汽轮机启动所需的时间对锅炉来说是足够的。锅炉可用调节燃烧强度(即控制进炉燃料量)来控制启动工况。滑参数启动时,因蒸汽的容积流量大,对改善水循环和汽包上下壁温差有利。
3、问答题 什么叫射流的刚性?
点击查看答案
本题答案:燃烧器喷出的射流抵抗偏转的能力叫刚性。它与喷口截面、气
本题解析:试题答案燃烧器喷出的射流抵抗偏转的能力叫刚性。它与喷口截面、气流速度、喷口高宽比有关,一般喷口的截面越大,气流速度越快,高宽比越小,其射流的刚性越大。
4、问答题 什么叫锅炉的循环回路?
点击查看答案
本题答案:由锅炉的汽包、下降管、联箱、水冷壁、汽水导管组成的闭合
本题解析:试题答案由锅炉的汽包、下降管、联箱、水冷壁、汽水导管组成的闭合回路,称为锅炉的循环回路。
5、单项选择题 省煤器是利用锅炉尾部烟气热量来加热锅炉()的热交换设备。
A、燃料
B、空气
C、水蒸汽
D、给水
点击查看答案
本题答案:D
本题解析:暂无解析
6、填空题 部颁规程规定汽包上下及内外壁温差不超过40度,其目的是()。
点击查看答案
本题答案:防止汽包产生过大的热应力
本题解析:试题答案防止汽包产生过大的热应力
7、问答题 什么是风机出力?什么是风机静压、动压和全压?什么是风机效率?
点击查看答案
本题答案:风机出力:烟气或空气在单位时间内通过风机的量,用符号&
本题解析:试题答案风机出力:烟气或空气在单位时间内通过风机的量,用符号"Q"表示,单位为m3/s,或m3/h。风机输出气体和吸入气体的静压力差,为风机产生的静压力;风机输出气体与输入气体的功能差,换算为压力单位为风机产生的动压力;静压力与动压力之和,称为风机的全压力。风机压力用符号P或(H)表示,单位是kg/m2或mm水柱。风机效率:有效功率与轴功率之比称为风机效率。用符号η表示。即:η=NY/N×100%=QP/(102×3600N)×100%
8、填空题 锅炉()与()的比值称为水循环倍率。其数值()水循环越安全。
点击查看答案
本题答案:上升管入口的循环水量、上升管出口的蒸汽量、越大
本题解析:试题答案上升管入口的循环水量、上升管出口的蒸汽量、越大
9、问答题 什么是直流锅炉的启动压力?启动压力的高低对锅炉有何影响?
点击查看答案
本题答案:直流锅炉、低循环倍率锅炉和复合循环锅炉启动时,为保证蒸
本题解析:试题答案直流锅炉、低循环倍率锅炉和复合循环锅炉启动时,为保证蒸发受热面的水动力稳定性所必须建立的给水压力,称为启动压力。
直流锅炉给水是一次通过锅炉各受热面的,所以,锅炉一点火就要依靠一定压力的给水,流过蒸发受热面进行冷却。但直流锅炉启动时一般不是一开始就在工作压力下工作,而是选择某一较低的压力,然后再过度到工作压力。启动压力的高低,关系到启动过程的安全性和经济性。
启动压力高,汽水密度差小,对改善蒸发受热面水动力特性、防止蒸发受热面产生脉动、减小启动时的膨胀量都有好处。但启动压力高,又会使给水泵电耗增大,加速给水阀门的磨损,并能引起较大的振动和噪声。目前,国内亚临监界参数直流锅炉,启动压力一般选为6.8~7.8MPa。
10、问答题 回转空预器的故障的常见原因及处理方法?
点击查看答案
本题答案:a.机械部分故障,转子与外壳卡死,电机热电偶动作?本题解析:试题答案a.机械部分故障,转子与外壳卡死,电机热电偶动作?
b.电气故障跳闸?
处理方法?
a.如跳闸前无过电流现象,将跳闸开关拉回停止位置,重新合闸一次,重合闸成功一次则继续运行,并汇报值长,查明原因,重合闸不成功或电机过电流应立即停止,投入盘车,盘车投不上时应人工(手动)盘车,并汇报有关人员?
b.汇报值长,将负荷降到150MW,调整燃烧,停运一套或两套制粉系统运行c.停运跳闸侧的空预器所对应的一次风机,送风机,引风机,停运一次风机时应注意运行磨煤机联锁切换,防止一次风机停运导致磨煤机跳闸,该项操作应在空预器跳闸后10分钟内完成,否则电气联锁动作,跳该侧引送一次风机及其对应的磨煤机并导致RB动作
d.关闭故障侧空预器入口烟气挡板和出入口一二次风门,开启冷风联络门,必要时投入空预器吹灰
e.立即联系检修进行处理?
f.两台空预器同时停运,强合不成功应立即停炉并进行盘车?
11、填空题 制粉系统的干燥出力是指在单位时间内将煤由()水分干燥到()水分的原煤量。
点击查看答案
本题答案:原煤、煤粉
本题解析:试题答案原煤、煤粉
12、问答题 何谓正平衡效率?何谓反平衡效率?如何计算?
点击查看答案
本题答案:(1)通过输入热量Qr和有效利用热量Q1求得锅炉的效率
本题解析:试题答案(1)通过输入热量Qr和有效利用热量Q1求得锅炉的效率,叫做正平衡效率。
(2)通过各项热损失,求得锅炉的效率,叫做反平衡效率,计算公式:
η=[100-(q2+q3+q4+q5+q6)]%
13、单项选择题 正常停炉后()小时,可在检修的要求下启风机进行通风。
A、4
B、6
C、10
D、18
点击查看答案
本题答案:D
本题解析:暂无解析
14、填空题 转机启动前检查应()、油温正常,油面镜清晰、()良好,油环带油正常。
点击查看答案
本题答案:油位、油质
本题解析:试题答案油位、油质
15、判断题 油的粘度是反映燃油流动性及雾化好坏的指标。
点击查看答案
本题答案:对
本题解析:暂无解析
16、问答题 水压试验中防止超压的措施有哪些?
点击查看答案
本题答案:1)关闭进水门。?
2)开启连续排污门及事故
本题解析:试题答案1)关闭进水门。?
2)开启连续排污门及事故放水门。?
3)停止给水泵。
17、问答题 紧急停止锅炉的条件?
点击查看答案
本题答案:1)锅炉满水,汽包水位计指示均偏高,各记录、指示水位表
本题解析:试题答案1)锅炉满水,汽包水位计指示均偏高,各记录、指示水位表中有一块超过+250mm时;
2)锅炉减水,汽包水位计指示均偏低,各记录指示水位表中有一块低于-200mm时;
3)锅炉所有水位计损坏,无法监视水位时;
4)过热蒸汽管道、再热蒸汽管道、主给水管道发生爆破时;
5)锅炉尾部发生再燃烧,排烟温度超过250℃时;
6)所有吸、送风机停止时;
7)再热蒸汽中断,使再热器干烧时;
8)锅炉压力升高到安全门动作压力,而所有安全门拒动,对空排汽门打不开时;
9)炉膛内或烟道内发生爆炸,使设备遭到严重损坏时;
10)锅炉灭火时;
11)炉管爆破不能维持汽包正常水位时;
12)锅炉房内发生火警,直接影响锅炉的安全运行时。
18、填空题 由于蒸汽对各种盐分的溶解具有选择性,故把这种现象称为()。
点击查看答案
本题答案:选择性携带
本题解析:试题答案选择性携带
19、问答题 磨煤机堵煤的处理?
点击查看答案
本题答案:1)减少或停止给煤,适当增加磨煤机通风量;
本题解析:试题答案1)减少或停止给煤,适当增加磨煤机通风量;
2)处理过程中,应监视磨煤机温度,风压及电流,注意汽温及燃烧稳定;
3)磨煤机超电流时,要立即停止运行,按磨煤机内部清理和检查规定处理。
20、问答题 单元机组的运行控制方式有哪几种?
点击查看答案
本题答案:(1)协调控制方式;
(2)汽轮机跟踪,输出
本题解析:试题答案(1)协调控制方式;
(2)汽轮机跟踪,输出功率可调控制方式;
(3)锅炉跟踪,机组输出功率可调控制方式;
(4)汽轮机跟踪,输出功率不可调控制方式;
(5)锅炉跟踪,机组输出功率不可调控制方式;
(6)燃料(煤、油)手动控制方式。
21、名词解释 扩散燃烧
点击查看答案
本题答案:当温度较高,化学反应速度较快,物理混合速度较慢,燃烧速
本题解析:试题答案当温度较高,化学反应速度较快,物理混合速度较慢,燃烧速度主要取决于炉内氧对燃料的扩散情况。
22、问答题 双进双出球磨机的特点有哪些?
点击查看答案
本题答案:所谓双进双出球磨机是在普通球磨机的基础上发展而来的。它
本题解析:试题答案所谓双进双出球磨机是在普通球磨机的基础上发展而来的。它同时有两个原煤入口和两个原煤出口。其特点是:
(1)灵活性高,可靠性好;
(2)维护简便,维护费用低;
(3)出力稳定,能够长期保持设计出力和煤粉细度;
(4)煤种适应性强;
(5)大的罐体使其具有储粉能力强的特点;
(6)负荷反应能力迅速,可用于直吹式制粉系统;
(7)对原煤杂物不敏感,无需定期排渣(石子煤);
(8)能保持一定的风粉比例。
23、问答题 什么是钢球磨的临界转速?
点击查看答案
本题答案:一定规格的球磨机,对应一个最佳的工作转速,如转速太低,
本题解析:试题答案一定规格的球磨机,对应一个最佳的工作转速,如转速太低,则钢球带不高,不能形成足够的落差,影响球磨机的出力。如果转速太高,则过大的离心力使钢球贴在筒壁上随着筒体旋转,起不到撞击作用,不能磨煤。根据试验,当作用在钢球上的离心力等于钢球重量时的转速成为临界转速。
24、问答题 磨燥机出入口为什么容易着火?
点击查看答案
本题答案:主要原因是原煤的挥发分高,当原煤较潮湿,煤粘附或堆积在
本题解析:试题答案主要原因是原煤的挥发分高,当原煤较潮湿,煤粘附或堆积在磨煤机入口下煤管或出口的死角处。由于磨煤机入口要通过280~320℃的高温风,粘附和堆积在管壁上的煤长时间与高温介质接触,逐渐氧化,达到一定温度后就会自燃。为了防止磨煤机入口着火,应消除入口角处的积煤,特别是雨季煤湿时,发现入口积煤,应及时清除,一旦着火应停止磨煤机,消除火源。
25、问答题 连排、定排的作用?
点击查看答案
本题答案:连排:排出的是汽包内含盐份较大的水,防止过热器结垢,防
本题解析:试题答案连排:排出的是汽包内含盐份较大的水,防止过热器结垢,防止热器爆管;
定排:排出的是水冷壁、下降管及下联箱内水的杂质,保证水循环,防止水冷壁爆管。
26、问答题 简述风扇磨煤机的工作原理?
点击查看答案
本题答案:原煤由入口进入后,被高速转动的冲击板击碎或被抛到护板上
本题解析:试题答案原煤由入口进入后,被高速转动的冲击板击碎或被抛到护板上撞碎,同时叶轮的转动,使叶轮入口形成负压,吸入热风,在叶轮旋转所造成的压力作用下,将空气及煤粉送入惯性分离器进行分离,粗粉回到磨煤机重新磨制,细粉由空气带入炉膛燃烧。
27、问答题 锅炉检修后启动前应进行哪些试验?
点击查看答案
本题答案:(1)锅炉风压试验。检查炉膛、烟道、冷热风道及制粉系统
本题解析:试题答案(1)锅炉风压试验。检查炉膛、烟道、冷热风道及制粉系统的严密性,消除漏风点。
(2)锅炉水压试验。锅炉检修后应进行锅炉工作压力水压试验,以检查承压元部件的严密性。
(3)联锁及保护装置试验。所有联锁及保护装置均需进行动、静态试验,以保证装置及回路可靠。
(4)电(气)动阀、调节阀试验。进行各电(气)动阀、调节阀的就地手操、就地电动、遥控远动全开和全关试验,闭锁试验,观察指示灯的亮、灭是否正确;电(气)动阀、调节阀的实际开度与CRT/表盘指示开度是否一致;限位开关是否可靠。
(5)转动机械试运。辅机检修后必须经过试运,并验收合格。主要辅机试运行时间不得低于8小时,风机试运行时,应进行最大负荷试验及并列特征试验。
(6)冷炉空气动力场试验。如果燃烧设备进行过检修或改造,应根据需要进行冷炉空气动力场试验。
(7)安全门校验,安全门经过检修或运行中发生误动、拒动,均需进行此项试验。
(8)预热器漏风试验。以检验预热器漏风情况,验证检修质量。
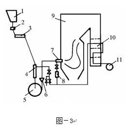
28、问答题 什么叫灰渣物理热损失?影响因素有哪些?
点击查看答案
本题答案:是指高温炉渣排出炉外所造成的热量损失。影响灰渣物理热损
本题解析:试题答案是指高温炉渣排出炉外所造成的热量损失。影响灰渣物理热损失的因素有燃料灰分含量、炉渣份额及炉渣温度。
29、判断题 风扇磨煤机也具有排粉机的作用。
点击查看答案
本题答案:对
本题解析:暂无解析
30、填空题 锅炉冷态上水时间夏季为()小时,冬季为()小时。
点击查看答案
本题答案:2~3;4~5
本题解析:试题答案2~3;4~5
31、判断题 风机的喘震是由于叶轮平衡没有找好引起的。
点击查看答案
本题答案:错
本题解析:是在不稳定区工作时,产生的压力和流量的脉动现象。
32、单项选择题 疏水箱的水位在0.5—1.5米范围内运行,不高于()米。
A、1.5
B、2
C、1
D、2.5
点击查看答案
本题答案:B
本题解析:暂无解析
33、问答题 吹灰前的检查工作有哪些?
点击查看答案
本题答案:1)吹灰系统各阀门完整,标志牌清晰,并处于相应状态?<
本题解析:试题答案1)吹灰系统各阀门完整,标志牌清晰,并处于相应状态?
2)各电动门电源正常,开关灵活
3)吹灰系统压力表、温度表投入
4)控制盘电源及声光信号试验正常?
5)检查所有吹灰器均在退出位置,就地电源控制开关在“ON”位置,推进装置润滑良好?
6)吹灰蒸汽主阀,辅助阀均在关闭位置,三相动力电源已送
7)气动减压阀气压正常并已复位
8)各组吹灰器疏水装置良好
34、问答题 为什么无论是正常冷却,还是紧急冷却,在停炉的最初6h内,均需关闭所有烟、风炉门和挡板?
点击查看答案
本题答案:停炉后的正常冷却和紧急冷却,在停炉后的最初6h内是完全
本题解析:试题答案停炉后的正常冷却和紧急冷却,在停炉后的最初6h内是完全相同的,均需关闭所有烟、风炉门和挡板。两者的区别在于正常冷却时,可在停炉6h后开启引、送风机的挡板进行自然通风,而紧急冷却时,允许在停炉6h后启动引风机通风和加强上水、放水来加速冷却。
制约停炉冷却速度的主要因素,是停炉后汽包不得产生过大的热应力。与点火升压时蒸汽和炉水对汽包加热相反,停炉后因汽包外部有保温层,汽包壁温下降的速度比蒸汽和炉水的饱和温度下降速度慢,是上部的蒸汽和下部的炉水对汽包壁进行冷却。因炉水对汽包壁的放热系数较大,汽包下半部的壁温下降较快,而饱和蒸汽在汽包上半部的加热下成为过热蒸汽。过热蒸汽不但导热系数很小,而且因其温度比他和蒸汽温度高,密度比饱和蒸汽小,无法与饱和蒸汽进行自然对流。所以,蒸汽对汽包上壁的放热系数很小,汽包上半部的温度下降较慢。汽包上、下半部因出现温差产生向上的香蕉变形而形成热应力。
在停炉初期汽包形成较大热应力时,汽包的压力还较高,两者叠加所产生的折算应力较大。因此,停炉初期过大的热应力会危及汽包的安全。
由于汽包热应力的大小,主要取决于蒸汽和炉水饱和温度下降的速度。所以,降低汽包热应力的最有效方法是延缓汽包压力下降的速度。停炉后的最初6h内,关闭所有烟。风炉门和挡板是防止汽包压力下降过快的最好、最简单易行的方法。
停炉6h内,因炉墙散热和烟囱仍然存在引风能力,冷空气从烟、风炉门、挡板及炉管穿墙等不严密处漏入炉膛,吸收热量成为热空气后从排囱排出。所以,即使是关闭所有烟、风炉门挡板,汽包压力仍然是在慢慢下降。停炉6h后,汽包压力已降至很低水平,即使启动引风机通风和加强上水、放水加快冷却,汽包的热应力也较小,而且此时因汽包压力很低,其两者叠加的折算应力也较小,已不会对汽包的安全构成威胁。
35、问答题 什么叫油的粘度?
点击查看答案
本题答案:粘度是液体流动性的指标,它对油的输送和燃烧有重要影响。
本题解析:试题答案粘度是液体流动性的指标,它对油的输送和燃烧有重要影响。燃油的粘度通常以思氏粘度表示,符号为°Et。所谓恩氏粘度,就是200cm3的油,在某一温度下,流经一标准尺寸孔口所需的时间与同体积的水在20℃下通过同一孔口时间的比值。
36、问答题 制粉系统为什么要装防爆门?
点击查看答案
本题答案:制粉系统的防爆门通常是用金属薄膜按一定要求制成,其承压
本题解析:试题答案制粉系统的防爆门通常是用金属薄膜按一定要求制成,其承压强度很小。当制粉系统发生爆炸时,它首先破裂使气体排出降压防止管道、设备爆破损坏。
37、单项选择题 离心式水泵一般只采用()叶片叶轮。
A、后弯式
B、前弯式
C、径向式
点击查看答案
本题答案:A
本题解析:暂无解析
38、问答题 主、再热蒸汽系统水压试验范围?
点击查看答案
本题答案:主汽系统水压试验范围从给水进口直到过热蒸汽出口包括即省
本题解析:试题答案主汽系统水压试验范围从给水进口直到过热蒸汽出口包括即省煤器、汽包、水冷壁、过热器、减温器和汽水管道、阀门以及相关的疏放水管、仪表取样门等二次门以内(一次门全开)的设备。
再热器系统水压试验范围为再热器入口导汽管堵板至再热器出口导汽管堵板内包括:事故喷水减温器、冷段再热器、减温器、热段再热器、和管道、阀门以及相关的疏水管、仪表取样门等二次门以内(一次门全开)的设备。
水位计只参加工作压力水压试验,超压试验应解列。
39、填空题 锅炉单冲量给水自动调节系统根据()信号来调节()。
点击查看答案
本题答案:汽包水位;给水量
本题解析:试题答案汽包水位;给水量
40、问答题 在哪些情况下应对炉膛进行吹扫?
点击查看答案
本题答案:停用的锅炉在下列情况下必须进行炉膛吹扫:?
本题解析:试题答案停用的锅炉在下列情况下必须进行炉膛吹扫:?
1)点火前;?
2)燃料最初进入炉膛而点火不成功时;?
3)锅炉灭火或保护动作使锅炉跳闸后;?
4)正常停炉熄火后。?
41、单项选择题 输入锅炉的总热量主要是()。
A、燃料的物理显热
B、燃料的收到基低位发热量
C、外来热源加热空气时带入的热量
点击查看答案
本题答案:B
本题解析:暂无解析
42、问答题 锅炉运行中怎样进行送风调节?
点击查看答案
本题答案:锅炉总风量的控制是通过调节送风机液偶勺管来实现的。组织
本题解析:试题答案锅炉总风量的控制是通过调节送风机液偶勺管来实现的。组织锅炉燃烧,就是要使一、二次风的风压、风量配合好。
一次风量的调节应满足其所携带进入炉膛的煤粉挥发分着火所需的氧量,并保持一定的风速,不使煤粉管堵塞和喷出的射流具有一定的刚性。一次风量的过大和过小,风速的过高和过低,都应避免。
二次风的调节除应保证焦炭的燃烧所需氧量外,必须保持一定的风速并掌握好与一次风混入的时间,应具有较强的搅拌混合作用和穿透焦炭“灰衣”的动能,这就需要根据具体情况,调整各层二次风的风量,以实现燃烧稳定和烟气中过量氧量适当的目的。
43、填空题 油系统中燃油电磁阀的作用是:在()情况下,用来迅速()。
点击查看答案
本题答案:发生事故(或发生异常)、切断燃油
本题解析:试题答案发生事故(或发生异常)、切断燃油
44、问答题 引风机的启动条件有哪些?
点击查看答案
本题答案:a.二台空预器均投运。?
b.二台空预器出口
本题解析:试题答案a.二台空预器均投运。?
b.二台空预器出口一,二次风门全开c.二台空预器进口烟门全开。?
d.引风机出口门全开。?
e.引风机静叶关闭。?
f.对应侧除尘器出口门全关。?
g.另一台除尘器出口门全开。?
h.引风机冷却风机启动且正常运行。i.启动引风机润滑油泵,且润滑油压>0.1MPa。?
j.另一台送风机出入口门全开及动叶不全关。?
k.至少有两层二次风挡板已开。
l.另一侧一次风机入口导叶不全关,出口门全开。
45、单项选择题 提高蒸汽初压力主要受到()。
A.汽轮机低压级湿度的限制;
B.锅炉汽包金属材料的限制;
C.工艺水平的限制;
D.材料的限制。
点击查看答案
本题答案:D
本题解析:暂无解析
46、问答题 制粉系统启,停过程和运行中为防止煤粉爆炸应注意什么问题?
点击查看答案
本题答案:制粉系统在启动,停止的过程中,由于磨煤机出口温度不易控
本题解析:试题答案制粉系统在启动,停止的过程中,由于磨煤机出口温度不易控制,容易发生由于超温使煤粉爆炸。在运行中由于断煤处理不及时,磨煤机出口温度过高,也容易发生爆炸。因此制粉系统启动、停止过程中应该注意防爆问题。为了防止煤粉爆炸,在启动前要认真进行检查,确保无积粉和自燃现象,运行中要保持磨煤机出口温度不超过规定值;停止过程中,随给煤量的减少,应严格控制磨煤机出口温度,防止过高,停运时MPS磨尽量保持系统中的煤粉在最少;HP磨必须将磨内煤粉吹如炉膛后再停运制粉系统。停运前保持磨内低温。
47、问答题 锅炉排污扩容器的作用是什么?
点击查看答案
本题答案:锅炉有连续排污扩容器和定期排污扩容器。它们的作用是:当
本题解析:试题答案锅炉有连续排污扩容器和定期排污扩容器。它们的作用是:当锅炉排污水排进扩容器后,容积扩大、压力降低,同时饱和温度也相应降低,这样,原来压力下的排污水,在降低压力后,就有一部分热量释放出来,这部分热量作为汽化热被水吸收而使部分排污水发生汽化,将汽化的这部分蒸汽引入除氧器,从而可以回收这部分蒸汽和热量。
48、填空题 炉膛火焰窥视器常采用()来冷却和吹扫。
点击查看答案
本题答案:压缩空气
本题解析:试题答案压缩空气
49、填空题 水的硬度分为()硬度和()硬度。
点击查看答案
本题答案:暂时、永久
本题解析:试题答案暂时、永久
50、问答题 首次投运油枪注意事项?
点击查看答案
本题答案:1)炉膛吹扫成功;
2)炉膛维持微负压;本题解析:试题答案1)炉膛吹扫成功;
2)炉膛维持微负压;
3)炉前油系统导通且正常,控制电源、油压、气源正常;
4)多次投停,排出系统内的冷凝水。
5)必须到就地与控制室联系,检查油枪喷油、着火情况,发现不喷油、油枪雾化不好、油枪头掉、点火枪不打火、喷油未着火等不正常现象应立即停止该组油枪运行。
51、问答题 负荷骤减时的现象及原因是什么?
点击查看答案
本题答案:一、现象(1)蒸汽压力急剧升高,蒸汽流量急剧下降;(2
本题解析:试题答案一、现象(1)蒸汽压力急剧升高,蒸汽流量急剧下降;(2)严重时,安全门动作;(3)水位先降低而后升高;(4)蒸汽温度升高。
二、原因(1)电力系统发生故障及厂内电气故障;(2)汽轮机或发电机发生故障。
52、问答题 蒸汽品质的调节方法?
点击查看答案
本题答案:1)保证给水和给水品质。
2)控制连排门和定
本题解析:试题答案1)保证给水和给水品质。
2)控制连排门和定排门,保证锅炉水含盐量小于其蒸汽参数下的临界含盐量。控制锅筒水位在正常范围内±50mm,监视锅筒水位的变化,避免机组负荷的突然增加和蒸汽压力的突然下降。
53、问答题 炉膛吹扫的目的
点击查看答案
本题答案:在于彻底通风,抽空炉内、烟道内可能积存的可燃物。在锅炉
本题解析:试题答案在于彻底通风,抽空炉内、烟道内可能积存的可燃物。在锅炉点火前或初点火不成功时以及事故或停用时,必须确保燃料可靠隔绝,并在此前提下以大于25%额定值的风量连续吹扫炉膛,烟风道至少5分钟,将可能积存尾部烟道和受热面上的可燃物质(积粉或残油)吹扫干净,以保证锅炉安全运行。
54、问答题 什么是RB保护?
点击查看答案
本题答案:当锅炉的主要辅机(如给水泵、送风机、引风机、一次风机、
本题解析:试题答案当锅炉的主要辅机(如给水泵、送风机、引风机、一次风机、磨煤机)有一部分发生故障时,为了使机组能够继续安全运行,必须迅速降低锅炉及汽轮机的负荷。这种处理故障的方法,称为锅炉快速切回负荷RB保护。
55、问答题 对锅炉钢管的性能有哪些要求?
点击查看答案
本题答案:锅炉钢管材料应具备以下性能:⑪足够的持久强
本题解析:试题答案锅炉钢管材料应具备以下性能:⑪足够的持久强度,蠕变极限和持久断裂塑性;⑫良好的组织稳定性;⑬高的抗氧化性;⑭钢管应有良好的热加工艺性,特别是可焊性。
56、问答题 电动机在运行中应监视哪些方面?
点击查看答案
本题答案:应监视以下方面:
(1)由电压表监视电源的电
本题解析:试题答案应监视以下方面:
(1)由电压表监视电源的电压变化,其值不能大于电动机额定电压的±10%。三相电压要基本对称;
(2)由电流表或钳形电流表监视电动机的三相电流,不得超过额定电流,三相电流基本相同;
(3)用温度计或手摸外壳,监视运行温度不能超过厂家规定的温升限度。当手觉得非常烫,不能在其上停留时,说明电动机已超过90℃了,也要注意轴承温度是否正常;
(4)检查电动机应无较大振动和噪声。如有特别大的嗡嗡声,说明电动机过载或三相电流不平衡;时高时低的嗡嗡声,并有振动,表示转子有断条;丝丝声表示轴承缺油;咕噜咕噜声,表示滚珠有损坏;从定子外壳上能听到嘶嘶声,表示定子迭片松弛;不均匀的喳喳声,表示定子转子互相摩擦。发现有异常,应立即停机检查。
57、问答题 为什么直流锅炉启动时必须建立启动流量和启动压力?
点击查看答案
本题答案:汽包锅炉启动时,水冷壁的冷却依靠逐步建立的自然循环工质
本题解析:试题答案汽包锅炉启动时,水冷壁的冷却依靠逐步建立的自然循环工质。直流锅炉不同于汽包锅炉,启动过程中必须有连续不断的给水流经蒸发段以冷却之。同时为了保证受热的蒸发段不致在压力较低时即发生汽化,使部分管子得不到充分冷却而烧坏,直流锅炉启动时还需建立一定的启动压力。
58、填空题 管式空气预热器内走(),管外走()。
点击查看答案
本题答案:烟气、空气
本题解析:试题答案烟气、空气
59、问答题 试述影响空气预热器低温腐蚀的因素和对策?
点击查看答案
本题答案:(1)影响空气预热器低温腐蚀的因素主要有烟气中三氧化硫
本题解析:试题答案(1)影响空气预热器低温腐蚀的因素主要有烟气中三氧化硫的形成、烟气露点、硫酸浓度和凝结酸量、受热面金属温度。
(2)减轻和防止空气预热器低温腐蚀措施有:提高空气预热器金属壁面温度;采用热管式空气预热器;使用耐腐蚀材料;采用低氧燃烧方式;采用降低露点或抑制腐蚀的添加剂;对燃料进行脱硫。
60、单项选择题 转机启动前电动机的()应完整,接地良好。
A、地角螺丝
B、外壳
C、电源
D、接地线
点击查看答案
本题答案:D
本题解析:暂无解析
61、填空题 省煤器和空气预热器烟道内的烟气温度()规定值时应立即停炉。
点击查看答案
本题答案:超过
本题解析:试题答案超过
62、问答题 运行中汽压变化对汽包水位有何影响?
点击查看答案
本题答案:运行中当汽压突然降低时,由于对应的饱和温度降低使部分锅
本题解析:试题答案运行中当汽压突然降低时,由于对应的饱和温度降低使部分锅水蒸发,引起锅水体积膨胀,故水位要上升;反之当汽压升高时,锅水中的部分蒸汽凝结下来,使锅水体积收缩,故水位要下降。如果变化是由于外扰而引起的,则上述的水位变化现象是暂时的,很快就要向反方向变化。
63、填空题 表示灰渣熔融特性的三个温度分别叫()、()和()。
点击查看答案
本题答案:变形温度t1、软化温度t2、融化温度t3
本题解析:试题答案变形温度t1、软化温度t2、融化温度t3
64、问答题 什么叫风机的喘震,有何危害?
点击查看答案
本题答案:风机的流量与压力特性曲线如果不是一条随流量而下降的曲线
本题解析:试题答案风机的流量与压力特性曲线如果不是一条随流量而下降的曲线,而是驼峰状曲线(即有上升段),风压最大处不是在流量等于零处,而是在有一定流量之后。那么,当风机工作在这流量与压力上升的这一工况时,会产生压力与流量的脉冲现象,即流量有剧烈的波动,忽而为正值,忽而为负值(倒流),使气体有猛烈的冲击,风机本身产生强烈的震动,风机发生强大的噪音,这种现象叫风机的喘震或叫飞动。风机的入口调节挡板开度太小时,使风机处于喘震区工作,产生的强烈振动对机壳及风道有严重破坏性。所以在启动风机后,应尽快把风机调节挡板开启,使风机有
65、单项选择题 磨煤机断煤或煤量减小时磨煤机振动()。
A、减小
B、无关系
C、增大
点击查看答案
本题答案:C
本题解析:暂无解析
66、填空题 在计算燃料发热量、空气需要量及烟气容积时,要用()燃料消耗量来计算。
点击查看答案
本题答案:计算
本题解析:试题答案计算
67、单项选择题 水冷壁分成很多个单循环回路的目的是()。
A、防止水冷壁爆破时,所有炉内风从此漏掉,保证炉安全
B、解决炉各水冷壁管流速大小不均
C、防止边角处及受热差的管子内水流停滞
点击查看答案
本题答案:C
本题解析:暂无解析
68、问答题 什么是启动流量?启动流量的大小对启动过程有何影响?
点击查看答案
本题答案:直流锅炉、低循环倍率锅炉和复合循环锅炉启动时,为保证蒸
本题解析:试题答案直流锅炉、低循环倍率锅炉和复合循环锅炉启动时,为保证蒸发受热面良好冷却所必须建立的给水流量(包括再循环流量),称启动流量。
直流锅炉一点火,就要需要有一定量的工质强迫流过蒸发受热面,以保证受热面得到可靠的冷却。启动流量的大小,对启动过程的安全性、经济性均有直接影响。启动流量越大,流经受热面的工质流速较高,这除了保证有良好的冷却效果外,对水动力的稳定性和防止出现汽水分层流动都有好处。但启动流量过大,将使启动时的容量增大。启动流量过小,又使受热面的冷却和水动力的稳定性难以保证。确定启动流量的原则是:在保证受热面可靠冷却和工质流动稳定的前提下,启动流量应尽可能小一些。一般启动流量约为锅炉额定蒸发量的25%~30%。
69、填空题 水压试验是检查锅炉()部件()的一种方法。
点击查看答案
本题答案:承压、严密性
本题解析:试题答案承压、严密性
70、判断题 炉内过剩空气系统越小,将使燃料燃烧更加完全。
点击查看答案
本题答案:对
本题解析:暂无解析
71、填空题 过热汽控制安全门的开启压力为其工作压力的()倍,动作值为()。
点击查看答案
本题答案:1.05、14.38
本题解析:试题答案1.05、14.38
72、填空题 水蒸汽的形成经过五种状态的变化,即()水→()水→()蒸汽→()蒸汽→()-蒸汽。
点击查看答案
本题答案:未饱和、饱和、湿饱和、干饱和、过热
本题解析:试题答案未饱和、饱和、湿饱和、干饱和、过热
73、填空题 脉冲安全阀的装置主要是由()和()两部分组成。
点击查看答案
本题答案:脉冲阀、主安全阀
本题解析:试题答案脉冲阀、主安全阀
74、填空题 在启炉前2小时应投入油枪(),对油枪进行预热。
点击查看答案
本题答案:蒸汽吹扫
本题解析:试题答案蒸汽吹扫
75、填空题 冲洗水位计时应站在水位计的(),打开阀门时应()。
点击查看答案
本题答案:侧面、缓慢小心
本题解析:试题答案侧面、缓慢小心
76、判断题 锅炉安全阀的总排汽能力应等于最大连续蒸发量。
点击查看答案
本题答案:错
本题解析:锅炉安全阀的总排汽能力应大于最大连续蒸发量。
77、填空题 再热器汽温调节的常用方法有()调节和()调节、烟气再循环调节、摆动燃烧器调节和()调节。
点击查看答案
本题答案:烟气挡板、汽热交换器、再热器减温水
本题解析:试题答案烟气挡板、汽热交换器、再热器减温水
78、问答题 为什么在热态启动一级旁路喷水减温不能投用时,主汽温度不得超过450℃?
点击查看答案
本题答案:在热态启动或事故状态下,为对再热器进行保护,必须开启一
本题解析:试题答案在热态启动或事故状态下,为对再热器进行保护,必须开启一级旁路,将主蒸汽降压降温后通过再热器。
因为再热器冷段钢材为20#碳钢,所处烟温一般都在500℃以上,受钢材允许温度的限制,进入再热器的汽温必须低于450℃,否则再热器管将超温。所以当一级旁路喷水不投时,规定主汽温度不得高于450℃。
79、单项选择题 捞渣机运行中,灰渣门应开至()位置。
A、水平
B、垂直
C、倾斜某一角度
D、任何方向
点击查看答案
本题答案:B
本题解析:暂无解析
80、问答题 什么是滑参数停炉?
点击查看答案
本题答案:停炉时锅炉与汽轮机配合,在降低电负荷的同时,逐步降低锅
本题解析:试题答案停炉时锅炉与汽轮机配合,在降低电负荷的同时,逐步降低锅炉参数的停炉方式称为滑参数停炉,一般只用于单元制机组。
81、问答题 启动过程中,主汽压由0.49Mpa升至0.98Mpa时,需要的时间和锅炉应进行的操作?
点击查看答案
本题答案:1)需要大约54分钟;
2)0.69MPa(
本题解析:试题答案1)需要大约54分钟;
2)0.69MPa(7kg/cm2)时,将一级过热器入口联箱,二级过热器入口联箱疏水门关至留两圈,待高旁开启后再全关;
3)联系汽机开启高压旁路,再热器通汽保护;
4)视具体情况调整向空排汽二次门的开度;
5)汽机开始抽真空前,关闭再热器进出口疏水门和空气门。
82、问答题 炉膛火焰监视系统由哪些设备组成?
点击查看答案
本题答案:(1)炉膛火焰场景潜望镜和控制、保护系统;
本题解析:试题答案(1)炉膛火焰场景潜望镜和控制、保护系统;
(2)电视摄像机和保护系统;
(3)电视信号传输电缆;
(4)电视信号监视器。
83、判断题 调节门手动开启时,直接将手轮顺时针摇即可。
点击查看答案
本题答案:错
本题解析:调节门手动开启时,应先将切换至手动后将手轮逆时针摇为开启。
84、问答题 现代大型锅炉为何多采用非沸腾式省煤器?
点击查看答案
本题答案:从整台锅炉工质所需热量的分配来看,随着参数的升高,饱和
本题解析:试题答案从整台锅炉工质所需热量的分配来看,随着参数的升高,饱和水变成饱和汽所需的汽化潜热减小,液体热增加。因而所需炉膛蒸发受热面积减少,加热工质的液体热所需的受热面(省煤器)增加。锅炉参数越高,容量越大,炉膛尺寸和炉膛放热越大,为防止锅炉炉膛结渣,保证锅炉安全运行,必须在炉膛内敷设足够的受热面,将炉膛出口烟温降到允许范围。为此,将工质的部分加热转移到由炉膛蒸发受热面完成,这相当于由辐射蒸发受热面承担了省煤器的部分吸热任务。
另外,省煤器受热面主要依靠对流传热,而炉膛内依靠辐射换热,其单位辐射受热面(水冷壁)的换热量,要比对流受热面(省煤器等)传热量大许多倍。因此,把加热液体热的任务移入炉膛受热面完成,可大大减少整台锅炉受热面积数,减少钢材耗量,降低锅炉造价;另外,提高给水的欠焓,对锅炉水循环有利。所以,现代高参数大容量锅炉的省煤器一般都设计成非沸腾式。
85、填空题 煤粉迅速而完全燃烧的必要条件是()、()。
点击查看答案
本题答案:相当高的炉内温度;合适的空气量、煤粉与空气良好混合和充足的燃
本题解析:试题答案相当高的炉内温度;合适的空气量、煤粉与空气良好混合和充足的燃烧时间
86、问答题 什么叫油的闪点?与火灾有什么关系?
点击查看答案
本题答案:加热油会蒸发出油气。加热温度愈高,蒸发出的油气愈多。油
本题解析:试题答案加热油会蒸发出油气。加热温度愈高,蒸发出的油气愈多。油气与空气混合成可燃气体,当加热到一定温度时,如遇明火就有短暂的闪光(一闪即灭),这时的温度称为闪点。闪点主要是作为能否容易引起火灾的一个指标,在无压容器(开口容器)中加热重油时,其加热温度不准超过闪点,一般应低于闪点10℃,以免引起燃烧,发生火灾。
87、单项选择题 当给水压力与蒸汽压力相差很小的情况下,如果出现汽包水位低,应()以提高水位。
A、开大给水调整门
B、加大给水泵转数
C、关小给水调整门
D、降低锅炉负荷
点击查看答案
本题答案:B
本题解析:暂无解析
88、填空题 油滴的燃烧包括()、()、和()三个过程。
点击查看答案
本题答案:蒸发、扩散、燃烧
本题解析:试题答案蒸发、扩散、燃烧
89、填空题 火力发电厂燃用的煤种是按煤的可燃基挥发分进行分类的,0-10%为()煤,10-20%为()煤,20-40%为()煤,40%以上为()煤。
点击查看答案
本题答案:无烟、贫、烟、褐
本题解析:试题答案无烟、贫、烟、褐
90、单项选择题 风机启动前检查风机、电机轴承油位计指示在()。
A、1/2
B、1/2-2/3
C、加满
点击查看答案
本题答案:B
本题解析:暂无解析
91、单项选择题 当烟气横向冲刷受热面管束时,磨损较严重的受热面管束布置方式是()。
A、错列管束;
B、顺列管束。
点击查看答案
本题答案:A
本题解析:暂无解析
92、问答题 如何预防水冷壁管爆破?
点击查看答案
本题答案:预防水冷壁管爆破的措施有:
(1)保证给水和
本题解析:试题答案预防水冷壁管爆破的措施有:
(1)保证给水和锅水质量合格,以减少水冷壁管内的结垢和腐蚀;
(2)防止水冷壁管外部磨损。打焦时打焦棍不要直接打在管子上;燃烧器附近容易被煤粉气流冲刷的管子可加装防套管;调整好燃烧,使火焰均匀充满炉膛;不偏斜、不结焦、不冲刷管子;
(3)防止水循环故障,避免锅炉长期在低负荷下运行;在正常运行时汽压、水位、负荷变化幅度不可太大、太快;启停过程中严格控制升降负荷速度;调整好燃烧,避免水冷壁受热不均而引起水循环故障;定期排污量不可太大、并控制排污时间;
(4)保证制造、安装、检修质量良好,尤其是焊接质量;
(5)严格进行水冷壁膨胀监视和检查。
93、单项选择题 当炉水含盐量达到临界含盐量时,蒸汽湿度将()。
A、减小
B、不变
C、急剧增大
点击查看答案
本题答案:C
本题解析:暂无解析
94、单项选择题 贮气罐与空气压缩机之间应装设()。
A、调节阀
B、节流阀
C、逆止阀
D、安全阀
点击查看答案
本题答案:C
本题解析:暂无解析
95、问答题 什么情况下,应立即停止吹灰?
点击查看答案
本题答案:1)事故情况时;
2)负荷小于70%BMCR
本题解析:试题答案1)事故情况时;
2)负荷小于70%BMCR时;
3)吹灰系统故障时。
96、单项选择题 锅炉点火初期加强水冷壁放水的目的是()。
A、促进水循环
B、提高蒸汽品质
C、稳定燃烧
点击查看答案
本题答案:A
本题解析:暂无解析
97、问答题 做水位保护试验时注意事项?
点击查看答案
本题答案:1)做水位保护试验时,禁止短接热工信号;
2
本题解析:试题答案1)做水位保护试验时,禁止短接热工信号;
2)磨煤机在运行中跳闸时应跳开对应的给煤机;
3)转动机械应按所规定的时间和顺序跳闸,否则联系电气处理;
4)吸风机、送风机在运行时均应投入联锁开关;
5)制粉系统联锁开关不用投入。
98、填空题 在液体()和液体()同时进行的剧烈的汽化现象叫沸腾。
点击查看答案
本题答案:表面、内部
本题解析:试题答案表面、内部
99、问答题 运行中监视磨煤机电流的意义?
点击查看答案
本题答案:运行中监视磨电流表可以监视磨煤机运行状态,并结合其他表
本题解析:试题答案运行中监视磨电流表可以监视磨煤机运行状态,并结合其他表计可以分析判断磨的异常情况。
100、问答题 蒸汽温度的调节设备及系统分哪几类?
点击查看答案
本题答案:蒸汽温度的调节设备及系统分为两大类:
(1)
本题解析:试题答案蒸汽温度的调节设备及系统分为两大类:
(1)烟气侧调节设备,有分隔烟气挡板式、烟气再循环和摆动燃烧器等;
(2)蒸汽侧调节设备,有喷水减温器、表面式减温器以及三通阀旁路调温系统等。
101、问答题 球磨机的筒长、筒径与出力有什么关系?
点击查看答案
本题答案:球磨机筒体容积大,制粉出力高;
筒身长、出粉
本题解析:试题答案球磨机筒体容积大,制粉出力高;
筒身长、出粉细,所以难磨的煤要用筒身长而细的磨煤机来磨;
易磨的煤用筒身短而粗的磨煤机 91eXAm.org来磨。
102、单项选择题 水力除灰系统中管道容易()。
A、结垢
B、磨损
C、堵灰
D、腐蚀
点击查看答案
本题答案:A
本题解析:暂无解析
103、填空题 锅炉滑启时要加强对燃烧器的维护调整,保持雾化,燃烧良好,防止未燃尽的油滴带到尾部受热面是为了防止发生()。
点击查看答案
本题答案:锅炉再燃烧(尾部再燃烧)
本题解析:试题答案锅炉再燃烧(尾部再燃烧)
104、问答题 定压下水蒸汽的形成过程分为哪三个阶段?各阶段所吸收的热量分别叫什么热?
点击查看答案
本题答案:分为下列三个阶段
(1)未饱和水的定压预热过
本题解析:试题答案分为下列三个阶段
(1)未饱和水的定压预热过程,既从任意温度的水加热到饱和水,所加入的热量叫液体热或预热热。
(2)饱和水的定压定温汽化过程,即从饱和水加热变成干饱和蒸汽,所加入的热量叫汽化热。
(3)蒸汽的加热过程,即从干饱和蒸汽加热到任意温度的过热蒸汽,所加入的热量叫过热热。
105、问答题 水冷壁为什么要分若干个循环回路?
点击查看答案
本题答案:因为沿炉膛宽度和深度方向的热负荷分布不均,造成每面墙的
本题解析:试题答案因为沿炉膛宽度和深度方向的热负荷分布不均,造成每面墙的水冷壁管受热不均,使中间部分水冷壁管受热最强,边上的管子受热较弱。若整面墙的水冷壁只组成一个循环回路,
则并联水冷壁中,受热强的管子循环水流速大,受热弱的管内循环水流速小,对管壁的冷却差。为了减小各并列水冷壁管的受热不均,提高各并列管子水循环的安全性,通常把锅炉每面墙的水冷壁,划分成若干个循环回路。
106、问答题 煤粉细度指的是什么?
点击查看答案
本题答案:煤粉细度是指煤粉经过专用筛子筛分后,残留在筛子上面的煤
本题解析:试题答案煤粉细度是指煤粉经过专用筛子筛分后,残留在筛子上面的煤粉质量占筛分前煤粉总量的百分值。用R先示.其值越大,表示煤粉越粗。
107、单项选择题 安全阀应定期进行排汽试验,试验间隔不大于()。
A、大修间隔
B、1年间隔
C、小修间隔
点击查看答案
本题答案:C
本题解析:暂无解析
108、单项选择题 在发电厂中三相母线的A相用()表示。
A、红色;
B、黄色;
C、绿色;
D、兰色。
点击查看答案
本题答案:B
本题解析:暂无解析
109、问答题 事故喷水的作用,何时使用?
点击查看答案
本题答案:事故喷水可以防止再热器管壁及再热汽超温。
当
本题解析:试题答案事故喷水可以防止再热器管壁及再热汽超温。
当再热器管壁超温时,或再热汽减温水加至最大再热汽仍超温时投入尾部再燃。
110、问答题 降低炉水含盐量的方法?
点击查看答案
本题答案:1)提高给水品质;
2)增加排污量;
本题解析:试题答案1)提高给水品质;
2)增加排污量;
3)分段蒸发降低饱和蒸汽带水。
111、判断题 水泵内进空气将造成离心泵不打水。
点击查看答案
本题答案:对
本题解析:暂无解析
112、问答题 锅炉启动前炉膛通风的目的是什么?
点击查看答案
本题答案:炉膛通风的目的是排出炉膛内及烟道内可能存在的可燃性气体
本题解析:试题答案炉膛通风的目的是排出炉膛内及烟道内可能存在的可燃性气体及物质,排出受热面上的部分积灰。这是因为当炉内存在可燃物质,并从中析出可燃气体时,达到一定的浓度和温度就能产生爆燃,造成强大的冲击力而损坏设备;
当受热面上存在积灰时,就会增加热阻,影响换热,降低锅炉效率,甚至增大烟气的流阻。因此,必须以40%左右的额定风量,对炉膛及烟道通风5~10min。
113、单项选择题 再热汽温采用喷水调节比烟气侧调节的经济性()。
A、好
B、差
C、相同
点击查看答案
本题答案:B
本题解析:暂无解析
114、问答题 绘画题:画出锅炉跟随汽轮机的负荷调节方式方框图。
点击查看答案
本题答案:
试题答案
115、单项选择题 由原煤斗、给煤机、磨煤机、惯性分离器等组成的设备叫()。
A、给水设备
B、除尘、除灰设备
C、制粉设备
D、锅炉附件
点击查看答案
本题答案:C
本题解析:暂无解析
116、问答题 启停制粉系统时应注意什么?
点击查看答案
本题答案:(1)启动时严格控制磨煤机出口气粉混合物的温度不超过规
本题解析:试题答案(1)启动时严格控制磨煤机出口气粉混合物的温度不超过规定值。因为磨煤机在启动过程中,属于变工况运行,此时出口温度若控制不当,很容易使温度超过极限,而导致煤粉爆炸。
(2)磨煤机在启动时进行必要的暖管。因中间储仓式制粉系统设备较多。管道较长,启动时煤粉空气混合物中的水蒸气很容易在旋风分离器等管壁上结露,使之增加流动阻力,造成煤粉结块,甚至引起分离器堵塞。
(3)磨煤机停运时,必须抽尽余粉,防止自燃和爆炸。为下次启动创造良好的条件。
117、问答题 国外先进电业技术水平的重要标志是什么?
点击查看答案
本题答案:是大电网、大电厂、大机组、高电压、高参数、高度自动化。
本题解析:试题答案是大电网、大电厂、大机组、高电压、高参数、高度自动化。
118、判断题 锅炉过热器出口额定蒸汽压力为12.5MPa。
点击查看答案
本题答案:错
本题解析:锅炉过热器出口额定蒸汽压力为13.7MPa。
119、单项选择题 汽包内饱和水的温度与饱和蒸汽的温度相比是()。
A、高
B、低
C、一样高
点击查看答案
本题答案:C
本题解析:暂无解析
120、问答题 简述电除尘器的工作原理?
点击查看答案
本题答案:在电除尘器本体内部相间安装有数组阴极线和阳极线,通电后
本题解析:试题答案在电除尘器本体内部相间安装有数组阴极线和阳极线,通电后当阴极线和阳极线之间的电场强度提高到一定值时,阴极线周围就会产生电晕放电,形成负电晕(闪光电晕),产生大量带有正电荷或负电荷的气体离子及自由电子,当烟气流径除尘器时,灰粒子与带正电荷或负电荷的离了及自由电子碰撞而带电荷,带正电荷的即被负极(•阻极线)吸引,带负电荷及自由电子被正极(阳极线)吸引,灰粒把自身的电荷放给电极后就向下跌入灰斗中,由于在电极上还会附粘一些灰垢,为不影响除尘效率需定期进行振打消除灰垢。
121、单项选择题 锅炉打焦时,应通知司炉()。
A、提高炉膛负压
B、降低炉膛负压
C、保持负压为零
D、降低锅炉负荷
点击查看答案
本题答案:A
本题解析:暂无解析
122、填空题 煤的化学元素分析组成有()、()、()、()、()、()、()。
点击查看答案
本题答案:碳、氢、氧、氮、硫、灰分、水分
本题解析:试题答案碳、氢、氧、氮、硫、灰分、水分
123、问答题 风量变化对过热汽温有何影响?为什么?
点击查看答案
本题答案:在正常运行中,为保证燃料在炉内完全燃烧,必须保持一定的
本题解析:试题答案在正常运行中,为保证燃料在炉内完全燃烧,必须保持一定的过量空气系数。风量过大时,燃烧温度有时下降,烟气流速有所上升,使辐射吸热减少,对流吸热上升,因而汽温上升。风量过小时,会使汽温下降。
124、问答题 滑参数停炉有何优点?
点击查看答案
本题答案:滑参数停炉是和汽轮机滑参数停机同时进行的,采用滑参数停
本题解析:试题答案滑参数停炉是和汽轮机滑参数停机同时进行的,采用滑参数停炉有以下优点:
(1)可以充分利用锅炉的部分余热多发电,节约能源;
(2)可利用温度逐渐降低的蒸汽使汽轮机部件得到比较均匀和较快的冷却;
(3)对于待检修的汽轮机,采用滑参数法停机可缩短停机到开缸的时间,使检修时间
提前。
125、单项选择题 粘度随温度升高变化的规律是()。
A、液体和气体黏度均增大
B、液体黏度增大,气体黏度减小
C、液体黏度减小,气体黏度增大
D、液体和气体黏度均减小
点击查看答案
本题答案:C
本题解析:暂无解析
126、单项选择题 在升压速度一定时,升压后阶段与前阶段相比汽包产生的机械应力是()。
A、前阶段大;
B、后阶段大;
C、前后阶段相等。
点击查看答案
本题答案:B
本题解析:暂无解析
127、问答题 离心式风机的工作原理?
点击查看答案
本题答案:风机的叶轮被电动机带动旋转时,充满叶片之间的气体在叶片
本题解析:试题答案风机的叶轮被电动机带动旋转时,充满叶片之间的气 体在叶片的推动下随之高速转动,使气体获得大量能量,在惯性离心力的作用下,甩往叶轮外缘,从蜗形外壳流出,叶轮中部形成负压,在大气压力作用下源源不断的吸入气体予以补充。
128、填空题 锅炉的三大安全附件是指()()和()。
点击查看答案
本题答案:压力表、安全门、水位计
本题解析:试题答案压力表、安全门、水位计
129、单项选择题 提高蒸汽初温主要受()的限制。
A、锅炉传热温差;
B、热力循环;
C、金属高温性能;
D、临界温度。
点击查看答案
本题答案:C
本题解析:暂无解析
130、问答题 停炉后如何保证汽包安全?
点击查看答案
本题答案:1)控制降压速度,尽量保持汽包高水位,减小上下壁温差;
本题解析:试题答案1)控制降压速度,尽量保持汽包高水位,减小上下壁温差;
2)控制降温速度,保持汽包上下壁温差在规定范围内;
3)不能用连排、事故放水来冷却汽包。
131、填空题 减温器一般分为()和()两种。
点击查看答案
本题答案:表面式、喷水式
本题解析:试题答案表面式、喷水式
132、填空题 正常运行时,原煤斗振打器一般是在原煤斗()情况下使用。
点击查看答案
本题答案:棚煤或拉空检修前
本题解析:试题答案棚煤或拉空检修前
133、单项选择题 ()的特点是含碳量低、易点燃、火焰长。
A、无烟煤
B、贫煤
C、褐煤
点击查看答案
本题答案:C
本题解析:暂无解析
134、问答题 什么叫烟气的露点?露点高低与什么有关?
点击查看答案
本题答案:烟气中的蒸汽(水蒸汽和硫酸蒸汽)在尾部受热面上开始凝结
本题解析:试题答案烟气中的蒸汽(水蒸汽和硫酸蒸汽)在尾部受热面上开始凝结成液态的温度称为露点。烟气的露点不是一固定值,它决定于硫酸蒸汽的含量。纯水蒸汽的露点是不高的,它决定于水蒸汽的分压力,与水蒸汽压力提高的同时,露点也升高,但是,即使对于含水分最大的泥煤,露点也不高于65℃,当烟气中含有SO3时,露点便会升高,•极少量的SO3也会使露点升高至120℃以上。如果预热器处烟温达到露点,甚至低于水蒸汽露点时,大量水蒸汽凝结在管壁上,烟气中的SO2会直接溶于水,生成亚硫酸(H2SO3)对金属腐蚀更厉害,所以排烟温度不要
135、单项选择题 滑动轴承顶部的螺纹孔是安装()用的。
A、油杯
B、吊钩
C、紧定螺钩
D、定位用的
点击查看答案
本题答案:A
本题解析:暂无解析
136、单项选择题 在发电厂中最常用的流量测量仪表是()。
A、容积式流量计
B、靶式流量计
C、差压式流量计
D、累积式流量计
点击查看答案
本题答案:C
本题解析:暂无解析
137、单项选择题 风扇磨煤机的结构由叶轮、外壳、轴及()组成。
A、轴承箱
B、疏水箱
C、冲灰水箱
D、工业水箱
点击查看答案
本题答案:A
本题解析:暂无解析
138、问答题 滑参数起动优点?
点击查看答案
本题答案:1)缩短启动时间,增加了运行调度的灵活性;
本题解析:试题答案1)缩短启动时间,增加了运行调度的灵活性;
2)经济性;
3)提高了安全可靠性。
139、问答题 锅炉启动过程中如何防止水冷壁损坏?
点击查看答案
本题答案:锅炉点火升压过程中对水冷壁的保护很重要。因为在升压的初
本题解析:试题答案锅炉点火升压过程中对水冷壁的保护很重要。因为在升压的初期,水冷壁受热不均,如果同一联箱上各根水冷壁管金属温度存在差别,就会产生热应力,严重时会损坏水冷壁。防范措施是严格控制升温升压速度,定时切换燃烧器或延炉膛四角均匀对称投停燃烧器,加强水冷壁下联箱放水促进正常的水循环。
140、填空题 每月7日白班,应进行()、()和()的定期开关试验。
点击查看答案
本题答案:对空排汽门、集汽联箱疏水门、事故放水门
本题解析:试题答案对空排汽门、集汽联箱疏水门、事故放水门
141、问答题 炉膛过剩空气系数过小有哪些危害?
点击查看答案
本题答案:锅炉不完全燃烧损失增加,效率降低。
由于风量
本题解析:试题答案锅炉不完全燃烧损失增加,效率降低。
由于风量不足使煤粉燃烧不完全,有可能在烟道中发生二次燃烧,或煤粉在烟道中爆炸。
锅炉结焦加剧,影响锅炉出力和安全运行。
主蒸汽温度偏高。
142、问答题 & nbsp;煤的成分分析有哪几种?
点击查看答案
本题答案:有元素分析和工业分析两种。
本题解析:试题答案有元素分析和工业分析两种。
143、填空题 吸收塔浆液的PH值是通过调节石灰石浆液的流量来实现的,()石灰石浆液流量,可以()吸收塔浆PH液值:石灰石浆液流量(),吸收塔PH值随之()。
点击查看答案
本题答案:增加,提高,减少,降低
本题解析:试题答案增加,提高,减少,降低
144、单项选择题 锅炉寿命管理着重在于保证设备的()。
A、使用寿命
B、安全运行
C、机械强度
点击查看答案
本题答案:C
本题解析:暂无解析
145、问答题 烟气是由哪些成分组成的?
点击查看答案
本题答案:烟气中含有CO2、H2O、SO2、N2等,当不完全燃烧
本题解析:试题答案烟气中含有CO2、H2O、SO2、N2等,当不完全燃烧时,还有CO,当供以过剩空气时,还有剩余在烟气中的O2。
146、问答题 对流过热汽温如何随负荷变化?
点击查看答案
本题答案:对流过热汽温随负荷的增加而增加,随负荷的降低而降低。<
本题解析:试题答案对流过热汽温随负荷的增加而增加,随负荷的降低而降低。
147、问答题 煤粉达到迅速而又完全燃烧必须具备哪些条件?
点击查看答案
本题答案:(1)要供给适当的空气量。
(2)维持足够高
本题解析:试题答案(1)要供给适当的空气量。
(2)维持足够高的炉膛温度。
(3)燃料与空气能良好混合。
(4)有足够的燃烧时间。
(5)维持合格的煤粉细度。
(6)维持较高的空气温度。
148、填空题 常用的安全阀分为()、()、()三种。
点击查看答案
本题答案:重锤式;弹簧式;脉冲式
本题解析:试题答案重锤式;弹簧式;脉冲式
149、填空题 应有基低位发热量为()的煤叫标准煤。
点击查看答案
本题答案:7000×4.18kj/kg(或7000大卡)(或29307
本题解析:试题答案7000×4.18kj/kg(或7000大卡)(或29307.6KJ)
150、问答题 水冷壁损坏的现象?
点击查看答案
本题答案:1)汽包水位低,严重时水位急剧下降,给水流量不正常地大
本题解析:试题答案1)汽包水位低,严重时水位急剧下降,给水流量不正常地大于蒸汽流量。
2)炉膛负压变正,从检查孔、门、炉墙不严密处向外喷烟气和水蒸汽,并有泄漏声。
3)各段烟温下降,蒸汽流量、蒸汽压力下降。
4)燃烧不稳、火焰发暗,严重时锅炉灭火。
151、判断题 锅炉发生再燃烧时,应彻底通风,排除烟道内沉积的可燃物,然后点火。
点击查看答案
本题答案:错
本题解析:锅炉发生再燃烧时,应立即停止锅炉运行,并严禁通风。
152、填空题 燃烧速度决定()及()速度
点击查看答案
本题答案:氧化反应;气体的扩散
本题解析:试题答案氧化反应;气体的扩散
153、问答题 在什么情况下,应注意汽压调整?
点击查看答案
本题答案:1)负荷变化时;
2)吹灰时,
3
本题解析:试题答案1)负荷变化时;
2)吹灰时,
3)高旁或安全门动作时
4)煤质变化时;
5)燃烧不稳投油时;
6)系统启、停时;
154、问答题 褐煤的燃料特性?
点击查看答案
本题答案:“三高一低”即:高灰份、高水份
本题解析:试题答案“三高一低”即:高灰份、高水份、高挥发份、低发热量。
155、填空题 当锅炉负荷增加时,燃料量增加,烟气量(),烟气流速相应()。
点击查看答案
本题答案:增多、增加
本题解析:试题答案增多、增加
156、填空题 热风再循环可防止尾部受热面发生()。
点击查看答案
本题答案:低温腐蚀
本题解析:试题答案低温腐蚀
157、问答题 举例说明火电厂各种类型换热器的应用?
点击查看答案
本题答案:(1)表面式换热器。锅炉的大部分受热面如省煤器、管式空
本题解析:试题答案(1)表面式换热器。锅炉的大部分受热面如省煤器、管式空气预热器以及汽机的回热加热器、油冷却器等。
(2)混合式换热器。冷却塔、除氧器和锅炉的喷水减温器。
(3)蓄热式换热器。回转式空气预热器等。
158、填空题 影响锅炉受热面积灰的因素主要有烟气()、飞灰()、管束的()和烟气和管子的()。
点击查看答案
本题答案:流速、颗粒度、结构特性、流向
本题解析:试题答案流速、颗粒度、结构特性、流向
159、问答题 锅炉380V厂用电源中断的现象及处理?
点击查看答案
本题答案:1)A段或B段电源所带电机停止转动,电流表指示回零,红
本题解析:试题答案1)A段或B段电源所带电机停止转动,电流表指示回零,红灯灭,绿灯闪,事故刺叭响?
2)A段或B段所带电动门失电?
处理:立即投油助燃,复归跳闸机开关,汇报值长;失去电源的电动门就地手动调整主要辅机润滑油泵跳闸后,应立即停止,该辅机运行,以免损坏设备。如灭火则按第锅炉灭火处理?
160、问答题 锅炉冷态启停、热态启停和变工况运行对寿命损耗影响如何?举例说明。
点击查看答案
本题答案:锅炉的冷态启、停、热态启停和变工运行,其寿命损耗是不同
本题解析:试题答案锅炉的冷态启、停、热态启停和变工运行,其寿命损耗是不同的。冷态启停一次应力变化幅度最大,其寿命损耗也最大;热态启停则相对较少;滑参数到低负荷运行(50%额定负荷)则更小一些。以超高参数(P=15.7mpa)锅炉的汽包为例,设其温度变化范围为冷态100~346℃,热态为224~346℃,滑压低负荷运行为290~346℃,则冷态启停一次寿命损耗是热态启停4~5次的寿命损耗,是变负荷运行10次的寿命扣耗。
161、问答题 如何进行回转空气预热器的水冲洗工作?
点击查看答案
本题答案:冲洗前将被冲洗的空气预热器烟气侧和空气侧的底部放水装置
本题解析:试题答案冲洗前将被冲洗的空气预热器烟气侧和空气侧的底部放水装置打开。而后降低锅炉负荷,把烟气入口档板关闭。增加另一台送风机的负荷,减少相应送风机负荷,并在带负荷冲洗过程中维持该预热器出口温度不低于150℃;如低于150℃,停止该风机的运行,并将空气预热器出口挡板关闭。冲洗预热器时,空预器应由辅电机驱动;冲洗工作结束后再改为主电机驱动并投入暖风器,维持在风机较低负荷下运行对预热器进行干燥;预热器没有完全干燥前,不准开启烟气入口档板。预热器的冲洗工作可在锅炉低负荷运行中进行,也可在停炉后进行。
162、判断题 锅炉的额定蒸发量为1000t/h。
点击查看答案
本题答案:错
本题解析:锅炉的额定蒸发量为670t/h。
163、单项选择题 加强水冷壁吹灰,将使过热汽温()。
A、升高
B、下降
C、不变
点击查看答案
本题答案:B
本题解析:暂无解析
164、填空题 对流式过热器的汽温随负荷的增加而()。
点击查看答案
本题答案:增加
本题解析:试题答案增加
165、问答题 什么叫油的凝固点?
点击查看答案
本题答案:当油温降到某一数值时。重油变得相当粘稠,以致使盛油的试
本题解析:试题答案当油温降到某一数值时。重油变得相当粘稠,以致使盛油的试管倾斜45°时,油表面一分钟内尚不能表现移动倾向,此时的温度称为凝固点。
166、问答题 如何启动疏水泵?
点击查看答案
本题答案:1)疏水泵注水后,合上泵的开关启动泵运行;
本题解析:试题答案1)疏水泵注水后,合上泵的开关启动泵运行;
2)电流正常,逐渐开启出口门,电流不超过额定值。
167、填空题 停炉前对()电动门,()等应做可靠性试验。
点击查看答案
本题答案:事故放水;向空排汽电动门
本题解析:试题答案事故放水;向空排汽电动门
168、问答题 一台送风机故障的原因?
点击查看答案
本题答案:a.具备送风机跳闸的条件之一?
b.运行人员
本题解析:试题答案a.具备送风机跳闸的条件之一?
b.运行人员误操作或其它人员误动事故按钮?
169、判断题 抬高火焰中心的高度可以降低汽温。
点击查看答案
本题答案:错
本题解析:抬高火焰中心的高度不能降低汽温。
170、判断题 处理回粉管堵塞时,可以停止给煤机。
点击查看答案
本题答案:错
本题解析:处理回粉管堵塞时,不得停止给煤机。
171、问答题 点炉初期对汽包的要求?
点击查看答案
本题答案:1)汽包壁温差小于56℃
2)适当的进水与放
本题解析:试题答案1)汽包壁温差小于56℃
2)适当的进水与放水,促进水循环建立
3)水上至最低可见水位。
172、单项选择题 从饱和蒸汽加热到一定温度的过热蒸汽所加入的热量称为()。
A、汽化热
B、汽化潜热
C、过热热
D、饱和热
点击查看答案
本题答案:C
本题解析:暂无解析
173、问答题 绘图题:背画带风扇磨煤机热风干燥的直吹式制粉系统图,标出主要设备的名称。
点击查看答案
本题答案:如图-3所示:
试题答案如图-3所示:

1-原煤仓;2-自动磅秤;3-给煤机;4-下行干燥管;5-磨煤机;
6-粗粉分离器;7-燃烧器;8-二次风箱;9-锅炉;10-空气预热器;11-送风机。
174、填空题 按工作原理分类,风机主要有()和()两种。
点击查看答案
本题答案:离心式、轴流式
本题解析:试题答案离心式、轴流式
175、问答题 锅炉启动过程中,汽包上、下壁温差是如何产生的?
点击查看答案
本题答案:在启动过程中,汽包壁是从工质吸热,温度逐渐升高。启动初
本题解析:试题答案在启动过程中,汽包壁是从工质吸热,温度逐渐升高。启动初期,锅炉水循环尚未正常建立,汽包中的水处于不流动状态,对汽包壁的对流换热系数很小,即加热很缓慢。汽包上部与饱和蒸汽接触,在压力升高的过程中,贴壁的部分蒸汽将会凝结,对汽包壁属凝结放热,其对流换热系数要比下部的水高出好多倍。当压力上升时,汽包的上壁能较快的接近对应压力下的饱和温度,而下壁则升温很慢。这样就形成了汽包上壁温度高、下壁温度低的状况。锅炉升压速度越快,上、下壁温差越大。
汽包上、下壁温差的存在,使汽包上壁受压缩应力,下壁受拉伸应力。温差越大,应力越大,严重时使汽包趋于拱背状变形。为此,我国有关规程规定:汽包上、下壁允许温差为40℃,最大不超过50℃。
176、填空题 磨煤机启动时,()秒无初转速应紧急停止,()秒电流不返回正常值应紧急停止。
点击查看答案
本题答案:10、90
本题解析:试题答案10、90
177、单项选择题 水封槽的作用是密封炉膛底部,防止()漏入炉膛。
A、水
B、灰渣
C、空气
D、煤粉
点击查看答案
本题答案:C
本题解析:暂无解析
178、问答题 什么是膜态沸腾?
点击查看答案
本题答案:水冷壁在受热时,靠近管内壁处的工质首先开始蒸发产生大量
本题解析:试题答案水冷壁在受热时,靠近管内壁处的工质首先开始蒸发产生大量小汽泡,正常情况下这些汽泡应能及时被带走,位于水冷壁管中心的水不断补充过来冷却管壁。但若管外受热很强,管内壁产生汽泡的速度远大于汽泡被带走的速度,汽泡就会在管内壁聚集起来形成所谓的“蒸汽垫”,隔开水与管壁,使管壁得不到及时的冷却。这种现象称为膜态沸腾。
179、填空题 干度等于()的质量与()的质量的比值。
点击查看答案
本题答案:干饱和蒸汽;整个湿蒸汽
本题解析:试题答案干饱和蒸汽;整个湿蒸汽
180、问答题 事故喷水系统的隔离措施?
点击查看答案
本题答案:关闭三台给水泵中抽头去事故减温水手动门、电动门且断电;
本题解析:试题答案关闭三台给水泵中抽头去事故减温水手动门、电动门且断电;关闭再热器减温器A、B侧一二次电动门及调节门且断电
181、填空题 燃烧的基本条件是:()、()和()。
点击查看答案
本题答案:可燃物、空气、温度
本题解析:试题答案可燃物、空气、温度
182、问答题 转动机械滚动轴承发热的原因?
点击查看答案
本题答案:轴承油位过高或过低,油变质,加油时加错油号,冷却水压力
本题解析:试题答案轴承油位过高或过低,油变质,加油时加错油号,冷却水压力低或冷却水中断,轴承振动或发生摩擦,检修时机械与电机安装不同轴。
183、问答题 计算题:某锅炉炉膛出口过剩空气系数是1.2,求该处的氧量?
点击查看答案
本题答案:解:O2=21(α-1)/α=
本题解析:试题答案解:O2=21(α-1)/α=21(1.2-1)/21=3.5%
该处氧量为3.5%。
184、填空题 停止水泵前应将水泵出口门(),直至()。
点击查看答案
本题答案:逐渐关小、全关
本题解析:试题答案逐渐关小、全关
185、判断题 定期排污应在化学人员的监督下进行。
点击查看答案
本题答案:对
本题解析:暂无解析
186、单项选择题 气力除灰系统中干灰吸送,此系统为()气力除灰系统。
A、正压
B、微正压
C、负压
D、微负压
点击查看答案
本题答案:C
本题解析:暂无解析
187、填空题 减负荷过程中要加强水位调整,保持()上水,并根据负荷下降程度,及时切换()及()管路运行。
点击查看答案
本题答案:均衡、给水泵、给水
本题解析:试题答案均衡、给水泵、给水
188、问答题 回转空预器的故障的现象?
点击查看答案
本题答案:a.空预器报警信号发出,故障喇叭响,故障空预器电零,红
本题解析:试题答案a.空预器报警信号发出,故障喇叭响,故障空预器电零,红灯灭,绿灯闪光
b.故障侧排烟温度升高,热风温度下降,炉膛负压变小?
c.单侧跳闸后,延时10分钟,联锁动作,对应侧风机跳闸?
189、问答题 空预器停止闭锁条件
点击查看答案
本题答案:只有在锅炉停止运行,且空预器入口烟温小于150℃方可停
本题解析:试题答案只有在锅炉停止运行,且空预器入口烟温小于150℃方可停止空预器运行。
190、问答题 锅炉低负荷运行时,燃烧调整的注意事项?
点击查看答案
本题答案:低负荷运行时,燃烧器应集中运行,一次风速不应过大
本题解析:
试题答案低负荷运行时,燃烧器应集中运行,一次风速不应过大
191、单项选择题 实际物体的辐射力与同温度下绝对黑体的辐射力相比,()。
A、前者大于后者
B、前者小于后者
C、二者相等
点击查看答案
本题答案:B
本题解析:暂无解析
192、单项选择题 在水循环设备中()将汽包中的水连续不断送入下联箱供给水冷壁,一般布置在炉外,保温不受热。
A、水冷壁
B、联箱
C、汽包
D、下降管
点击查看答案
本题答案:D
本题解析:暂无解析
193、填空题 为了防止停炉后汽包壁()过大,应将锅炉上水至()。
点击查看答案
本题答案:温差、最高水位
本题解析:试题答案温差、最高水位
194、问答题 事故放水的作用,何时使用?
点击查看答案
本题答案:事故放水是在事故情况下,汽包水位高时,开启放出汽包中的
本题解析:试题答案事故放水是在事故情况下,汽包水位高时,开启放出汽包中的水,降低汽包水位,保证汽包及机组安全,一般是在事故情况下,汽包水位较高,无法及时调整时使用,保证汽包水位。
195、单项选择题 下列关于大齿轮罩密封风机的叙述中正确的是()。
A、大齿轮罩密封风机布置在13.7米平台;
B、大齿轮罩密封风机随磨煤机主电机启停而连锁启停;
C、两台大齿轮罩密封风机之间有风压与跳闸两种连锁;
D、有时磨煤机主电机停运后大齿轮罩密封风机仍需运行;
点击查看答案
本题答案:B
本题解析:暂无解析
196、问答题 清洗装置的作用及结构如何?
点击查看答案
本题答案:该装置是利用省煤器来的清洁给水,将经过机械分离后的蒸汽
本题解析:试题答案该装置是利用省煤器来的清洁给水,将经过机械分离后的蒸汽加以清洗,使蒸汽中的部分盐分转溶解于水中,减少蒸汽的含盐量、清洗装置的型式较多,但近代锅炉多采用平孔板式蒸汽穿层清洗装置,其结构是由一块块的平孔板组成。每块平孔板钻有很多5~6mm的小孔,相邻的两块孔板之间装有U型卡,清洗装置两端封板与平孔板之间装有角铁,以组成可靠的水封,防止蒸汽短路。
197、填空题 观察流体运动的两种重要参数是()和()。
点击查看答案
本题答案:流速、压力
本题解析:试题答案流速、压力
198、单项选择题 如发现磨煤机振动超过规定值量,应()。
A、检查振动表是否准确
B、分析原因
C、立即停止检查
D、汇报继续运行
点击查看答案
本题答案:C
本题解析:暂无解析
199、名词解释 化学不完全燃烧损失
点击查看答案
本题答案:燃烧过程中产生的可燃气体(CO、等)未能完全燃烧而随烟
本题解析:试题答案燃烧过程中产生的可燃气体(CO、等)未能完全燃烧而随烟气排出炉外时所造成的损失。
200、填空题 粗粉分离器堵塞的现象:粗粉分离器后负压()回粉管锁气器动作()煤粉细度()排粉机电流()。
点击查看答案
本题答案:增大、不正常、变粗、减小
本题解析:试题答案增大、不正常、变粗、减小
题库试看结束后
微信扫下方二维码即可打包下载完整版《
★集控值班员考试》题库
手机用户可保存上方二维码到手机中,在微信扫一扫中右上角选择“从相册选取二维码”即可。
题库试看结束后
微信扫下方二维码即可打包下载完整版《
集控值班员考试:锅炉运行》题库,
分栏、分答案解析排版、小字体方便打印背记!经广大会员朋友实战检验,此方法考试通过率大大提高!绝对是您考试过关的不二利器!
手机用户可
保存上方二维码到手机中,在
微信扫一扫中右上角选择“从
相册选取二维码”即可。