手机用户可
保存上方二维码到手机中,在
微信扫一扫中右上角选择“从
相册选取二维码”即可。
1、单项选择题 几个电阻头尾分别连在一起,这种连接叫电阻()。
A.混联;
B.并联;
C.串联;
D.其他。
点击查看答案
本题答案:B
本题解析:暂无解析
2、判断题 在半导体中,靠电子导电的半导体称P型半导体。
点击查看答案
本题答案:错
本题解析:暂无解析
3、问答题 论述高压断路器主要参数及含义。
点击查看答案
本题答案:(1)额定电压:它是表征断路器绝缘强度的 参数,是断路器
本题解析:试题答案(1)额定电压:它是表征断路器绝缘强度的参数,是断路器长期工作的标准电压。
(2)额定电流:它是表征断路器通过长期电流能力的参数,即断路器允许连续长期通过的最大电流。
(3)额定开断电流:它是表征断路器开断能力的参数。在额定电压下,断路器能保证可靠开断的最大电流,称为额定开断电流,其单位用断路器触头分离瞬间短路电流周期分量有效值的千安数表示。
(4)动稳定电流:它是表征断路器通过短时电流能力的参数,反映断路器承受短路电流电动力效应的能力。
(5)热稳定电流和热稳定电流的持续时间:执稳定电流也是表征断路器通过短时电流能力的参数,但它反映断路器承受短路电流热效应的能力。
(6)合闸时间与分闸时间:这是表征断路器操作性能的参数。各种不同类型的断路器的分、合闸时间不同,但都 要求动作迅速。合闸时间是指从断路器操动机构合闸线圈接通到主触头接触这段时间,断路器的分 闸时间包括固有分闸时间和熄弧时间两部分。固有分闸时间是指从操动机构分闸线圈接通到触头分离这段时间。熄弧时间是指从触头分离到各相电弧熄灭为止这段时间。所以,分闸时间也称为全分闸时间。
(7)操作循环:这也是表征断路器操作性能的指标。架空线路的短路故障大多是暂时性的,短路电流切断后,故障即迅速消失。因此,为了提高供电的可靠性和系统运行的稳定性,断路器应能承受一次或两次以上的关合、开断,或关合后立即开断的动作能力。此种按一定时间间隔进行多次分、合的操作称为操作循环。
4、单项选择题 电压互感器连接成不完全三角形接线时,它的一次绕组()。
A.不接地;
B.直接接地;
C.经电阻接地;
D.经电感接地。
点击查看答案
本题答案:A
本题解析:暂无解析
5、单项选择题
在中性点不接地系统中,正常情况下每相对地电容电流为
,当发生单相金属性接地后,流过接地点的电流为()。
A.

B.1/3
C.3
D.
点击查看答案
本题答案:C
本题解析:暂无解析
6、单项选择题 在RL串联的交流电路中,复数阻抗X的模Z等于()。
A.R+XL;
B.;
C.R2+
;
D.R2-
。
点击查看答案
本题答案:B
本题解析:暂无解析
7、单项选择题 发电机的非同期振荡与()有关。
A.过负荷;
B.失磁;
C.甩负荷;
D.转子一点接地。
点击查看答案
本题答案:B
本题解析:暂无解析
8、判断题 距离保护的 测量阻抗值不随运行方式而变。
点击查看答案
本题答案:对
来源:91考试网 91exam.org本题解析:暂无解析
9、问答题 变压器在什么情况下必须立即停止运行?
点击查看答案
本题答案:若发现运行中无法消除且有威胁整体安全的可能性的异常现象
本题解析:试题答案若发现运行中无法消除且有威胁整体安全的可能性的异常现象时,应立即将变压器停运。
发生下述情况之一时,应立即将变压器停运:
(1)变压器内部音响很大,很不正常,有爆裂声;
(2)在正常负荷和冷却条件下,变压器上层油温异常,并不断上升;
(3)油枕或防爆筒喷油;
(4)严重漏油,致使油面低于油位计的指示限度;
(5)油色变化过甚,油内出现炭质;
(6)套管有严重的破损和放电现象;
(7)变压器范围内发生人身事故,必须停电时;
(8)变压器着火;
(9)套管接头和引线发红、熔化或熔断。
10、问答题 什么是GIS设备,什么是C-GIS设备?有什么具体区别?
点击查看答案
本题答案:GIS为GasInsulated Switchgear
本题解析:试题答案GIS为GasInsulated Switchgear,即气体绝缘开关设备。C-GIS为Cubic Gas Insulated Switchgear,即箱式或罐式气体绝缘开关设备。
GIS指六氟化硫封闭式组合电器,它是把断路器、隔离开关、母线、接地开关、互感器、出线套管或电缆终端头等分别装在各自密封间中集中组成一个整体,外壳充以六氟化硫气体作为绝缘介质。结构紧凑、体积小、重量轻、不受大气条件影响、检修间隔长、无触电事故和电噪声干扰等优点。
C-GIS指的是气体绝缘金属封闭开关设备,一般采用真空断路器,隔离开关、电压互感器等设备密封在一个空间内,用SF6气体绝缘,其他部分是传统空气绝缘。SF6气室部分气压较低,一般是GIS的几分之一。
11、单项选择题 系统发生振荡时,振荡电流中包含()分量。
A.正序;
B.正序和负序;
C.负序和零序;
D.正序、负序及零序。
点击查看答案
本题答案:A
本题解析:暂无解析
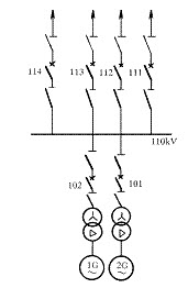
12、问答题 绘图题:画出两台发电机—变压器组四条线路,单母线一次主接线图。
点击查看答案
本题答案:
试题答案
13、判断题 电力系统的中性点接地方式,有大接地电流系统和小接地电流系统两种方式。
点击查看答案
本题答案:对
本题解析:暂无解析
14、判断题 电容器接到直流回路上,只有充电和放电时,才有电流流过。充电、放电过程一旦结束,电路中就不会再有电流流过。
点击查看答案
本题答案:对
本题解析:暂无解析
15、判断题 发电机定子绕组发生接地故障时,故障点的零序电压值与故障点距中性点的距离成反比。
点击查看答案
本题答案:错
本题解析:暂无解析
16、问答题 对变压器检查项目的正常要求有哪些?
点击查看答案
本题答案:检查项目的正常要求有:
(1)油枕及充油套管
本题解析:试题答案检查项目的正常要求有:
(1)油枕及充油套管内油位高度应正常、油色透明。
(2)上层油温不超过允许温度。
(3)变压器声音正常。
(4)变压器套管清洁无裂纹和无放电现象,引线接头接触良好,无过热现象。
(5)冷却装置运行正常。
(6)呼吸器畅通,硅胶受潮不能至饱和状态。
(7)防爆管隔膜完整无破损。
(8)变压器的主、附设备不漏油,不渗油及外壳接地良好。
(9)气体继电器内充满油、无气体。
17、判断题 三相异步电动机磁极对数越多,其转速越高。
点击查看答案
本题答案:错
本题解析:暂无解析
18、单项选择题 发电机的测量元件(热电偶式)是利用两种不同的金属丝接触点在不同温度时所产生()的不同来测定温度的。
A.电动势;
B.电阻;
C.位移;
D.磁性。
点击查看答案
本题答案:A
本题解析:暂无解析
来源:91考试网 91EXAm.org
19、判断题 变压器油枕油位计的+40℃油位线是表示环境温度在+40℃时的油标准位置线。
点击查看答案
本题答案:对
本题解析:暂无解析
20、判断题 在电容器的特性中,最重要的参数是电容量及介质损耗。
点击查看答案
本题答案:错
本题解析:暂无解析
21、判断题 变压器是一种传递电能的设备。
点击查看答案
本题答案:对
本题解析:暂无解析
22、问答题 我国电力系统中中性点接地方式有几种?它们对继电保护的原则要求是什么?
点击查看答案
本题答案:我国电力系统中性点接地方式有三种:
(1)中
本题解析:试题答案我国电力系统中性点接地方式有三种:
(1)中性点直接接地方式;
(2)中性点经消弧线圈接地方式;
(3)中性点不接地方式。
110kV及以上电网的中性点均采用第(1)种接地方式。在这种系统中,发生单相接地故障时接地短路电流很大,故称其为大接地电流系统。在大接地电流系统故障中发生单相接地故障的概率较高,可占总短路故障的70%左右,因此要求其接地保护能灵敏、可靠、快速地切除接地短路故障,以免危及电气设备的安全。
3~35kV来源:91考试网 91eXAm.org电网的中性点采用第(2)或第(3)种接地方式。在这种系统中,发生单相接地故障时接地短路电流很小,故称其小接地电流系统。在小接地电流系统中发生单相接地故障时,并不破坏系统线电压的对称性,系统还可继续运行1~2h。同时,绝缘监察装置发出无选择性信号,可由值班人员采取措施加以消除。只有在特殊情况或电网比较复杂、接地电流比较大时,根据技术保安条件,才装设有选择性的接地保护,动作于信号或跳闸。所以,小接地电流系统的接地保护带有很大的特殊性。
23、单项选择题 电流系统发生接地故障时,零序电流大小取决于()。
A.短路点距电源的远近;
B.中性点接地的数目;
C.系统电压等级的高低;
D.短路类型。
点击查看答案
本题答案:B
本题解析:暂无解析
24、判断题 在几个电阻串联的电路中,电流分配与各电阻大小无关。
点击查看答案
本题答案:对
本题解析:暂无解析
25、判断题 晶体三极管的发射极电流控制集电极电流,而集电极电流的大小又受基极电流的控制。
点击查看答案
本题答案:对
本题解析:暂无解析
26、判断题 距离保护的测量阻抗值不随运行方式而变。
点击查看答案
本题答案:对
本题解析:暂无解析
27、判断题 断路器是利用交流电流自然过零时熄灭电弧的。
点击查看答案
本题答案:对
本题解析:暂无解析
28、问答题
如图D-35所示电路,已知R=16kΩ,C=0.01μF,试求输入电压U1的频率为多少时才能使输出电压
的相位超前输入电压45°?如果这时输入电压的最大值U1m为1V,则输出电压的最大值U2m是多少?并绘图题:画出相量图。

点击查看答案
本题答案:
试题答案
输入电压U1的频率为1000Hz时输出电压U2的相位超前输入电压45°,当输入电压的最大值U1m为1V时输出电压的最大值U2m是0.707V。
29、单项选择题 沿任一回路的任一方向绕行一周,各电源电动势和()各电阻电压降的代数和。
A.大于;
B.小于;
C.等于;
D.不等于。
点击查看答案
本题答案:C
本题解析:暂无解析
30、判断题 双鼠笼电动机的内鼠笼电阻小,感抗大,启动时产生的力矩较小。
点击查看答案
本题答案:对
本题解析:暂无解析
题库试看结束后
微信扫下方二维码即可打包下载完整版《
★电气值班员考试》题库
手机用户可保存上方二维码到手机中,在微信扫一扫中右上角选择“从相册选取二维码”即可。
题库试看结束后
微信扫下方二维码即可打包下载完整版《
电气值班员考试:电气值班员高级技师考试》题库,
分栏、分答案解析排版、小字体方便打印背记!经广大会员朋友实战检验,此方法考试通过率大大提高!绝对是您考试过关的不二利器!
手机用户可
保存上方二维码到手机中,在
微信扫一扫中右上角选择“从
相册选取二维码”即可。