微信搜索关注"91考试网"公众号,领30元,获取公务员、事业编、教师等考试资料40G!
1、选择题 如图甲所示的电路中,理想变压器原、副线圈匝数比为5:l,原线圈接入图乙所示的电压,副线圈接火灾报警系统?(报警器未画出),电压表和电流表均为理想电表,R0为定值电阻,R为半导体热敏电阻,其阻值随温度的升高而减小.下列说法中正确的是( )

A.R处出现火警时电流表示数增大
B.R处出现火警时电阻R0消耗的电功率增大
C.图乙中电压的有效值为110V
D.电压表的示数为44V
2、填空题 如图所示,理想变压器原线圈的匝数为1000匝,副线圈n2匝数为50匝.
L1是6V,2W的小灯泡,L2是12V,4W的小灯泡.当n1接上交变电压时,L1,L2都正常发光.则:
(1)原线圈两端电压U1______V,
(2)副线圈n3匝数为______匝
(3)原线圈中的电流是______A.

3、选择题 如图,理想变压器原副线圈匝数之比为4∶1.原线圈接入一电压为u=U0sinωt的交流电源,副线圈接一个R=27.5 Ω的负载电阻.若U0=220
V,ω=100π Hz,则下述结论正确的是?(?)

A.副线圈中电压表的读数为55 V
B.副线圈中输出交流电的周期为
C.原线圈中电流表的读数为0.5 A
D.原线圈中的输入功率为
4、选择题 如图,理想变压器原副线圈匝数之比为4∶1,原线圈接入一电压为u=U0sinωt的交流电源,副线圈接一个R=27.5 Ω的负载电阻。若U0=220
V,ω=100π Hz,则下述结论正确的是

[? ]
A. 副线圈中电压表的读数为55 V
B. 副线圈中输出交流电的周期为
C. 原线圈中电流表的读数为0.5 A
D. 原线圈中的输入功率为
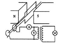
5、选择题 某兴趣小组用实验室的手摇发电机和理想变压器给一个灯泡供电,电路如图,当线圈以较大的转速n匀速转动时,电压表示数是U1,额定电压为U2的灯泡正常发光,灯泡正常发光时电功率为P,手摇发电机的线圈电阻是r,导线电阻忽略不计,则有

A.电流表的示数是是
B.变压器的原副线圈的匝数比是U1 :U2
C.手摇发电机线圈电阻的发热功率为
D.手摇发电机的线圈中产生的电动势的有效值为U1+
r