1、实验题 如图为某同学在研究匀变速直线运动的实验中,用打点计时器打出的一条纸带,纸带上标出的A、B、C、D、E都是选中的记数点,每两个记数点间都有四个自然点没有画出。某同学用刻度尺只测出了A、B间的距离s1=1.50cm和D、E的距离s4=7.50cm。求:

(1)打C点时纸带的运动速度大小为v = ?m/s;?
(2)小车运动过程中的加速度大小为a =?m/s2。
参考答案:(1)0.45?(2)2.00
本题解析:(1)由于每两个记数点间都有四个自然点没有画出,所以相邻计数点的时间间隔T=0.10s,由
可知
,所以
,所以
,
,
.
(2)根据
可得
,
点评:匀变速直线运动相邻相等时间间隔内的位移差是一个常量。
本题难度:简单
2、实验题 某同学在做“验证机械能守恒定律”的实验时,不慎将一条选择好的纸带的前面部分损坏了,他没出剩下的一段纸带上每相邻两点间的距离,并标在纸带上,如图8所示,已知打点计时器的周期为0.02s,重力加速度为g = 9.80m/s2,则:
①(3分)当重锤质量为mkg,则打点2 时,重锤的动能Ek2 =___________;打点5时重锤的动能Ek5 =?__________;从打点2 到打点5 ,重锤动能的改变量△Ek=_____________。
② (2分)从点2到点5重锤的重力势能改变量△Ep=____________。
③(2分)实验结论:_______________________________________________________。
④(2分)本实验产生误差的主要原因是:_______________________________________________________。
参考答案:①1.1175m J? 2.1218m j? 1.0043m J
②1.047m J
③在允许的实验误差范围内可以认为?Ek=?Ep,即机械能守恒.
④因重锤拖着纸带下落时,空气阻力和打点计时器的阻力做功而使重锤的机械能有损失
本题解析:①打点2 时速度为
1.5m/s,动能为
1.1175m J同理可求出打点5时的动能和动能该变量②重力势能该变量mgh=mg(3.20+3.60+4.00)×10-2J=1.047m J
本题难度:简单
3、计算题 A、B两球质量分别为m1与m2,用一劲度系数为K的弹簧相连,一长为l1的细线与m1相连,置于水平光滑桌面上,细线的另一端拴在竖直轴OO`上,如图所示,当m1与m2均以角速度w绕OO`做匀速圆周运动时,弹簧长度为l2。求:

(1)此时弹簧伸长量多大?绳子张力多大?
(2)将线突然烧断瞬间两球加速度各多大?
参考答案:(1)
?
(2)
?
本题解析:(1)m2只受弹簧弹力,设弹簧伸长Δl,满足
KΔl=m2w2(l1+l2)
∴弹簧伸长量
对m1,受绳拉力T和弹簧弹力f做匀速圆周运动,
满足:T-f=m1w2l1
绳子拉力
(2)线烧断瞬间
A球加速度
B球加速度
点评:本题考查了圆周运动向心力来源,并结合圆周运动知识建立等式求解。本题还考察了物体的惯性知识。
本题难度:一般
4、实验题 用一测力计水平拉一端固定的弹簧,以此测定该弹簧的劲度系数k,测出弹簧秤示数F与弹簧长度L的数据如下表所示:
F/N
| 1.1
| 1.5
| 2.0
| 3.0
| 3.5
| 3.8
| 4.0
|
L/cm
| 22.00
| 22.35
| 22.70
| 23.31
| 23.65
| 23.80
| 24.00
|
请完成以下两小题:
⑴在右图中作出此弹簧的F-L图.

⑵图线与L轴的交点表示?,其值为?cm,此弹簧的劲度系数为?N/m.
参考答案:⑴图略?⑵原长,21.6±0.3cm,179±5N/m
本题解析:(1)利用描点发得出:

(2)根据胡克定律得:
,可知F-L图线与L轴的交点表,即横轴截距表示弹簧原长的大小,故由图象可求出
.?
(3)根据胡克定律得:
,可知F-L图线的斜率大小等于弹簧的劲度系数大小,故由图解得:k=179N/m.
点评:图象的斜率大小等于劲度系数的大小,
本题难度:简单
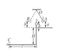
5、实验题 下图是用来验证动量守恒的实验装置,质量为m1的弹性球1用细线悬挂于O点,O点下方桌子的边沿有一竖直立柱.实验时,调节悬点,使弹性球1静止时恰与立柱上的质量为m2的弹性球2接触且两球等高.将球1拉到A点,并使之静止,同时把球2放在立柱上.释放球1,当它摆到悬点正下方时与球2发生对心碰撞.碰后球1向左最远可摆到B点,球2落到水平地面上的C点测出有关数据即可验证1、2两球碰撞时动量守恒.现已测出A点离水平桌面的距离为a.B点离水平桌面的距离为b,C点与桌子边沿间的水平距离为c.(忽略小球的大小)
碰前1球的动量??
碰后1球的动量 ??碰后2球的动量 ?
动量守恒的表达是 ??
参考答案:碰前1球的动量?
碰后1球的动量
?碰后2球的动量
?。
动量守恒的表达是
=
+
本题解析:1小球从A处下摆过程只有重力做功,机械能守恒,根据机械能守恒定律,有
,解得:
;所以碰前1球的动量?为 
碰撞后1小球上升到最高点的过程中,机械能守恒,根据机械能守恒定律,有
解得:
,所以碰后1球的动量 为
?
碰撞后小球2做平抛运动,
,所以2球碰后速度
,碰后2球的动量
?。所以该实验中动量守恒的表达式为:
,带入可得:动量守恒的表达是
=
+
点评:验证动量守恒定律中,学会在相同高度下,水平射程来间接测出速度的方法,难度不大,属于基础题.
本题难度:一般