1、选择题  如图所示,从倾角为θ的斜面上的M点水平抛出一个小球,小球的初速度为v0,最后小球落在斜面上的N点,则下列说法错误的是

[? ]
A.可求出M,N之间的距离 
B.可求出小球落到N点时速度的大小和方向 
C.可求小球到达N点时的动能 
D.可以断定,当小球速度方向与斜面平行时,小球与斜面间的距离最大 
 
	参考答案:C
	本题解析:
	本题难度:一般
	        2、简答题  如图所示,竖直平面内的
圆弧形光滑轨道半径为R,A端与圆心O等高,AD为与水平方向成45°的斜面,B端在O的正上方,一个小球在A点正上方由静止释放,自由下落至A点进入圆轨道并恰能到达B点.求:
(1)小球到达B点时速度的大小;
(2)释放点距A点的竖直高度;
(3)小球落到斜面AD上C点时速度的大小和方向.
 
	参考答案:(1)小球到达B点:由mg=mV2BR?
得:VB=
	本题解析:
	本题难度:一般
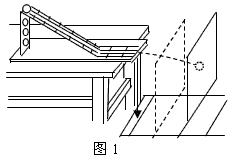
	        3、实验题  某同学利用图1所示装置做“研究平抛运动”的实验,根据实验结果在坐标纸上描出了小球水平抛出后的运动轨迹,但不慎将画有轨迹图线的坐标纸丢失了一部分,剩余部分如图2所示,图2中水平方向与竖直方向每小格的长度均代表0.10m,P1、P2和P3是轨迹图线上的3个点,P1和P2、P2和P3之间的水平距离相等。完成下列填空:(重力加速度取9.8m/s2) 
 ?
? 
(1)设P1、P2和P3的横坐标分别为x1、x2和x3,纵坐标分别为y1、y2和y3,从图2中可读出︱y1-y2︱=______________m,︱y1-y3︱=______________m,︱x1-x2︱=______________m(保留两位小数)。
(2)若已测知抛出后小球在水平方向做匀速运动,利用(1)中读取的数据,求小球从P1运动到P2所用的时间为______________s,小球抛出后的水平速度为______________m/s(均可用根号表示)。
(3)已测得小球抛出前下滑的高度为0.50m,设E1和E2分别为开始下滑时和抛出时的机械能,则小球从开始下滑到抛出的过程中机械能的相对损失 ×100% =______________%(保留两位有效数字)。
×100% =______________%(保留两位有效数字)。 
 
	参考答案:(1)0.61,1.61,0.60 
(2)0.20,3.0 
(3)8.2
	本题解析:
	本题难度:困难
	        4、选择题  在不计空气阻力的情况下,下列说法中正确的是(  )
A.从同一高度,以大小不同的速度同时水平抛出两个物体,它们一定同时着地,抛出的水平距离一定不同
B.从不同高度,以相同的速度同时水平抛出两个物体,它们一定不能同时着地,抛出的水平距离也一定不同
C.从不同高度,以不同的速度同时水平抛出两个物体,它们一定不能同时着地,抛出的水平距离也一定不同
D.从不同高度,以不同的速度同时水平抛出两个物体,它们一定不能同时着地,抛出的水平距离可能相同
 
	参考答案:A、根据h=
	本题解析:
	本题难度:简单
	        5、选择题  .关于平抛运动,下列叙述正确的是(?)
?
A.平抛运动是一种在恒力作用下的曲线运动
?
B.平抛运动速度方向与加速度方向之间夹角越来越小
?
C.平抛运动速度方向与恒力方向之间夹角不变
?
D.平抛运动速度大小时刻改变
 
	参考答案:?ABD
	本题解析:?平抛运动是仅在重力作用下,且具有水平初速度的匀变速曲线运动,故A、B、D选项正确.
	本题难度:简单