| 高考省级导航 | |
|
|
|
高考物理知识大全《滑动摩擦力》高频考点特训(2019年必看版)(四)
![]() 参考答案:设每根钢索随的拉力大小为F,则在竖直方向上,四根钢索拉力分力的合力等于mg,则有 本题解析: 本题难度:一般 3、选择题 如图所示,长为L的通电直导体棒放在光滑水平绝缘轨道上,劲度系数为k的水平轻弹簧一端固定,另一端拴在棒的中点,且与棒垂直,整个装置处于方向竖直向上、磁感应强度为B的匀强磁场中,弹簧伸长x,棒处于静止状态.则( ) |

参考答案:A、由于弹簧伸长,则安培力方向水平向右;由左手定则可得,导体棒中的电流方向从a流向b,故A错误,
B、由于弹簧伸长为x,根据胡克定律可得,kx=BIL,则有I=kxBL,故B正确;
C、若只将磁场方向缓慢顺时针转过一小角度,则水平向右方向安培力也顺时针转动一小角度,根据力的分解与平衡可得,弹力变小,导致x变小,故C错误;
D、若只将磁场方向缓慢逆时针转过一小角度,则水平向右方向安培力也逆时针转动一小角度,根据力的分解与平衡可得,弹力变小,导致x变小,故D错误;
故选:B
本题解析:
本题难度:一般
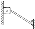
4、选择题 如图所示,物体A靠在光滑竖直墙面上,用带铰链的棒支住它,物体A所受的重力为G,棒所受的重力为Gˊ,棒与竖直方向夹角为a,则( )
A.物体A对棒端的弹力和摩擦力的合力方向必定沿棒的方向
B.增大物体所受重力G,物体对棒的弹力将减小
C.移动铰链位置,使a角增大,但仍支住物体A,则物体对棒弹力将增大
D.增大棒所受的重力Gˊ,物体A对棒的摩擦力将增大
参考答案:
A、对A受力分析如图所示;物体受重力、杆的弹力、墙的支持力以及摩擦力而处于平衡状态;故几个力的合力一定为零;故杆对物体的摩擦力与杆对物体的弹力应与其他力的?力等大反向,故不可能沿杆的方向;故A错误;
B、增大物体的重力,由于水平方向上的两力不随重力的变化而变化,故弹力不变;故B错误;
C、当角增大时,T的方向向左下偏转,但为了保证物体仍受力平衡,其向上的分力应增大,故棒对物体的弹力增大,则物体对棒的弹力增大;故C正确;
D、增大棒的重力,不会改变物体A的受力情况,故A与棒间的摩擦力不变,故D错误;
故选C.
本题解析:
本题难度:简单
5、选择题 关于摩擦力的说法,下面正确的有( )
A.摩擦力总是阻碍相互接触的两个物体间的相对运动趋势或相对运动
B.正压力越大,摩擦力就越大
C.摩擦力可以是阻力,也可以是动力
D.运动的物体一定受到摩擦力的作用
参考答案:A、由摩擦力的定义可知,摩擦力总是阻碍相互接触的两个物体间的相对运动趋势或相对运动,故A正确;
B、静摩擦力的大小与正压力无关,故B错误;
C、摩擦力阻碍的是相对运动,故摩擦力可能与物体的运动方向相同,故摩擦力可以是动力,故C正确;
D、物体的运动不需要力来维持,若物体在光滑的平面上滑动,则物体不受摩擦力; 故D错误;
故选AC.
本题解析:
本题难度:简单
| 【大 中 小】【打印】 【繁体】 【关闭】 【返回顶部】 | |
| 下一篇:高中物理知识点大全《弹力》考点.. | |