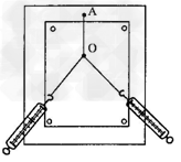
1、实验题 在“探究力的平行四边形定则”的实验中,用图钉把橡皮条的一端固定在板上的A点,在橡皮条的另一端拴上两条细绳,细绳另一端系着绳套B、C(用来连接弹簧测力计)。其中A为固定橡皮筋的图钉,O为橡皮筋与细绳的结点,OB和OC为细绳。

(1)在实验中,如果只将细绳换成橡皮条,其他步骤没有改变,那么实验结果是否会发生改变?答:________。(选填“变”或“不变”)
(2)本实验采用的科学方法是_________。
A、理想实验法
B、等效替代法
C、控制变量法
D、建立物理模型法?
2、实验题 某同学在“探究加速度与力的关系”实验中打出一条纸带,他从比较清晰的点开始,每五个点取一个计数点,如图所示。已知打点计时器打点的时间间隔为0.02s,则相邻两计数点间的时间间隔为_____________s。由此可求得小车的加速度为a=_____________m/s2,打下计数点C时小车运动的速度为vC=_____________m/s。

3、其他 如图所示,棒光滑,画出它受到的弹力。

4、实验题 如图所示在“力的平行四边形定则”的实验探究中,某同学进行实验的主要步骤是:将橡皮条的一端固定在木板上的A点,另一端拴上两根带有绳套的细绳,每根绳套分别边着一个弹簧测力计。沿着两个方向拉弹簧测力计,将橡皮条的活动端拉到某一位置,将此位置标记为O点,读取此时弹簧测力计的示数,分别记录两个拉力F1、F2的大小并标出方向;再用一个弹簧测力计将橡皮条的活动端仍拉至O点,记录其拉力F的大小和方向。

(1)用一个弹簧测力计将橡皮条的活动端仍拉O点,这样做的目的是____________________________________;
(2)为尽可能减小实验误差,下列操作中正确的是___________。
A.弹簧秤、细绳、橡皮条都应与木板平行
B.两细绳必须等长
C.标记同一细绳方向的两点要远些
D.用两弹簧秤同时拉细绳时夹角应尽可能大
5、选择题 第一个在实验室通过实验比较精确测量出万有引力常量的物理学家是
A.哥白尼
B.开普勒
C.伽利略
D.卡文迪许