1、选择题 不定项选择
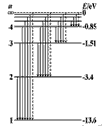
大量处于基态的氢原子吸收频率为ν的光子后,能发出6种不同频率的光,频率由低到高依次为ν1、ν2、ν3、……、ν6,若频率为ν3的光能使某金属光电效应,则以下说法正确的是( ? )
A.ν=ν1
B.频率为ν3的光子是氢原子从n=2跃迁到n=1时产生的
C.频率为ν2的光比频率为ν3的光在水中的传播速度大
D.用从n=3跃迁到n=1所产生的辐射光照射该金属,一定能发生光电效应
参考答案:CD
本题解析:
本题难度:一般
2、选择题 多选
下列四幅图涉及到不同的物理知识,其中说法正确的是( ? )
甲
乙
丙
丁
A.图甲:普朗克通过研究黑体辐射提出能量子的概念,成为量子力学的奠基人之一
B.图乙:玻尔理论指出氢原子能级是分立的,所以原子发射光子的频率也是不连续的
C.图丙:卢瑟福通过分析α粒子散射实验结果,发现了质子和中子
D.图丁:根据电子束通过铝箔后的衍射图样,可以说明电子具有粒子性
参考答案:AB
本题解析:
本题难度:简单
3、简答题 (1)有关热辐射和光的本性,请完成下列填空题
黑体辐射的规律不能用经典电磁学理论来解释,1900年德国物理学家普朗克认为能量是由一份一份不可分割最小能量值组成,每一份称为_________.1905年爱因斯坦从此得到启发,提出了光子的观点,认为光子是组成光的最小能量单位,光子的能量表达式为_________,并成功解释了__________________现象中有关极限频率、最大初动能等规律,写出了著名的______________方程,并因此获得诺贝尔物理学奖。
(2)已知氘核质量2.0136u,中子质量为1.0087u,
核质量为3.0150u。
A、写出两个氘核聚变成
的核反应方程___________________________________。
B、计算上述核反应中释放的核能。(结果保留2位有效数字)(1u=931.5Mev)
C、若两氘以相等的动能0.35MeV作对心碰撞即可发生上述核反应,且释放的核能全部转化为机械能,则反应中生成的
核和中子的动能各是多少?(结果保留2位有效数字)
参考答案:(1)能量子?
?光电效应?光电效应方程(或
)
(2)a、
;b、3.26Mev;c、0.815Mev
本题解析:(1)能量子?
?光电效应?光电效应方程(或
)
(2)a、
b、在核反应中质量的亏损为Δm=2×2.0136u-1.0087u-3.015u
= 0.0035u
所以释放的核能为0.0035×931.5Mev=3.26Mev
c、反应前总动量为0,反应后总动量仍为0,
所以氦核与中子的动量相等。
由EK=P2/2m得
EHe:En=1:3
所以En="3E/4=2.457Mev?" EHe=E/4=0.815Mev
本题难度:一般
4、选择题 (6分)2005年是“世界物理年”,100年前的1905年是爱因斯坦的“奇迹”之年,这一年他先后发表了三篇具有划时代意义的论文,其中关于光量子的理论成功的解释了光电效应现象,关于光电效应,下列说法正确的是:( )
A.当入射光的频率低于极限频率时,不能发生光电效应
B.光电子的最大初动能与入射光的频率成正比
C.光电子的最大初动能与入射光的强度成正比
D.某单色光照射一金属时不发生光电效应,改用波长较短的光照射该金属时可能发生光电效应