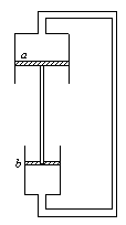
1、选择题 如图所示,两个直立气缸由管道相通。具有一定质量的活塞a、b用钢性杆固连,可在气缸内无摩擦地移动。缸内及管中封有一定质量的气体。整个系统处于平衡状态。大气压强不变。现令缸内气体的温度缓慢升高一点,则系统再次达到平衡状态时(?)

A.活塞向下移动了一点,缸内气体压强不变
B.活塞向下移动了一点,缸内气体压强增大
C.活塞向上移动了一点,缸内气体压强不变
D.活塞的位置没有改变,缸内气体压强增大
2、选择题 在一个装有可以自由移动的活塞的密封容器里,有一定质量的理想气体,如图所示,下列各状态变化中,不可能发生的是?

[? ]
A.气体的温度降低,压强减小,密度不变?
B.气体的温度升高,压强不变,密度不变?
C.气体的温度升高,压强增大,密度也增大?
D.气体的温度不变,压强减小,密度也减小
3、选择题 如图所示,两个水平相对放置的固定气缸有管道相通,轻质活塞a、b用钢性轻杆固连,可在气缸内无摩擦地移动,两活塞面积分别为Sa和Sb,且Sa<Sb.缸内及管中封有一定质量的气体,整个系统处于平衡状态,大气压强不变.现令缸内气体的温度缓慢升高一点,则系统再次达到平衡状态时( ?)
A.活塞向左移动了一点,缸内气体压强不变
B.活塞向右移动了一点,缸内气体压强增大
C.活塞向左移动了一点,缸内气体压强增大
D.活塞的位置没有改变,缸内气体压强增大