1、选择题 电容器A的电容比电容器B的电容大,这表明
A.A所带的电荷量比B多
B.A比B能容纳更多的电荷量
C.A的体积比B的体积大
D.两电容器的电压都改变1 V时,A的电荷量的改变量比B的大
参考答案:D
本题解析:电容是电容器的固有属性,由电容器本身的构造决定,电容描述了电容器容纳电荷的本领(电容器两极间的电势差每改变1 V所改变的电荷量的多少)大小,而不表示容纳电荷的多少或带电荷量的多少,正确答案为D项.
本题难度:一般
2、实验题 一节电动势约为9V,内阻约为2
的电池,允许通过的最大电流是500mA。为了精确测定该电池的电动势和内电阻,选用了总阻值为50
的滑动变阻器以及电流表和电压表,连成了如图所示的电路

(1)为了防止误将滑动变阻器电阻调为零而损坏器材,需要在电路中接入一个定值电阻R0,最适合的是
[? ]
A.
B.
C.
D.
(2)电路连好后,由于电路中有一处发生了故障,闭合开关K时发现电压表有示数而电流表没有示数,断开导线“1”的B端,将其分别接到C、D、E、F各点时,发现电压表的示数都接近9V,而接到G、H、J各点时,发现电压表的示数都为零,可能出现的故障是
[? ]
A.定值电阻R断路
B.滑动变阻器滑片P接触不良
C.滑动变阻器EF间电阻丝断路
D.电流表断路
(3)在其他器材不变的情况下,再取一节上述规格的电池,与原来的电池串联组成电池组,测量这个电池组的电动势和内电阻,且操作无误。
①在虚线框内画出实验电路原理图。

②实验中,当电流表读数为I1时,电压表读数为U1;当电流表读数为I2时,电压表读数为U2。则可以求出E=____________,r=___________(用I1,I2,U1,U2及R表示)
参考答案:(1)C
(2)B
(3)①
②(I1U2-I2U1)/(I1-I2); (U2-U1)/(I1-I2)-R0
本题解析:
本题难度:一般
3、简答题 金属材料的电阻率通常随温度的升高而增大,半导体材料的电阻率随温度的升高而减少.某同学需要研究某导电材料的导电规律,他用该种导电材料制作为电阻较小的线状元件Z做实验,测量元件Z中的电流随两端电压从零逐渐增大过程中的变化规律.
(1)他应选用图所示的______电路进行实验

(2)实验测得元件Z的电压与电流的关系如下表所示.根据表中数据,判断元件Z是______?(填“金属材料”或“半导体材料”);
| U/V | 0 | 0.40 | 0.60 | 0.80 | 1.00 | 1.20 | 1.50 | 1.60 I/A 0 0.20 0.45 0.80 1.25 1.80 2.81 3.20
|
(3)用螺旋测微器测量线状元件Z的直径如图2所示,则元件Z的直径是______mm.
(4)把元件Z接入如图1所示的电路中,当电阻R的阻值为R1=2Ω时,电流表的读数为1.25A;当电阻R的阻值为R2=3.6Ω时,电流表的读数为0.80A.结合上表数据,求出电池的电动势为______V,内阻为______Ω.(?不计电流表的内阻)

参考答案:(1)电压从零开始变化,滑动变阻器应采用分压接法;待测电阻阻值很小,电压表内阻远大于待测电阻阻值,电流表应采用外接法,由图1所示电路图可知,实验应采用A所示电路.
(2)由表中实验数据可知,随元件电压增大,通过元件的电流增大,元件的实际功率增大,元件温度升高;由欧姆定律可知,随元件两端电压增大,元件电阻减小,因此元件是半导体材料.
(3)由图2所示螺旋测微器可知,固定刻度示数为1.5mm,可动刻度示数为49.0×0.01mm=0.490mm,元件的直径为1.5mm+0.490mm=1.990mm(1.989~1.991均正确).
(4)由图3可知,元件Z与电阻R串联,电流表测电路电流,由表中实验数据可知,电流为1.25A时,元件两端电压为1.00V,电流为0.80A时,元件两端电压为0.80V,由闭合电路欧姆定律可得:E=I(R+r)+UZ,
E=1.25×(2+r)1.00,E=1.25×3.6+r)+0.80,解得,电源电动势E=4.0V,内阻r=0.4Ω.
故答案为:(1)A;(2)半导体材料;(3)1.990;(4)4.0;0.4.
本题解析:
本题难度:一般
4、实验题 图1是利用两个电流表A1和A2测量干电池电动势E和内阻r的电路原理图。图中S为开关,R为滑动变阻器,固定电阻R1和A1内阻之和为10000Ω(比r和滑动变阻器的总电阻都大得多),A2为理想电流表。

(1)按电路原理图在图2虚线框内各实物图之间画出连线。
(2)在闭合开关S前,将滑动变阻器的滑动端c移动至____________(填“a端”、“中央”或“b 端”)。
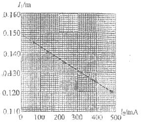
(3)闭合开关S,移动滑动变阻器的滑动端c至某一位置,读出电流表A1和A2的示数I1和I2。多次改变滑动端c的位置,得到的数据如下表。在图3所示的坐标纸上以I1为纵坐标、I2为横坐标画出所对应的I1-I2曲线。


(4)利用所得曲线求的电源的电动势E=____________V,内阻r=____________Ω。(保留两位小数)
(5)该电路中电源输出的短路电流Im=____________A。
参考答案:(1)
(2)b端
(3)
(4)1.49(1.48~1.50),0.60(0.55~0.65)
(5)2.4(2.3~2.7)
本题解析:
本题难度:困难
5、简答题 相距2L的AB、CD两平行直线间区域存在着两个方向相反的匀强电场,其中PT上方的电场E1竖直向下;下方的电场E0竖直向上.PQ上连续分布着电量+q、质量m的粒子,依次以相同的初速度v0垂直射入E0中,PQ=L.若从Q点射入的粒子恰从M点水平射出(如图),MT=L/2.不计粒子的重力及相互作用.问:
(1)E0与E1的大小
(2)若从M点射出的粒子恰从中点S位置垂直射入边长为a的正方形有界匀强磁场区域(如图).要使粒子能够从最上边界射出磁场区域.则该匀强磁场的磁感强度B大小?
参考答案:

(1)设粒子在E0和E1中的时间为t1与t2,到达R时竖直速度为vy,则有L=12a1t?21=12qE0mt21与L2=12a2t?22=12qE1mt22
vy=qE0mt1=qE1mt2与v0(t1+t2)=2L
联立得E1=2E0即E0=9mv208qL与E1=9mv204qL
(2)粒子进入磁场的速度为v0
若粒子恰好从最左上角偏离,则
R1=a2=mv0qB1
得B1=2mv0qa
若粒子恰好从最右上角偏离,则R22=a2+(R2-a2)2
得R2=54a=mv0qB2
即B2=4mv05qa
综合得4mv05qa<B<2mv0qa
答:(1)E0大小为9mv208qL,E1的大小为9mv204qL;(2)匀强磁场的磁感强度4mv05qa<B<2mv0qa.
本题解析:
本题难度:一般