1、简答题 某同学在研究灯泡的电阻随灯泡两端电压增大而变化的实验中,用伏安法分别测出A、B两个灯泡的伏安特性曲线如图所示.
(1)若用多用表欧姆档测B灯的电阻,其阻值约为______Ω.
(2)若将A灯接在由8节电动势均为2V,内阻均为0.5Ω的电池串联而成的电源两端,A灯的实际功率为______W.
(3)若将A灯和B灯并联接在上述电源两端,B灯的实际功率为______W.
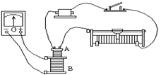
2、实验题 用如图装置研究电磁感应现象。在图示情况,当电键闭合瞬时,观察到电流表指针向右偏转,电键闭合一段时间后,为使电流表指针向左偏转,可采用的方法有?

A.将变阻器滑动头向右端滑动。
B.将一软铁棒插入线圈A中。
C.将线圈A从线圈B中拔出。
D.迅速断开电键。
3、实验题 某同学用一直流电流表0.6 A档测量电流时,测得的结果如图甲所示,则该电流表读数I=?A。另一位同学用20分度游标卡尺测一工件的长度,结果如图乙所示,则该工件的长度L=____cm。
4、实验题 用多用电表探测由图所示黑箱发现:用直流电压挡测量,E、G两点间和F、G两点间均有电压,E、F两点间无电压;用欧姆档测量,黑表笔(与电表内部电源的正极相连)接E点,红表笔(与电表内部电源的负极相连)接F点,阻值较小,但反接阻值很大。那么,该黑箱内元件的接法可能是图下中的?。

5、实验题 在“描绘小灯泡的伏安特性曲线”实验中,要测量一个标有“3 V,1.5 W”的灯泡两端的电压和通过灯泡的电流。现有如下器材:
A.直流电源3V(内阻可不计)
B.直流电流表0-3 A(内阻0.l Ω)
C.直流电流表0-600 mA(内阻约5 Ω)
D.直流电压表0-3 V(内阻约3 kΩ)
E.直流电压表0-15 V(内阻约200 kΩ)
F.滑动变阻器10Ω、1A
G滑动变阻器l kΩ、300 mA
(1)除开关、导线外,为了完成实验需要从上述器材中选用____(用序号字母表示)。
(2)若某同学用导线a、b、c、d、e,f、g和h按如图所示的电路连接,电路中所有元器件都完好,且电压表和电流表已调零。闭合开关后,发现电压表的示数为2V,电流表的示数为零,小灯泡不亮,则判断断路的导线为____;若电压表的示数为零,电流表的示数为0.3 A,小灯泡亮,则断路的导线为____;若反复调节滑动变阻器,小灯泡亮度发生变化,但电压表、电流表的示数不能调为零,则断路的导线为____。

(3)下表中的各组数据是此学习小组在实验中测得的,根据表格中的数据在下图方格纸上作出该灯泡的伏安特性曲线。

(4)若将该灯泡与一个10 Ω的定值电阻串联,直接接在题中电源两端,则可以估计该小灯泡的实际功率为____(保留两位有效数字)。