1.9 5
参考答案:(1) (2)平均速度v≈2.18m/s (3)图线如下图
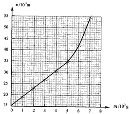
 平均速度和下落高度的函数关系为
本题解析:(1)水滴在空中运动时间 ,所以 (2)将h=1m、n=20、t=8.7s代入平均速度 得v≈2.18m/s (3)求出速度的平方如下表 次数 1 2 3 4 5 6 高度 h(m) 0.2 0.3 0.4 0.5 0.6 0.8 平均速度 v(m/s) 0.97 1.19 1.38 1.54 1.68 1.95 平均速度平方 0.94 1.42 1.90 2.37 2.82 3.80 采用描点法作图.先根据表格中每组数据,在坐标轴上描点,再用平滑的曲线将点拟合起来,
图象如下,
 由图线可得可得出平均速度和下落高度的函数关系为 点评:本题找平均速度和下落高度的函数关可以用图像法,一般只有直线才能得出准却函数关系,所以要多假设几种函数关系,画出图像,选取合适的找出函数关系。
本题难度:一般
2、实验题 某同学用如图所示装置做探究弹力和弹簧伸长关系的实验。他先测出不挂砝码时弹簧下端指针所指的标尺刻度,然后在弹簧下端挂上砝码,并逐个增加砝码,测出指针所指的标尺刻度,所得数据列表如下:(重力加速度g=9.8m/s2)
? 
(1)根据所测数据,在坐标纸上作出弹簧指针所指的标尺刻度底与砝码质量m的关系曲线; (2)根据所测得的数据和关系曲线可以判断,在__________范围内弹力大小与弹簧伸长关系满足胡克定律,这种规格弹簧的劲度系数为__________N/m。

参考答案:(1) (2)0~4.9,25.0
本题解析:
本题难度:一般
3、实验题 某同学在探究小车速度随时间变化的规律时,对打出的一条纸带进行研究,从O点开始每5个打点作为一个计数点(中间4个打点未画出),计数点分别为A、B、C、D、E,该同学已求出各计数点速度,其数值见下表。
计数点
| A
| B
| C
| D
| E
| 速度/(m·s-1)
| 0.50
| 0.71
| 0.91
| 1.10
| 1.29
|

 (1)若以O点为计时起点,根据以上数据在所给的坐标纸中作出小车的v-t图线; (2)由所作图象求出: ①计数点O对应的速度大小?m/s; ②小车的加速度大小?m/s2。
参考答案:(1)如图所示?(2)①0.30m/s?②2. 0m/s2

本题解析:在图中描出A、B、C、D、E各点的速度,连出一条直线,求出斜率,即小车的加速度a="2." 0m/s2, ,t=0.1s,解得
本题难度:一般
4、实验题 “验证力的平行四边形定则”的实验情况如图甲所示,其中A为固定橡皮筋的图钉,O为橡皮筋与细绳的结点,OB和OC为细绳.图乙是在白纸上根据实验结果画出的图.
 (1)如果没有操作失误,图乙中的F与F′两力中,方向一定沿AO方向的是________.? (2)本实验采用的科学方法是________. A.理想实验法 B.等效替代法 C.控制变量法 D.建立物理模型法
参考答案:(1)____F’_________(2分)? (2)____B_________(2分)
本题解析:(1)当采用一个弹簧称做实验时,弹簧的拉力一定沿着OA方向(2)本实验采用的科学方法是等效替代法,B对;
本题难度:简单
5、实验题 用如图所示装置通过半径相同的A、B两球(质量分别为mA、mB)的碰撞来验证动量守恒定律.实验时先使A球从斜槽上某一固定位置G由静止开始滚下..落到位于水平地面的记录纸上,留下痕迹.重复上述操作10次,得到10个落点痕迹.再把B球放在水平槽上靠近槽末端的地方,让A球仍从位置G由静止开始滚下,和B球碰撞后,A,B球分别在记录纸上留下各自的落点痕迹.重复这种操作10次,得到如图所示的三个落点.用刻度尺分别测量三个落点的平均位置离O点的距离,即线段OM、OP、ON的长度.
 ①两小球的质量关系应为mA ___________ mB?(选填"大于”“小于”或“等于”). ②碰撞过程中动量守恒,则由图可以判断出N是_____球的落点,P是_____球的落点. ③用题中的字母写出动量守恒定律的表达式__________.
参考答案:①大于?②B,A? ③
本题解析:(1)为了使两球在落地时,能拉开距离方便测量,所以A球的质量大于B球的质量, (2)碰撞后小球B在前,A在后,并且碰撞后A球的速度小于碰撞前的速度,故M点为碰撞后A球的落地点,P为碰撞前A球的落地点,N为B球的落地点, (3)根据动量守恒可得 ,因为下落高度相同,所以时间相等,所以
本题难度:一般
|