微信搜索关注"91考试网"公众号,领30元,获取公务员、事业编、教师等考试资料40G!
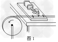
1、实验题 一个有一定厚度的圆盘,可以绕通过中心垂直于盘面的水平轴转动。用下面的方法测量它匀速转动的角速度。实验器材:电磁打点计时器,米尺,纸带,复写纸片。实验步骤:
①如图1所示,将电磁打点计时器固定在桌面上,将纸带的一端穿过打点计时器的限位孔后,固定在待测圆盘的侧面上,使得圆盘转动时,纸带可以卷在圆盘侧面上;
②启动控制装置使圆盘转动,同时接通电源,打点计时器开始打点;
③经过一段时间,停止转动和打点,取下纸带,进行测量。如图2所示,该同学在纸带上打的点上方标上了字母a、b、c、d…。
(1)由已知量和测得量表示的角速度的表达式ω=____________,式中各量的意义是:____________;
(2)某次实验测得圆盘半径r =5.50×10-2 m,得到的纸带的一段如图2所示。求得角速度为____________。(保留两位有效数字)


2、选择题 关于匀速圆周运动的物体的线速度、角速度、周期的关系,下面说法中正确的是(?)
A.角速度大的周期一定小
B.线速度大的角速度一定大
C.线速度大的周期一定小
D.角速度大的半径一定小
3、选择题 正常走动的钟表,其时针、分针、秒针都做匀速转动.下列关系中正确的有( )
A.秒针角速度是时针角速度的720倍
B.分针角速度是时针角速度的12倍
C.秒针角速度是分针角速度的60倍
D.分针的周期是时针周期的12倍
4、选择题 如图所示为一皮带传动装置,右轮的半径为r,a是它边缘上的一点;左侧是一轮轴,大轮的半径是4r,小轮的半径为2r.b点在小轮上,到小轮中心的距离为r.c点和d点分别位于小轮和大轮的边缘上.传动过程中皮带不打滑.则下列说法中正确的是( )
A.a点与b点的线速度大小相等
B.a点与b点的角速度大小相等
C.a点与c点的线速度大小相等
D.a点与d点的向心加速度大小不相等