微信搜索关注"91考试网"公众号,领30元,获取公务员、事业编、教师等考试资料40G!
1、选择题 如图10-3-9所示,固定容器及可动活塞都是绝热的,中间有一导热的固定隔板B,B的两边分别盛有气体甲和乙.现将活塞P缓慢地向B移动一段距离,已知气体的温度随其内能的增加而升高,则在移动P的过程中(?)

图10-3-9
A.外力对乙做功;甲的内能不变
B.外力对乙做功;乙的内能不变
C.乙传递热量给甲;乙的内能增加
D.乙的内能增加;甲的内能不变
2、选择题 关于热力学定律,下列说法正确的是( )
A.在一定条件下物体的温度可以降到0K
B.物体从单一热源吸收的热量可全部用于做功
C.吸收了热量的物体,其内能一定增加
D.压缩气体总能使气体的温度升高
3、填空题 如图所示,一定质量的理想气体从状态A变化到状态B,再由状态B变化到状态C,在由状态A变化到状态B的过程中,气体内能?(选填“增加”、“减少”或“不变”),状态由A到B再到C的整个变化过程中,气体?热量(选填“吸收”或“放出”);

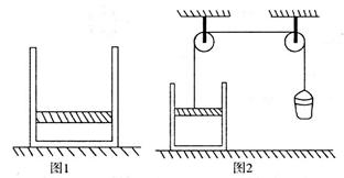
4、简答题 如图l所示,导热性能良好的气缸放置在水平平台上,活塞质量为10 kg,横截面积50 cm2,厚度l cm,气缸全长25 cm,气缸质量20 kg,大气压强为1×105Pa,当温度为17℃时,活塞封闭的气柱长10 cm。现在用一条细绳一端连接在活塞上,另一端通过两个光滑的定滑轮后连接在一个小桶上,如图2所示。开始时活塞静止。现不断向小桶中添加细沙,使活塞缓慢向上移动(g取l0m/s2)

①通过计算判断气缸能否离开台面。
②活塞缓慢向上移动过程中,气缸内气体是________(填“吸热”或放热“),气体的内能__________(填“增加”或“减少”或“不变”)
5、选择题 一定质量的气体(不计气体分子间相互作用的引力和斥力),其温度由T1升高到T2的过程中( )
A.如果气体体积膨胀并对外界做功则分子平均动能可能会减少
B.如果气体体积不变,则分子平均动能可能不变
C.气体可能吸热,内能一定增加
D.气体可能放热,内能一定增加