| 高考省级导航 | |
|
|
|
高考地理高频考点《水的运动》高频试题强化练习(2019年最新版)(七)
A.水土流失现象加剧 B.修建水库数量增多 C.河流沿岸大规模挖砂 D.近十年降水持续偏多 |
2、单选题 读下图,回答1—2题。
1、若此图示意海陆间水循环,则
[? ]
A.乙为海洋,甲为陆地
B.我国的夏季风属环节②
C.环节④能给陆地补充淡水
D.环节①一定能造成黄土高原的千沟万壑
2、若此图表示水平大洋环流,甲、乙两地全年昼夜基本上平分,则该环流中易形成规模较大的渔场的是
[? ]
A.甲地
B.乙地
C.丙地
D.丁地
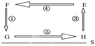
3、单选题 构建模式图,探究地理基本原理、过程、成因及规律,是学习地理的方法之一。读图,回答下列各题。
【小题1】如果该图为海陆间水循环模式,S线代表地球表面,则( )
A.环节①参与地表淡水资源的补给
B.环节②是陆地自然带形成的基础
C.环节③使大洋表面海水的盐度降低
D.环节④的运动距离与下垫面无关
【小题2】如果该图为世界洋流模式的南半球部分,S线代表纬线,则( )
A.洋流①对沿岸气候有降温、减湿作用
B.洋流②为西风漂流
C.洋流③对沿岸气候有增温、增湿作用
D.洋流④为赤道逆流
4、单选题 我国内流河的主要特点是(?)
A.多为季节性河流
B.河流水量季节变化不明显
C.以降水补给为主
D.流量从上游到下游逐渐增加
5、单选题 下图是自然环境某物质循环的局部示意图,读图完成1 ~2 题。
1.若该图是水循环的局部示意图,其中椭圆表示海洋,则箭头②可能表示
[?]
A.地表径流?
B.地下径流?
C.大气降水?
D.蒸发
2.若该图是岩石圈物质循环的局部示意图,其中椭圆代表沉积岩,则①表示
[?]
A.岩浆活动?
B.变质作用?
C.外力作用?
D.地壳运动
| 【大 中 小】【打印】 【繁体】 【关闭】 【返回顶部】 | |
| 下一篇:高考地理试卷《地球》高频考点强.. | |