| 高考省级导航 | |
|
|
|
高考地理试卷《太阳对地球的影响》高频试题强化练习(2019年最新版)(三)
A.黄赤交角为0度 B.拉萨比重庆自转线速度大 C.沈阳与哈尔滨同时日出 D.海口正午影长达一年中最长 |
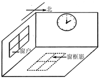
2、单选题 下图表示我国某地房屋内的光照情况,据图判断该地的经度大约是( )
A.90°E
B.150°E
C.146°E
D.86°E
3、单选题 图中a为南半球的一段纬线,b为晨昏线,c为经线。据图回答下列问题。
【小题1】.若M、P两点重合,且离南极点距离最大,PM为西经60°,此时( )
A.上海刚好日出
B.P点昼长为12小时
C.M点的夜长可能为24小时
D.伦敦正值上班高峰期
【小题2】.若M点在极点与P点之间来回移动,则当M、P两点相距最远时( )
A.北京昼夜等长
B.地球公转速度最快
C.长江中下游地区进入梅雨期
D.南极点的太阳高度为23°26′
4、单选题 下面是以北极为中心的图,斜线部分是10月8日,表示铁岭10月9日2时的应是( )
5、综合题 下图为地球日照图,图中阴影部分表示黑夜,据图完成回答下列问题。(12分)
⑴ 在图中圆外短线上标出地球自转方向。
⑵ 该图为北半球 (节气)的太阳光照图。
⑶ A与B相比,自转线速度较大的是 ,该日正午太阳高度较大的是 ,该日白昼时间较长的是 。
(4)该日A地正午物体影子朝向是
| 【大 中 小】【打印】 【繁体】 【关闭】 【返回顶部】 | |
| 下一篇:高考地理题《地球运动及其地理意.. | |