1、综合题 阅读下列材料和图,回答问题。
材料一:人口产业结构是指经济活动人口在不同产业部门人数的分配比重,是一个国家经济发展水平的标志。下面的左图为我国部分省区人口产业结构分布图(图例中的数据为第二、三产业从业人口占从业总人口的比重)。
材料二:湖南省被誉为“有色金属之乡”,已探明储量的有色金属有37种,其中锑的储量居世界首位,钨、铋、铅锌的储量也很丰富。湖南省有色金属冶炼工业基础较好,株洲有规模大、技术先进的铅锌冶炼厂。上面的右图为湖南省有色金属工业分布示意图。下表为湖南部分地区有色金属储量分布表。
(1)我国人口产业结构比重最高的省级行政区有____________________,其人口产业结构比重高的原因是_____________________________。
(2)图中a、b两个箭头中,代表目前人口迁移的是_____________,代表目前产业转移的箭头是___________________,这种迁移会使湖南省的人口产业结构_____________(增大或减小)。
(3)分析上述产业转移对湖南省未来人口迁移和城市化的影响。
___________________________________________________________________________________________
(4)湖南省有色金属矿产资源的特点有哪些?比较分析湘东和湘南地区发展有色金属工业的有利条件。
?___________________________________________________________________________________________
参考答案:(1)上海、北京、天津、广东、辽宁;经济发达,产业种类多,工作岗位多
(2)h;a;增大
(3)工业化进程加快,就业机会增加,收入水平提高。向发达地区迁移的人口减少,其他地区迁入湖南省的人口增加。省内农村人口向城镇迁移加快,城镇规模扩大,城市化水平不断提高。
(4)种类多,储量大,分布不均。湘东地区:工业基础较好,科技水平较高;交通便利。湘南地区:有色金属矿产:储量丰富;水能丰富。
本题解析:
本题难度:困难
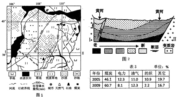
2、综合题 图1为我国某区域示意图,图2为1中ⅠⅡ两点连线的地质剖面示意图,表3为乙市工业产值构成表。完成下列问题。
(1)说出该区域自然环境特征和农业土地利用类型。你认为沙地和旱地在生态环境治理中应分别采取的主要措施是什么?
___________________________________________________________________________________________
(2)甲地是我国“西气东输”重要的气源地,说出形成该气源地的地质构造和岩石类型。
___________________________________________________________________________________________
(3)简述乙市工业结构特点,并解释原因。
___________________________________________________________________________________________
参考答案:(1)自然环境特征:内陆地区;高原地形;气候较干旱;植被稀少等。
农业利用类型:耕地和牧草地。
治理措施:沙地——治沙和合理利用草场;旱地——水土保持。
(2)地质构造:向斜构造;岩石类型:沉积岩。
(3)以煤炭、电力、油气等重工业为主,轻纺工业比重较小。重工业比重提高,轻工业比重降低。该市煤炭、油气资源丰富,工业对矿产资源的依赖性更强。
本题解析:
本题难度:一般
3、单选题 “东桑西移”是指我国将逐步把蚕茧主产区从东部地区向西部地区转移的桑蚕产业发展战略,即国家结合西部大开发战略,充分发挥东部沿海地区桑蚕老企业的技术和资金优势,将桑蚕产业重心向中西部地区转移。2011年,商务部将会同财务部投入1亿资金支持“东桑西移”工程。据此回答1~3题。
1、我国传统的桑蚕基地不包括下图中的

[? ]
A、A处
B、B处
C、C处
D、D处
2、相对于东部沿海地区来说,中西部地区的优势主要在于
[? ]
A、水热条件
B、资金和技术
C、市场
D、土地和劳动力价格
3、蚕丝生产属于
[? ]
A、原料导向型产业
B、市场导向型产业
C、技术导向型产业
D、动力导向型产业
参考答案:1、D
2、D
3、A
本题解析:
本题难度:一般
4、综合题 读我国某区域图(下图),完成下列要求。

(1)甲山地是我国一座名山,分析说明该山的主要成因。
? _________________________________________________________________________________________
(2)近年来,该地旅游业发展迅速,分析说明其旅游资源开发的有利条件。
? _________________________________________________________________________________________
? _________________________________________________________________________________________
? _________________________________________________________________________________________
参考答案:(1)两个断层之间岩块相对上升形成的块状山地。
(2)该地旅游资源丰富,自然景观优美,如雄伟的泰山;人文景观独特,如“三孔”具有非凡性。地域
? 组合好,集群状况好,游览价值高。距离发达地区近,市场半径小。交通便利,通达度高。环境承载
? 量大,地区接待能力强。(任意答四点)
本题解析:
本题难度:一般
5、单选题 网上流行这样一个帖子,内容如下:北京人说他风沙大,A 地人就笑了;A 地人说他面积大,新疆人就笑了;新疆人说他民族多,B 省人就笑了;B 省人说他地势高,西藏人就笑了;西藏人说他文物多,陕西人就笑了;陕西人说他革命早,江西人就笑了……。据此完成1~3题。
1、关于帖子A?地的说法,正确的是
[?]
A.资源贫乏,经济落后?
B.草原面积广大,有斑点状荒漠化现象
C.河流补给以高山冰雪融水为主?
D.属于我国西部经济地带
2?、关于帖子中省级行政区的叙述,正确的是
[?]
A.A 地的城市化水平比较高?
B.新疆的城市主要分布在盆地内部
C.B 省的烟草业突出,现在花卉种植业发展很快?
D.西藏海拔高,太阳能丰富,城市大多分布在地势高的高原上
3?、关于B?省的说法正确的是
[?]
A.资源贫乏,经济落后?
B .交通条件好,外向型经济突出
C .旅游资源丰富?
D .受地势和距海远近影响,自然环境具有环带状分布的特点
参考答案:1、B
2、C
3、C
本题解析:
本题难度:一般