| 高考省级导航 | |
|
|
|
高考地理题《大气的热状况与大气运动》考点预测(2019年押题版)(二)
A.气温低 B.流量小 C.降水少 D.冰缝多 |
参考答案:
【小题1】B
【小题2】B
本题解析:
【小题1】从题干及图示分析,温暖期分别在公元前2700年-前1300年左右、公元前100-公元200年左右、500年-1000年左右,结合选项只有B项正确。
【小题2】从材料“横穿支离破碎的冰川、冰缝及横渡汹涌的南木扎尔特河都给徒步探险者构成极大威胁”分析,夏季气温高,冰川融化多,多冰缝,而春秋季节气温较低,冰川融化少,更安全,所以选B项。
考点:读图分析能力;徒步探险安全季节的成因
本题难度:一般
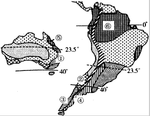
4、综合题 下图是两大洲气候区分布示意图,读图回答下列问题。
(1)图中①、②两地的气候类型分别是_________________、___________。其成因分别是____________
? _________________、_________________________________。
(2)图中③、④两地纬度位置、海陆位置相似,但气候不同,产生这种差异的主要原因是________。
(3)⑤、⑥两地同属热带雨林气候,但面积大小不同。试从大气环流、地形两方面作简要解释。
? _________________________________________________________________________________________
? _________________________________________________________________________________________
参考答案:(1)亚热带季风性湿润气候;地中海气候;海陆热力性质差异;副热带高气压带和西风带交替控制 (2)地形
(3)⑤地常年受东南信风影响;处于大分水岭的迎风坡,平地狭小;⑥地常年受赤道低气压带控制;处
? 于亚马孙平原,平原面积广大。
本题解析:
本题难度:一般
5、单选题 图是“甲乙两区域气候类型分布图”,回答1~3题。
小题1:甲图中①的流向及等温线画法正确的是? (? )
小题2:与乙图中②地沿岸景观形成,关联不大的地理要素是 (? )
A.地形条件
B.洋流影响
C.副热带高压和信风
D.气压带的季节移动
小题3:甲图中所示区域沿岸植被变化(? )
A.雨林——常绿阔叶林——落叶阔叶林
B.草原——荒漠——常绿硬叶林
C.雨林——常绿阔叶林——落叶阔叶林
D.草原——荒漠——常绿硬叶林
小题4:与乙图中③地气候类型相匹配的是(? )?
参考答案:小题1:D小题2:D小题3:C小题4:B
本题解析:1-4题以南美洲、澳大利亚部分区域为背景,考查自然地理核心知识
气候类型的判读是高频考点。南美洲、澳大利亚的气候类型考查频度更高一些,南半球的地中海气候是不可避开的考点。而且区域气候类型多样,原因多样,既有地带性规律,又有非地带性规律,组合在一起,题目更值得咀嚼。
第1题根据轮廓和纬线判读:甲图为澳大利亚东部,①则为东澳大利亚暖流;第2题根据轮廓和纬线判读:乙图为南美洲西岸,②地沿岸景观为荒漠带;第3题澳大利亚东部沿岸气候为热带雨林气候、亚热带季风性湿润气候、温带海洋气候;第4题南美洲西岸③地是南半球的地中海气候。
本题难度:一般
| 【大 中 小】【打印】 【繁体】 【关闭】 【返回顶部】 | |
| 下一篇:高考地理知识大全《地图》答题技.. | |