| 高考省级导航 | |
|
|
|
高中地理知识点大全《地壳物质循环及地表形态的塑造》高频考点特训(2020年必看版)(九)
A.M断层先形成,O地层后形成 B.O地层先形成,N地层后形成 C.C层形成时,该地为陆地环境 D.从E层形成期到F层形成期,海平面上升 |
2、单选题 读徐霞客51~55岁旅行路线示意图,回答小题。
【小题1】下图为某一地段的地形剖面图,该剖面图的位置是 ( )。
A.宜良—河池
B.长沙—南昌
C.杭州—上海
D.江阴—南昌
【小题2】对上题图中所示地貌形成影响最大的是 ( )。
A.流水堆积作用
B.风力侵蚀作用
C.流水溶蚀作用
D.风力堆积作用
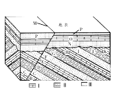
3、综合题 读地质构造图,回答下列问题。(每空2分,共10分)
(1)写出图中地质构造名称:甲?,乙?,丙?。
(2)丙地地质构造顶部岩层缺失的原因是?。
(3)建设地下隧道应选址在甲、乙、丙处的?处为好。
4、单选题 我国某中学地理研究性学习小组进行野外科考,绘制出图中等高线和主要河流图(左图),并于北京时间2014年12月22日13:20在图中丁地测得该日最大太阳高度为42°。读图,回答下列各题。
【小题1】某风电企业准备在图中设立风电发电场,该研究性学习小组提供的最佳参考位置应该是( )
A.甲
B.乙
C.丙
D.丁
【小题2】该研究性学习小组根据相关地质部门资料,绘制出丁到戊的地质统计图(右图),曲线上各数据表示各测量点对应的地下某相同岩层的深度,则可以判断出沿该剖面线为( )
A.背斜山
B.向斜谷
C.背斜谷
D.向斜山
【小题3】下列是该研究性学习小组对该区域的发展提供的参考意见,其中最合理的是( )
A.大力发展旱地小麦生产,提高粮食总产量
B.利用水资源丰富的特点,发展立体化农业
C.加强道路基础设施建设,积极发展休憩业
D.加大当地人口生态搬迁,扩大环境承载力
5、综合题 读图4—16,分析回答:
(1)A、B处谷地对应的甲、乙断面是:A ,B 。
(2)该河 资源丰富,判断的根据是 。
(3)该河源头主要以流水 侵蚀为主,在B以下的河段既有 (侵蚀)作用,也有 (侵蚀)作用。
| 【大 中 小】【打印】 【繁体】 【关闭】 【返回顶部】 | |
| 下一篇:高中地理知识点总结《人类与地理.. | |