微信搜索关注"91考试网"公众号,领30元,获取公务员、事业编、教师等考试资料40G!
1、单选题 下述的地理环境中属于从沿海向内陆的地域分异的是
A.青藏高原的高山植物区
B.加拿大的亚寒带针叶林带
C.秦淮以南的亚热带常绿阔叶林带
D.澳大利亚自东向西呈现出森林、草原、荒漠带的半环状分布
2、单选题 图为“沿海地区山地垂直自然带分布图”,读图回答问题。

该山地可能位于
A.北半球温带地区
B.南半球温带地区
C.北半球亚热带地区
D.南半球亚热带地区
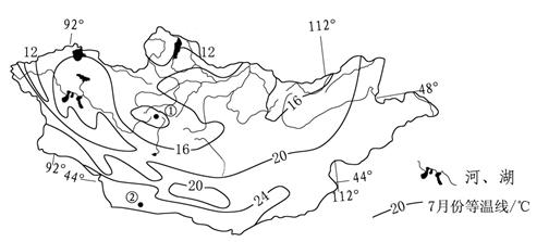
3、单选题 下图示意亚洲某内陆国水系分布和七月份气温分布情况。读图完成题。
1.图中①地的7月均温可能为2.该国3.图中②地的自然带为
A.18℃
B.16℃
C.14℃
D.10℃
E.年降水量南多北少
F.常年受西风带控制
G.东南部地势起伏大
H.水汽主要来自北冰洋
I.温带落叶阔叶林带
G.温带荒漠带
亚寒带针叶林带
高山草甸带
4、单选题 下列地质现象中属于地质构造的是
??????
5、单选题 下列环境或环境构成要素中属于人文地理环境的是
??? ①卧龙大熊猫自然保护区? ②丘陵和低山地区的缓坡梯田? ③内蒙古呼伦贝尔草原
??? ④沿海滩涂? ⑤苏州拙政园和北京颐和园? ⑥人民法院和人民检察院? ⑦北京天安门广场
[???? ]
A、①③④
B、②⑤⑦
C、①②③
D、②⑤⑥⑦