| 高考省级导航 | |
|
|
|
高考地理知识大全《水的运动》试题预测(2017年最新版)(五)
A.北印度洋季风洋流呈逆时针方向流动 B.地球在公转轨道的远日点附近 C.巴西热带草原一片葱绿,生机勃勃 D.我国北方地区出现沙尘天气 |
3、单选题 相同状态下,最有利于地表水下渗的条件是(? )
A.降水强度大,植被稀少
B.降水强度大,植被丰富
C.降水强度小,植被稀少
D.降水强度小,植被丰富
4、综合题 (20分)阅读图文材料,完成下列要求。
材料一?墨西卡利是墨西哥西北边境城市,位于科罗拉多河支流纽河河畔,气候干燥。1937年建成从科罗拉多河引水的莫雷洛斯水坝后,周围地区成为灌溉农业区。墨西卡利被称为“硅谷边境”,美国加州在此建立了芯片制造基地,得到了墨西哥政府的大力支持。
材料二?科罗拉多河三角洲曾经是世界上最著名的沙漠水生生态系统之一,由于该河干、支流上兴建了许多大型引水工程,使科罗拉多河自1993年以后就没有入海河水,河口三角洲环境因此受到严重影响。
材料三墨西卡利位置(如下图所示)
(l)分析墨西卡利发展芯片制造业的有利条件。(8分)
(2)说明墨西卡利建立芯片制造基地对当地社会经济的影响。(6分)
(3)指出科罗拉多河过度引水对河口三角洲生态环境的影响。(6分)
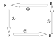
5、单选题 读图完成下题。
1.若该图为海陆间水循环示意图,下列城市中,过程④在一年之中持续时间最长的是2.若该图为太平洋环流示意图,且E、F两地附近全年昼夜等长,则3.当“拉尼娜”发生时,住往会出现的现象是
A.上海
B.鹿特丹
C.孟买
D.开普敦
E.①洋流沿岸地区形成大面积的温带落叶阔叶林
F.②洋流自西向东依次穿过大西洋、太平洋、印度洋
G.③洋流附近形成热带荒漠景观
H.④洋流属于风海流,是东亚和北美太平洋间最佳航线
I.热带太平洋东部暴雨频繁
G.南美太平洋沿岸鱼类大量死亡
东南亚地区持续干旱
亚洲东部沿海台风次数增加
| 【大 中 小】【打印】 【繁体】 【关闭】 【返回顶部】 | |
| 下一篇:高考地理必备知识点《地球与地图.. | |