微信搜索关注"91考试网"公众号,领30元,获取公务员、事业编、教师等考试资料40G!
1、简答题 如图所示,空间内存在着相互正交的匀强电场和匀强磁场,其中匀强电场沿y轴负方向,匀强磁场垂直于xOy平面向里.图中虚线框内为由粒子源S和电压为U0的加速电场组成的装置,其出口位于O点,并可作为一个整体在纸面内绕O点转动.粒子源S不断地产生质量为m、电荷量为+q的粒子(初速不计),经电场加速后从O点射出,且沿x轴正方向射出的粒子恰好能沿直线运动.不计粒子的重力及彼此间的作用力,粒子从O点射出前的运动不受外界正交电场、磁场的影响.
(1)求粒子从O点射出时速度v的大小.
(2)若只撤去磁场,从O点沿x轴正方向射出的粒子刚好经过坐标为(L,-
L)的N点,求匀强电场的场强E;
(3)若只撤去电场,要使粒子能够经过坐标为(L,0)的P点,粒子应从O点沿什么方向射出?
2、实验题 某同学用下列器材测定一节蓄电池的电动势和内电阻,蓄电池的电动势约为3V,内电阻很小。
A.量程是0.6A,内阻约为0.5Ω的电流表;
B.量程是3V,内阻是6 kΩ的电压表;
C.量程是15V,内阻是30kΩ的电压表;
D.阻值为0~1kΩ,额定电流为0.5A的滑动变阻器;
E.阻值为0~10Ω,额定电流为2A的滑动变阻器;
F.定值电阻4Ω,额定功率4W;
G.开关S一个,导线若干。

(1)为了减小实验误差,电压表应选择_________(填器材代号),电路图中的导线应连接到_________(填“①”或“②”),改变滑动变阻器阻值的时候,为了使电压表和电流表的读数变化比较明显,滑动变阻器应选择_________(填器材代号)。
(2)用上问中的实验电路进行测量,读出电压表和电流表的读数,画出对应的U-I图线如图中(a)所示,另有一电阻的U-I图线如图(b)所示。若把该电阻单独与这节蓄电池连接成闭合回路,电源两端的电压为_________v。(结果保留三位有效数字)

3、简答题 如图,将一个小量程电流表G和另一个电阻连接可以改装成电压表或电流表,则甲图对应的是______表,要使它的量程加大,就应该应使R1______(填“增大”或“减小”);乙图是______表,要使它的量程加大,就应该使R2______(填“增大”或“减小”).
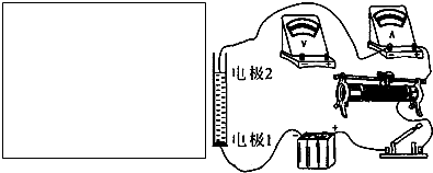
4、简答题 某课外兴趣小组对筼筜湖水质进行调查,需要测量湖水的电阻率,他们先在一根内径为d的长玻璃管两端各装了一个电极(接触电阻不计),两电极相距L,其间充满待测的湖水.并备有如下器材:

A.电压表V(量程3V,内阻约为10kΩ)
B.电流表A1(量程0.6A,内阻约为0.1Ω)
C.电流表A2(量程3mA,内阻约为1.0Ω)
D.滑动变阻器R1(阻值0~1kΩ,额定电流0.1A)
E.滑动变阻器R2(阻值0~20Ω,额定电流1.0A)
F.电池组E(电动势约为6V,内阻不计)
G.开关S和导线若干
H.多用电表
利用所给器材,进行实验操作如下:
①用多用电表粗测待测湖水的阻值,选用倍率为“×100”的电阻档测电阻时,刻度盘上的指针位置如图所示,则所测湖水的阻值R为______Ω.
②为了精确测定待测湖水的阻值R,请在虚线框内画出实验电路图,设计的电路图中,电流表选择______;滑动变阻器选择______.(用器材前面的字母代号表示)
③在上右图中用笔画线代替导线,将实验电路实物图连接完整.
④所测湖水的电阻率表达式是ρ=______.(用R、d、L表示)

5、实验题 (1)某校学习兴趣小组在研究“探索小车速度随时间变化的规律”的实验,图是某次实验得出的纸带,所用电源的频率为50HZ,舍去前面比较密集的点,从0点开始,每5个连续点取1个计数点,标以1、2、3……。各计数点与0计数点之间的距离依次为d1=3cm,d2=7.5cm,d3=13.5cm,则物体通过1计数点的速度v1=?m/s;(3)物体运动的加速度为a =?m/s2.

(2)有一根细长而均匀的金属管线样品,横截面如图甲所示.此金属管线长约30Cm,电阻约10Ω.已知这种金属的电阻率为ρ,因管内中空部分截面积形状不规则,无法直接测量,请你设计一个实验方案,测量中空部分的截面积S0,现有如下器材可选:

A.毫米刻度尺
B.螺旋测微器
c.电流表Al(600mA,约1.0Ω)
D.电流表A2(3A,约0.1Ω)
E.电压表V(3V,6KΩ)
F.滑动变阻器R1(2KΩ,O.5A)
G.滑动变阻器R2(10Ω,2A)
H.蓄电池E(6V,O.05 Ω )
I.开关一个,带夹子的导线若干
(1)上列器材中,应选用的器材有____________
(只填代号字母).
(2)在上面方框中画出你所设计的电路图,并把图乙的实物连成实际测量电路,要求尽可能测出多组有关数值.

(3)实验中要测量的物理量有: ,计算金属管线内部空问截面积S0的表达式为:S0=