微信搜索关注"91考试网"公众号,领30元,获取公务员、事业编、教师等考试资料40G!
1、选择题 正在水平路面上行驶的汽车车厢底部有一质量为m1的木块,在车厢的顶部用细线悬挂一质量为m2的小球,某段时间内,乘客发现细线与竖直方向成θ角,而木块m1则始终相对于车厢静止,由此可以判断

[? ]
A.这段时间内,汽车可能正在向左匀加速行驶
B.这段时间内,汽车可能正在向右匀加速行驶
C.这段时间内,木块对车厢底部的摩擦力大小为m1gtanθ
D.这段时间内,木块对车厢底部的摩擦力为零
2、选择题 如图所示,一轻弹簧两端分别连接物体a、b。第一种情景:在水平力F1的作用下a、b共同向右匀变速运动,此时弹簧的长度为l1;第二种情景:在沿斜面向上的力F2的作用下a、b共同向上匀变速运动,此时弹簧的长度为l2。若物体a、b与接触面的摩擦因数相同,则轻弹簧的原长为

[? ]
A.
B.
C.
D.
3、选择题 狗拉着雪撬在水平冰面上沿着圆弧形的道路做逆时针的匀速圆周运动,下图为四个关于雪橇受到的牵引力F及摩擦力f的示意图(O为圆心),其中正确的是 ( ?)

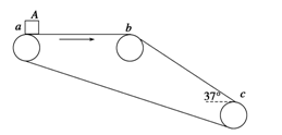
4、计算题 (15分)如图15所示,传送带的水平部分ab=2m,斜面部分bc=4m,bc与水平面的夹角α=37°。一个小物体A与传送带的动摩擦因数μ=0.25,传送带沿图示的方向运动,速率v=2 m/s.若把物体A轻放到a处,它将被传送带送到c点,且物体A不会脱离传送带.求物体A从a点被传送到c点所用的时间.(已知:sin 37°=0.6,cos 37°=0.8,g=10 m/s2) 
5、选择题 用绳子将一物体吊在电梯天花板上,在下列四种情况中,绳子拉力最大的是( )
A.电梯匀速上升
B.电梯匀加速上升
C.电梯匀速下降
D.电梯匀加速下降