微信搜索关注"91考试网"公众号,领30元,获取公务员、事业编、教师等考试资料40G!
1、实验题 (8分)在“研究单摆周期和摆长的关系”实验中:

(1)已有器材如下:铁架台(带铁夹)、中心有孔的小金属球、约1m
长的细线、米尺和游标卡尺,实验还缺少的器材是 。
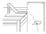
(2)某同学按如图所示的装置进行实验,甲乙两图是从不同角度对同一装置拍摄所得的效果图,甲图为摆球静止在平衡位置的情形,乙图为摆球振动过程中某一时刻的情形,请指出该同学的实验装置或实验操作中2个不妥之处:
① ②
参考答案:(1)秒表 (2) ①细线缠绕在铁架上而不是用夹子夹;②摆角过大。
本题解析:“研究单摆周期和摆长的关系”实验需要用秒表测量单摆摆动50个周期的时间,计算出周期。摆线悬点必须固定不动,摆角摆线小于10°。
本题难度:一般
2、实验题 在“研究平抛物体的运动”实验中

(1) 利用图所示装置,测定平抛初速时,应注意:在安装斜槽轨道时,除了要使斜槽处于竖直平面内,还应使 ;小球每次均应从 静止释放。
(2)如图所示是在“研究平抛物体的运动”的实验中记录的一段轨迹。已知物体是从原点
水平抛出,经测量
点的坐标为(60,45).则平抛物体的初速度
,物体经过B点时的速度
(
)
参考答案:斜槽末端水平、同一位置、2 
本题解析:(1) 平抛运动的初速度一定要水平,因此为了获得水平的初速度安装斜槽轨道时要注意槽口末端要水平.为了保证小球每次平抛的轨迹都是相同的,这就要求小球平抛的初速度相同,因此在操作中要求每次小球能从同一位置静止释放.
(2)平抛运动在竖直方向上做自由落体运动,即
,故到C点时运动时间为:
,物体在竖直方向上做匀速直线运动,所以
经过B点时,物体运动时间为
,根据
可得在B点竖直方向上的速度为:
,根据速度的合成可得
考点:考查了平抛运动
点评:熟练掌握平抛运动的规律,利用其规律解决实际问题,同时要加强动手实验,深刻理解该实验中的注意事项.
本题难度:一般
3、实验题 在做“测定金属的电阻率”的实验时,有位同学按图所示电路进行连线,他共用7根导线:ab、cd、ef、ff
参考答案:
本题解析:
本题难度:一般
4、实验题 (如图甲所示为测量电动机转动角速度的实验装置,半径不大的圆形卡纸固定在电动机转轴上,在电动机的带动下匀速转动. 在圆形卡纸的旁边垂直安装一个改装了的电火花计时器.

(1)请将下列实验步骤按先后排序: .
A.使电火花计时器与圆形卡纸保持良好接触
B.接通电火花计时器的电源,使它工作起来
C.启动电动机,使圆形卡纸转动起来
D.关闭电动机,拆除电火花计时器;研究卡纸上留下的一段痕迹(如图乙所示),写出角速度
的表达式,代入数据,得出
的测量值
(2)要得到
的测量值,还缺少一种必要的测量工具,它是 .
A.秒表 B.毫米刻度尺 C.圆规 D.量角器
(3)写出角速度
的表达式,并指出表达式中各个物理量的意义:
.
参考答案:(1)ACBD(2分) (2)D (3)
(θ为n个点对应的圆心角,t为时间间隔) (2分)
本题解析:(1)该实验步骤中必须让电动机带动卡纸匀速转动,然后接通电火花计时器,因为要测量电动机转动的角速度,不能让电动机不动之前,就接通电火花计时器,这一点很特别。因此次序是ACBD。
要测量角速度,根据角速度的定义
,除了用电火花计时器测量时间之外,还需要一种仪器测量角度,因此选项D正确。
,其中θ为n个点对应的圆心角,t为时间间隔。
考点:本题考查圆周运动角速度的概念和对电火花计时器的基本使用方法。
本题难度:一般
5、实验题 如图所示是测量物体沿斜面匀加速下滑的加速度的实验装置,下图是打点计时器打出的纸带。
(1) 已知纸带上各相邻点的时间间隔为T,则小车运动的加速度大小的表达式为 。(用所给的字母表示)
(2) 若已知小车释放位置距桌面的高度h和到斜面底的距离L,重力加速度为g,小车的质量为m,测出的
小车加速度大小为a,则可以得出斜面对小车的阻力的表达式为 。

参考答案:(S6 + S5 + S4 )- (S3 + S2+ S1)/9T2 (4分) (mgh/L)-ma (4分)
本题解析:略
本题难度:一般