1、选择题 同步卫星离地心距离r,运行速率为V1,加速度为a1;地球赤道上的物体随地球自转的向心加速度为a2,线速度为V2;在近地圆轨道上运行的卫星的向心加速度为a3,线速度为V3。已知地球半径为R,则(?)
A.a1/a2=r/R;
B.a1>a2> a3;
C.V1/V2=R/r;
D.V1>V2> V3
2、选择题 地球和木星绕太阳运行的轨道都可以看作是圆形的。已知木星的轨道半径约为地球轨道半径的5.2倍,则木星与地球绕太阳运行的线速度之比约为
[? ]
A. 0.19
B. 0.44
C. 2.3
D. 5.2
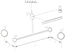
3、简答题 卡文迪什利用如图所示的扭秤实验装置测量了引力常量G.(多选题)为了测量石英丝极微的扭转角,该实验装置中采取使“微小量放大”的主要措施______
(A)减小石英丝的直径
(B)增大T型架横梁的长度
(C)利用平面镜对光线的反射
(D)增大刻度尺与平面镜的距离.
4、选择题 一星球半径和地球半径相同,它的表面重力加速度是地球表面重力加速度的2倍,则该星球质量是地球质量的(忽略地球、星球的自转)(?)
A.2倍
B.4倍
C.8倍
D.16倍
5、选择题 经长期观测人们在宇宙中已经发现了“双星系统”,“双星系统”由两颗相距较近的恒星组成,每个恒星的线度远小于两个星体之间的距离,而且双星系统一般远离其他天体。如图所示,两颗星球组成的双星,在相互之间的万有引力作用下,绕连线上的O点做周期相同的匀速圆周运动。现测得两颗星之间的距离为l,质量之比为m1∶m2=3∶2。则可知

[? ]
A.m1、m2做圆周运动的线速度之比为2∶3
B.m1做圆周运动的半径为
L?
C.m1、m2做圆周运动的角速度之比为3∶2
D.m2做圆周运动的半径为
L