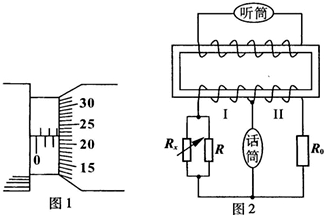
1、简答题 (1)图1中螺旋测微器的读数为______.
(2)原始的电话机将听筒和话筒串联成一个电路.当自己对着话筒讲话时,会从听筒中听到自己的声音,导致听觉疲劳而影响通话.现代的电话将听筒电路与话筒电路分开,改进的电路原理示意图如图2所示,图2中线圈Ⅰ与线圈Ⅱ匝数相等,R0=1.2kΩ,R=3.6kΩ,Rx为可变电阻.当Rx调到某一值时,从听筒中就听不到话筒传出的声音了,这时Rx=______kΩ.
(3)在测量电阻的实验中,提供的器材有:3V稳压电源E、滑线变阻器R、电压表V、电流表A、待测电阻Rx,以及开关S、导线等.要求:①电流表内接;②调节滑线变阻器可使电压表的示数在0V~3V间变化.在实验中,有的同学连成图3、图4所示的电路,其中a、b、c、…,k是表示接线柱的字母.请将图3、图4中接线错误(用导线两端接线柱的字母表示)、引起的后果、改正的方法(改接、撤消或增添),分别填在图下面相应的表格中.


2、选择题 某同学用电流表和电压表测量干电池的电动势和内阻时,所连接电路的实物图如图所示.该同学接线中错误或不规范的做法是()

A.滑动变阻器不起变阻作用
B.电流表的正负接线柱接反
C.电压表的量程选择不当
D.电压表接入电路的位置不当
3、填空题 用伏安法测金属丝的电阻Rx.某小组的同学根据实验室提供的器材设计如图1所示的电路进行实验测量.图2是测量Rx的实验器材实物图,图中已连接了部分导线,滑动变阻器的滑片P置于变阻器的一端.请根据图1所选的电路图,补充完成图2中实物间的连线.

4、实验题 (8分)某同学通过实验研究小灯泡的电压与电流的关系。可用的器材如下:电源(电动势3V,内阻1Ω)、电键、滑动变阻器(最大阻值20Ω)、电压表、电流表、小灯泡、导线若干。
(1)实验中移动滑动变阻器滑片,得到了小灯泡的U-I图象如图a所示,则可知小灯泡的电阻随电压增大而??(填“增大”、“减小”或“不变”)。
(2)根据图a,在图b中把缺少的导线补全,连接成实验电路(其中电流表和电压表分
别测量小灯泡的电流和电压)。


(3)若某次连接时,把AB间的导线误接在AC之间,合上电键,任意移动滑片发现都不能使小灯泡完全熄灭,则此时的电路中,小灯泡可能获得的最小功率是 ?________W(本小题若需要作图,可画在图a中,结果保留两位有效数字)。
5、实验题 (10分)有一只小灯泡上标有“12V 6W”的字样,现在要用伏安法尽量准确测绘这只灯泡的U-I图线。现有下列器材供选用:
A.电压表(0-6V,内阻约10k
)
B.电压表(0-15V,内阻约为25k
)
C.电流表(0-0.6A,内阻为2
)
D.电流表(0-0.6A,内阻约1
)
E.滑动变阻器(10
,3A)
F.电源(电动势为15V,内阻较小)
G.开关、导线
(1)实验中所用电压表应选?,电流表应选用?(用序号字母表示)
(2)为使实验误差尽量减小,并要求从零开始多取几组数据,请在虚线框内画出满足实验要求的电路图。

(3)某同学通过实验得到的数据画出了该小灯泡的U-I图线(如图所示),则上灯泡两端电压为9.0V时,小灯泡的电阻是?
。
(4)如果将此小灯泡与电动势为10V,内阻为7.5
的电源串成一个回路,则灯泡所消耗的电功率为?W。(保留两位有效数字)