| 高考省级导航 | |
| 
 | |
| 高考物理知识点《共点力的平衡》考点特训(2020年冲刺版)(十) 
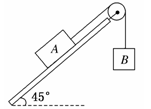
  参考答案: 本题解析: 本题难度:一般 4、选择题  如图所示,质量分别为mA和mB的物体A、B用细绳连接后跨过滑轮,A静止在倾角为45°的斜面上.已知mA=2mB,不计滑轮摩擦,现将斜面倾角由45°增大到50°,系统保持静止.下列说法正确的是(  ) 参考答案:B 本题解析:设mA=2mB=2m,对物体B受力分析,受重力和拉力,由二力平衡得到:T=mg,则绳上力不变,A错误;再对物体A受力分析,受重力、支持力、拉力和静摩擦力,如下图: 本题难度:简单 5、选择题  如图所示,A、B两物体重力都等于10 N,各接触面间的动摩擦因数都等于0.3,同时有F=2 N的两个水平力分别作用在A和B上,A和B均静止,则地面对B和B对A的摩擦力分别为(?) 参考答案:D 本题解析:对AB整体而言,由于水平方向上的两个力F合力为零,所以地面对B无摩擦力作用;对物体A,水平方向有 F=fBA=2N,所以选项D正确。 本题难度:一般 Like author, like book. 书如其人。 | 
| 【大 中 小】【打印】 【繁体】 【关闭】 【返回顶部】 | |
| 下一篇:高考物理试题《电阻和欧姆定律》.. | |