微信搜索关注"91考试网"公众号,领30元,获取公务员、事业编、教师等考试资料40G!
1、选择题 边长为
的正方形金属框在水平恒力作用下,穿过如图2所示的有界匀强磁场,磁场宽度为
,已知
边进入磁场时,线框刚好做匀速运动,则线框进入磁场过程和从磁场另一侧穿出过程相比较,说法正确的是:(?)

A.产生的感应电流方向相同
B.所受安培力方向相反
C.线框穿出磁场产生的电能和进入磁场产生的电能相等
D.线框穿出磁场产生的电能一定比进入磁场产生的电能多
参考答案:D
本题解析:进入磁场过程中磁通量增大,感应电流的磁场向外,穿出磁场时磁通量减小,感应电流的磁场向里,由右手定责可知电流方向相反,A错;安培力的效果总是用来阻碍磁通量的变化,所以两个过程安培力的方向都是水平向左,B错;穿入磁场时由于线框匀速运动,拉力F做功转化为焦耳热,穿出磁场时速度较大,穿出过程中线框动能减小量和拉力做功转化为焦耳热,所以C错;D对;
本题难度:简单
2、选择题 如图所示,在PQ、QR区域存在着磁感应强度大小相等、方向相反的匀强磁场,磁场方向均垂直于纸面,bc边与磁场的边界P重合。导线框与磁场区域的尺寸如图所示。从t=0时刻开始线框向右匀速横穿两个磁场区域。以a→b→c→d→e→f为线框中电流的正方向。以下四个i-t关系示意图中正确的是( )


参考答案:C
本题解析:在第一阶段,只有bc切割向外的磁感线,由右手定则知感应电流为负方向,大小为
;在第二阶段,bc切割向里的磁感线,感应电流为逆时针方向,同时de切割向外的磁感线,感应电流为顺时针方向,则等效感应电流为零;在第三阶段,de切割向里的磁感线同时af切割向外的磁感线,两个电动势同为逆时针方向,等效电流为正方向,大小为
;在第四阶段,只有af切割向里的磁感线,电流为负方向,等效感应电流为
.故C正确,A、B、D错误.故选C.
考点:法拉第电磁感应定律;右手定则.
本题难度:一般
3、选择题 闭合电路中产生的感应电动势的大小,跟穿过这一闭合电路的下列哪个物理量成正比
[? ]
A、磁通量
B、磁感应强度
C、磁通量的变化率
D、磁通量的变化量
参考答案:C
本题解析:
本题难度:简单
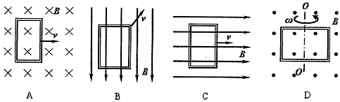
4、选择题 如图所示,矩形线框在磁场内做的各种运动中,能够产生感应电流的是(?)
参考答案:D
本题解析:要使线圈中产生感应电流,则穿过线圈的磁通量要发生变化.题中只有D中通过线圈的磁通量变化,能够产生感应电流,D正确。
故选:D
点评:穿过线圈的磁通量,可以假想成穿过线圈磁感线的条数,则当条数发生变化时,必有感应电动势出现.
本题难度:简单
5、填空题 一闭合线圈有50匝,总电阻R=20Ω,穿过它的磁通量在0.1s内由8×10-3Wb增加到1.2×10-2Wb,则线圈中的感应电动势E=?V,线圈中的电流强度I=?A。
参考答案:2、 0.1
本题解析:由法拉第电磁感应定律有圈中的感应电动势
;
由欧姆定律知线圈中的电流强度
点评:本题的关键掌握法拉第电磁感应定律
和闭合电路欧姆定律。
本题难度:简单
One must draw the line somewhere. 干什么都应有个限度。