微信搜索关注"91考试网"公众号,领30元,获取公务员、事业编、教师等考试资料40G!
1、简答题 在“探究求合力的方法”的实验中,王同学用了两个量程为5N、最小刻度为0.1N的弹簧秤来测量拉力.实验之前他先检查了弹簧秤,然后进行实验:
(1)实验前对弹簧秤进行检查,下列哪些检查是必需的?______.
A.将弹簧秤放在桌面上,进行调零
B.将弹簧秤竖直放置,进行调零
C.将弹簧秤用力拉,看是否能达到最大量程
D.将两只弹簧秤水平互钩对拉,检查两弹簧秤读数是否相同
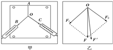
(2)实验情况如图甲所示,其中A为固定橡皮筋的图钉,O为橡皮筋与细绳的结点,OB和OC为细绳.图乙是在白纸上根据实验结果画出的图.图乙中的F与F′两力中,方向一定沿AO方向的是______;本实验采用的科学方法是______(填“理想实验法”、“等效替代法”或“控制变量法”).
参考答案:(1)A、B、弹簧使用之前要进行调零,由于在水平面内做实验,调零时要使弹簧水平放在桌面上,进行调零,故A正确,B错误;
C、在使用弹簧之前不用将弹簧秤用力拉,看是否能达到最大量程,故C错误;
D、同时为了检验两个弹簧是否示数相同,要将两只弹簧秤水平互钩对拉,然后进行读数比较,故D正确.
故选AD.?
(2)F是通过作图的方法得到合力的理论值,而F′是通过一个弹簧称沿AO方向拉橡皮条,使橡皮条伸长到O点,使得一个弹簧称的拉力与两个弹簧称的拉力效果相同,测量出的合力.故方向一定沿AO方向的是F′,由于误差的存在F和F′方向并不在重合;合力与分力是等效替代的关系,所以本实验采用的等效替代法.
故答案为:F′,等效替代法.
本题解析:
本题难度:一般
2、简答题 在探究加速度与物体所受合外力和质量间的关系时,采用如图1所示的实验装置,小车及车中的砝码质量用M′表示,盘及盘中的砝码质量用m表示,小车的加速度可由小车后拖动的纸带由打点计时器打出的点计算出:
①当M与m的大小关系满足______时,才可以认为绳子对小车的拉力大小等于盘和砝码的重力.
②一组同学在先保持盘及盘中的砝码质量一定,探究加速度与质量的关系,以下做法错误的是______
A.平衡摩擦力时,应将盘及盘中的砝码用细绳通过定滑轮系在小车上
B.每次改变小车的质量时,不需要重新平衡摩擦力
C.实验时,先放开小车,再接通打点计时器电源
D.小车运动的加速度可用天平测出m以及小车质量M,直接用公式a=mg/M求出.
③在保持小车及车中的砝码质量M一定,探究加速度与所受合外力的关系时,由于平衡摩擦力时操作不当,二位同学得到的a-F关系分别如图2C、D所示(a是小车的加速度,F是细线作用于小车的拉力).其原因分别是:
C图:______?D图:______

参考答案:(1)该实验的研究对象是小车,采用控制变量法研究.当质量一定时,研究小车的加速度和小车所受合力的关系.那么小车的合力怎么改变和测量呢?为消除摩擦力对实验的影响,可以把木板D的左端适当垫高,以使小车的重力沿斜面分力和摩擦力抵消,那么小车的合力就是绳子的拉力.
根据牛顿第二定律得:
对m:mg-F拉=ma
对M:F拉=Ma
解得:F拉=mMgm+M=mg1+mM
当M>>m时,即当砝码和盘的总重力要远小于小车的重力,绳子的拉力近似等于砝码和盘的总重力.
(2)A、平衡摩擦力时,应将绳从小车上拿去,轻轻推动小车,是小车沿木板运动,通过打点计时器打出来的纸带判断小车是否匀速运动.故A错误.
B、每次改变小车的质量时,小车的重力沿斜面分力和摩擦力仍能抵消,不需要重新平衡摩擦力.故B正确.
C、实验时,应先放开小车,再接通打点计时器电源,由于小车运动较快,可能会使打出来的点很少,不利于数据的采集和处理.故C错误.
D、小车运动的加速度是利用打点计时器测量,如果用天平测出m以及小车质量M,直接用公式a=mgM求出,这是在直接运用牛顿第二定律计算的,而我们实验是在探究加速度与物体所受合外力和质量间的关系.故D错误.
本题选错误的,故选ACD
(3)C图:当F=0时,a≠0.也就是说当绳子上没有拉力时小车就有加速度,该同学实验操作中平衡摩擦力过大,即倾角过大.
D图:从上图中发现直线没过原点,当F≠0时,a=0.也就是说当绳子上有拉力时小车的加速度还为0,说明小车的摩擦力与绳子的拉力抵消呢.该组同学实验操作中遗漏了平衡摩擦力或平衡摩擦力不足这个步骤.即倾角过小
故答案是:(1)M>>m;(2)ACD;(3)倾角过大;倾角过小.
本题解析:
本题难度:一般
3、选择题 物理学的发展丰富了人类对物质世界的认识,推动了科学技术的创新和革命,促进了物质生产的繁荣与人类文明的进步,下列表述不正确的是
A.牛顿发现了万有引力定律
B.相对论的创立表明经典力学已不再适用
C.卡文迪许第一次在实验室里测出了万有引力常量
D.爱因斯坦建立了狭义相对论,把物理学推进到高速领域
参考答案:B
本题解析:解答本题关键是:知道几位科学家的贡献;理解光的波动性和粒子性的几个重要实验;了解相对论的有关知识.
A、牛顿提出了牛顿三定律并发现了万有引力定律,奠定了力学的基础,故A正确;
B、相对论的创立表明经典力学有一定的局限性,故B错误;
C、卡文迪许第一次在实验室里测出了万有引力常量,故C正确;
D、爱因斯坦建立了狭义相对论,把物理学推进到高速领域,故D正确.
故选B.
点评:本题主要考查了学生对物理学史的掌握情况,对于该部分知识要加强记忆,不断积累.
本题难度:简单
4、选择题 有三个共点力,F1=2N,F2=4N,F3=5N,它们的合力F的大小不可能是
[? ]
A.0N
B.5N
C.7N
D.12N
参考答案:D
本题解析:
本题难度:简单
5、选择题 如图所示,水平地面上的物体A在斜向上的拉力F的作用下,向右做匀速直线运动,拉力F与水平面夹角为θ。下列说法中正确的是 :
?
A.物体A一定受到四个力的作用
B.物体A受到的摩擦力大小为Fsinθ
C.拉力F与物体A受到的摩擦力的合力方向一定是竖直向上
D.物体A受到的重力和地面对物体的支持力是一对平衡力
参考答案:AC
本题解析:以A为研究对象受力分析,受重力
,支持力
,摩擦力
和拉力F,A对。物体做匀速直线运动,合力为0,水平方向
,B错。拉力F与物体A受到的摩擦力的合力与重力和支持力合力方向相反,C对。竖直方向合力为0,即重力,支持力与拉力分力的合力为0,所以物体A受到的重力和地面对物体的支持力不是一对平衡力,D错。
本题难度:简单
No man loves his fetters,be they made of gold. 即使是金子做的镣铐,也没有人喜欢。