微信搜索关注"91考试网"公众号,领30元,获取公务员、事业编、教师等考试资料40G!
1、选择题 下列醇既能发生消去反应,又能被氧化为醛的是(? )
2、选择题 下列试剂能用来鉴别乙醇和乙酸的是( )
A.盐酸
B.蒸馏水
C.氯化钠溶液
D.紫色石蕊溶液
3、选择题 为了证明乙醇分子中含有氧原子,现采用一套装置进行实验,试根据下列装置中的试剂及实验现象,回答有关问题:

(1)装置中所装的试剂:①A瓶装无水乙醇,内放无水盐X;
②B干燥管里装生石灰;
③C和D中都装浓H2SO4;
④E瓶装试剂Y;
(2)实验现象及操作:用水浴加热A瓶:将D中浓H2SO4缓缓滴入E中与试剂Y作用,发现C中导管有大量气泡放出;A瓶内X逐渐变色,从B中挥发出的气体可点燃。
回答下列问题:
(1)E瓶里所装的试剂Y是____________。
①饱和食盐水?②MnO2和NaCl的混合物?③浓HCl
(2)D中浓H2SO4所起的作用是_________________,C中浓H2SO4所起的作用是__________。
(3)A瓶中发生反应的化学方程式是____________________;反应类型是___________;所生成的_________(写名称)在B出口处点燃。
(4)无水盐X宜选用__________;它能起指示剂作用的原因是____________________。
(5)此实验能证明乙醇分子中含有氧原子的理由是____________________。
(6)如果将装置中的C瓶去掉能否得出最终结论?____________________。为什么?
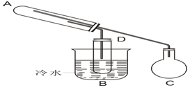
4、实验题 (13分)下图是用来进行乙醇的氧化和检验氧化产物的实验装置。可供选择的试剂有:铜粉、氧化铜粉末、乙醇、新制氢氧化铜浊液、银氨溶液,所需要其它仪器任选。

1.按照实验步骤,填写表格。
序号
| 实验步骤及实验操作
|
步骤一
| 检查装置的气密性
|
? 步骤二
| 装药品:A试管中装入_________;烧瓶C中装入_________;试管D中装入______.
|
步骤三
| 对A,B,C装置进行加热,先后顺序是____________。
|
步骤四
| 当看到?现象时停止加热
|
?2.如何检查该装置的气密性:__________________________________________。
3.C装置除了装反应药品外,为了防止意外,最好还要加些____________________。
4.反应后A试管中产生的现象是____________,D试管中产生的现象___________。
5.写出A、D试管中的化学反应方程式。
A___________________________? D______________________________。
5、选择题 丙烯醇(CH2=CH—CH2OH)可发生的化学反应有 ?
①加成②氧化③燃烧④加聚⑤取代?
[?]
A.?只有①②③?
B.?①②③④
C.?①②③④⑤?
D.?只有①③④