微信搜索关注"91考试网"公众号,领30元,获取公务员、事业编、教师等考试资料40G!
1、填空题 如图所示,是一个制取氯气并以氯气为原料进行特定反应的装置,其中各试剂瓶装的试剂为:B(氢硫酸)、C(溴化亚铁溶液)、D(碘化钾淀粉溶液)、E(混有SO2的氯化钡溶液)、F(水)、H(紫色石蕊试液)。

(1)A是氯气发生装置,其离子反应方程式是:__________。
(2)Ⅰ中b瓶内加入的液体最好是____________。
(3)用图示的Ⅱ或Ⅲ代替Ⅰ是否可行?________,简要说明理由_____________________________。
(4)实验开始时,先点燃A处酒精灯,打开分液漏斗旋塞和Ⅰ处活塞,让氯气充满整个装置,再点燃G处酒精灯,回答下列问题:
①怎样证明氯气已充满整个装置?_____________。
②下列装置中的现象是C______________________;
D________;E____________;F________________。
(5)G装置的硬质玻璃管内盛有碳粉,发生氧化还原反应,其产物为二氧化碳和氯化氢,写出G中反应的化学方程式_______________________。装置F的作用是______________________。
(6)在H处,紫色石蕊试液的颜色由紫色变为红色,再变为无色,其原因是______________________________。
参考答案:(1)MnO2+4H++2Cl-(浓)△Mn2++Cl2↑+2H2O
(2)饱和食盐水
(3)Ⅱ可行,Ⅲ不可行 Ⅱ原理同Ⅰ,而Ⅲ中因c瓶口密封,体积不能改变,压强增大会有危险
(4)①观察,当整个装置内充满黄绿色气体时,说明氯气已充满整个装置
②溶液由浅绿色变为深红棕色 溶液变蓝 生成白色沉淀 溶液变为浅黄绿色
(5)C+2H2O+2Cl2△CO2+4HCl 向G中提供反应所需的水蒸气
(6)生成HCl使紫色石蕊试液变红色,剩余的氯气又与水反应生成HClO,起漂白作用,使红色褪去
本题解析:(2)b瓶的作用是贮存多余的Cl2,试剂最好为饱和食盐水。
(3)Ⅱ原理同Ⅰ,可代替Ⅰ;Ⅲ中c瓶口密封,不安全。
(4)①当黄绿色气体充满整个装置时,说明Cl2充满。
②Cl2有强氧化性,可将Fe2+、Br-、I-、SO2氧化为Fe3+、Br2、I2、SO,故C中溶液由浅绿色变为深红棕色;D中溶液变蓝;E中产生白色沉淀BaSO4;F中由于吸收了Cl2变为浅黄绿色。
(5)C+2H2O+2Cl2△CO2+4HCl,F的作用是提供水蒸气。
(6)生成HCl使溶液变红,剩余Cl2与水反应生成HClO又起漂白作用。
本题难度:简单
2、选择题 下列实验现象的描述错误的是
A.氢气在氯气中燃烧产生苍白色火焰
B.红热的铁丝在氯气中燃烧,火星四射,生成黑色固体颗粒
C.红热的铜丝在氯气中燃烧,产生棕黄色烟
D.钠在空气中燃烧,发出黄色的火焰,生成淡黄色固体
参考答案:B
本题解析:铁在氯气中燃烧,反应非常剧烈,但是生成的不是黑色固体,是产生大量棕褐色的烟,所以B项错误,其余均正确。
本题难度:一般
3、选择题 如图所示,大试管里充满某混合气体,置于光亮处,将滴管里的水挤入大试管后,烧杯中的水会进入大试管,大试管里的气体可能是

①N2、H2;②CO、O2; ③NO2、O2;④CH4、Cl2
A.①或③
B.②或④
C.①或③或④
D.③或④
参考答案:D
本题解析:烧杯中的水会进入大试管,说明大试管中气体体积减少,压强减小造成的;①N2和H2不反应;②CO和O2不反应;③NO2、O2和水能反应,气体体积减小;④CH4和Cl2在光照条件下,发生取代反应,生成液体氯代烃,气体体积减少;满足题意的是③或④,选D。
本题难度:一般
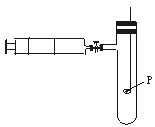
4、填空题 已知SnCl4、SiCl4、AlCl3、PCl3等氯化物在潮湿的空气中打开瓶塞后,都有白雾生成.为清楚地观察磷在Cl2中燃烧,达到PCl3和PCl5分步生成的目的.可预先把干燥的Cl2贮存在100mL的注射器内,再把火柴头大小的红磷置于玻璃燃烧匙上烘干后,组成如图所示的装置.操作时打开弹簧夹,缓缓推动注射器的针塞,待磷燃烧出现白雾时,立即关闭弹簧夹,停止推入Cl2,片刻后,可见到试管内白雾凝成无色液滴附着在试管内壁.然后再打开弹簧夹,继续推入Cl2,就可看到管壁上液滴逐渐消失,管内出现白烟,最后白烟凝结成白色固体附着在试管内壁上.试回答:

(1)该实验选择玻璃燃烧匙,不选其他金属燃烧匙的原因是______________________;
(2)该实验的关键是,使用的Cl2和红磷必须干燥.(请用必要的文字和化学方程式说明)______________________________________;
(3)第二次推入Cl2时发生的反应是(用化学方程式表示)______________,故第一次推入Cl2之所以要缓缓进行的原因是____________________________________.
参考答案:(1)避免金属跟Cl2反应,对实验干扰
(2)PCl3、PCl5遇水生成白雾,Cl2跟H2O反应生成HCl、HClO也有雾生成
PCl3+3H2O====H3PO3+3HCl? Cl2+H2O====HCl+HClO
(3)PCl3+Cl2====PCl5
防止推入过量的Cl2,生成PCl5,观察不到白雾凝成无色液滴的现象
本题解析:铁、铜都会跟Cl2反应:2Fe+3Cl2
2FeCl3,Cu+Cl2
CuCl2.所以不能使用金属燃烧匙做实验;根据PCl3、PCl5在潮湿空气中打开生成白雾,对观察Cl2与P反应生成白雾现象有干扰作用,另外Cl2也会跟水反应生成HCl、HClO也有雾的干扰作用.第一次要通入Cl2少量,第二次足量,若第一次推多了,则形成PCl5,这对观察白雾冷凝成液滴现象产生干扰.
本题难度:一般
5、选择题 美国宇航局“凤凰”号火星登陆器的显微、电子化学及传导分析仪对两份土壤样本的分析发现,火星北极区表层土壤可能含有高氯酸盐,可创造不利于任何潜在生命的恶劣环境。则下列说法错误的是( )。
A.含有高氯酸盐的土壤不利于生命存在与高氯酸盐具有较强的氧化性有关
B.当元素处于最高价态时一定具有强氧化性
C.可以考虑用加入亚铁盐等还原性物质的方法改善这种土壤
D.一定条件下高氯酸盐能与浓盐酸反应生成氯气
参考答案:B
本题解析:本题主要考查氧化还原反应的相关知识。高氯酸盐中氯元素显+7价,由题给情境可知高氯酸盐应有强氧化性,能使蛋白质变性,不利于生命存在,A正确;元素处于最高价态时未必具有强氧化性,如H3PO4,B错误;亚铁盐可还原高氯酸盐生成氯化物,氯化物不具有强氧化性,C正确;高氯酸盐中氯元素显+7价,浓盐酸中氯元素显-1价,二者反应可生成氯气,D正确。
本题难度:一般