| 高考省级导航 | |
|
|
|
高考地理答题技巧《大气的热状况与大气运动》试题巩固(2017年最新版)(十)
A.西北风 B.西南风 C.东北风 D.东南风 |
参考答案:
【小题1】A
【小题2】C
【小题3】D
【小题4】B
本题解析:
【小题1】90°E、50°N的附近地区属于蒙古、西伯利亚地区,读图中气压的数值该地区此时为高压中心,是因海陆热力性质差异,1月陆地气温高于海洋,气流下沉,形成高压。故选A。
【小题2】甲地此时位于高压中心的南侧,受水平气压梯度力影响气流从高压流向低压,同时受地转偏向力的影响,气流右偏形成东北风。故选C。
【小题3】甲地属于热带季风气候,因纬度低,同时1月受东北季风的影响,所以其气候特征受高温少雨。故选D。
【小题4】图示90°E向南穿过印度洋,而乌拉尔山位于60°E附近,新西兰位于170°附近,也不穿过热带雨林区。故选B。
考点:海陆分布对大气环流的影响、季风气候、世界地理的空间分布
本题难度:困难
2、单选题 由于城市人口集中,工业发达,释放出大量废气和废热,导致城市气温高于郊区,从而引起城市和郊区之间的小型热力环流,称之为城市风。读城市风示意图,回答问小题。
1.如果要在图中布局火电厂,为了减少城市风对市区空气的污染,应选择2.根据城市风的原理,今后城市造林的重点应该在3.假若该地位于上海市,图中剖面为东西方向,乙点测到城市热岛环流产生的风向为
A.甲
B.乙
C.丙
D.丁
E.市区
F.远郊
G.郊区
H.农村
I.东北
G.东南
西北
西南
参考答案:1. C
2. C
3. B
本题解析:本题考查热力环流。
1.大气污染企业应布局于城市风的下沉距离之外,则避免近地面的大气污染通过城市风污染城市,故选丙。
2.由于近地面的风由郊区吹向城市,故在郊区植树造林能净化从郊区吹向城市的风。
3.根据图示乙处的风向从东面吹向西面,结合北半球地转偏向力向右偏,故判断形成东南风。
本题难度:困难
3、综合题 读下图,回答下列问题。
(1)如果此图表示大气热力环流,A、D在近地面,B、C在高空,箭头表示空气流动方向,则A、B、C、D四处气压最高的是_______, 气温相对最高的是______。(4分)
(2)如果箭头②表示白天海岸地带的海陆风,则A、D两地表示海洋的是 。(2分)
(3)如果此图表示城郊之间的热力环流,则A、D两地表示城区的是 。(2分)
参考答案:(1)D(2分) A(2分) (2)D(2分) (3)A(2分)
本题解析:(1)若图示表示热力环流,则气压分布的一般规律:垂直方向上,越往高空气压越低;水平方向上,气流始终由高压指向低压,故气压最高的应为近地面的D点。气温分布的一般规律:垂直方向上,越往上气温越低;近地面气温高则盛行上升气流,故A点的气温最高。(2)若图示表示白天的海陆风,则白天由于海陆热力性质的差异,陆地的气温较海洋高,故陆地盛行上升气流,海洋盛行下沉气流,故D处表示海洋。(3)若为城郊环流,则由于城市形成热岛效应,城区始终盛行上升气流,故判断A表示城区。
考点:本题考查大气运动和读图综合分析能力。
点评:本题难度一般,适宜高一基础性测试,具有一定的借鉴意义。掌握热力环流的基本原理和热力环流中气压、气温的一般分布规律是解题的关键,注意掌握白天海陆热力性质的差异,可画图分析更清晰。
本题难度:一般
4、单选题 如图是北半球中纬度地区的大气环流示意图,读图回答1—4题。 
1、若上图表示北半球中低纬度地区的大气环流,图中B代表的是
[? ]
A、副极地低气压带
B、副热带高气压带
C、赤道低气压带
D、极地高气压带
2、若上图仍为北半球中低纬度地区的大气环流,那么地中海气候是因为
[? ]
A、图中A和C的交替作用形成的
B、图中B和C的交替作用形成的
C、图中C的控制下作用形成的
D、图中B的控制下作用形成的
3、若上图表示的水循环示意图,则下列描述正确的是
[? ]
A、B不可能在海洋上
B、E可能是径流输送
C、C一定是径流输送
D、D只出现在陆地上
4、若上图是太平洋上的大洋环流,则出现在这个环流中的渔场是
[? ]
A、北海道渔场
B、北海渔场
C、纽芬兰渔场
D、秘鲁渔场
参考答案:1、C
2、A
3、B
4、A
本题解析:
本题难度:一般
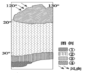
5、单选题 读世界某大陆局部气候类型分布图,完成下列问题。
小题1:当图中北部地区受图中所示盛行风影响时,以下说法正确的是
A.长江中下游地区莺飞草长
B.潘帕斯草原草木枯黄
C.地中海沿岸温和湿润
D.南极附近出现极光
小题2:此季节,对①②③④地气候特点及其成因说法正确的是
A.①地受盛行西风带控制,高温多雨
B.②地受来自低纬内陆的西北风影响,炎热干燥
C.③地受副热带高压的影响,高温多雨
D.④地受副热带高压的影响,炎热干燥
参考答案:
小题1:C
小题2:D
本题解析:
小题1:根据经纬度可以确定图示大陆是澳大利亚的局部区域。澳大利亚北部吹西北风,说明是北半球的冬季,地中海沿岸冬季受来自海洋的西风影响,温和湿润,C选项正确;长江中下游地区莺飞草长是夏季的景观,A选项错误;此时南半球是夏季,潘帕斯草原草类生长茂盛,B选项错误;极光出现在夜空,此时南极附近极昼,不可能出现极光,D选项错误。
小题2:①地是热带草原气候,任何时候不会受盛行西风带控制,A选项错误;②地是热带沙漠气候,受来自内陆的东南信风的影响,B选项错误;C选项的表述自相矛盾,既然受副热带高压的影响,盛行下沉气流,一定晴朗干燥,怎么可能多雨?④地是地中海气候,此时是夏季,受副热带高压的影响,炎热干燥,D选项正确。
本题难度:一般
| 【大 中 小】【打印】 【繁体】 【关闭】 【返回顶部】 | |
| 下一篇:高考地理必备知识点《世界分区地.. | |