| 高考省级导航 | |
|
|
|
高考地理答题技巧《地球》高频试题特训(2019年最新版)(十)
A.甲点 B.乙点 C.丙点 D.丁点 |
参考答案:
小题1:C
小题2:D
小题3:C
本题解析:
小题1:本题考查地球公转的速度。根据图示太阳的位置和地球自转公转的方向判断,此时地球位于近日点附近,地球公转速度快,则丙丁之间包含地球公转运动的远日点,公转速度慢,花费时间长。所以本题选择C选项。
小题2:7月22日位于夏至日之后,图中地球较为接近冬至日,所以丁地接近夏至日。所以本题选择D选项。
小题3:P时位于冬至日之后,太阳直射点位于南半球并且往北移动。则北半球昼短夜长,昼渐长。所以本题选择C选项。
本题难度:简单
3、综合题 某校(北回归线以北)地理课外小组,做了如下实践活动。如下图所示,在该校操场上树立一垂直于地面的旗杆,杆高为h,0P为正午旗杆的影子,OM垂直于OP,测得OP长度为一年中最长,且为h×cot30°。(9分)
(1)?该小组晚上利用望远镜测得当地北极星的高度角为_________________。
(2)?该小组晚上于20时35分观测到某颗恒星位于上中天,则一周后该小组在同一地点观测到该恒星上中天的时刻是_________________。
(3)?M处有一高度为H的楼房,若在其北面建一新楼,欲使新楼底层全年太阳光不被M楼遮挡,两楼至少相距多远?_________________
(4)?在M楼楼顶上要安装太阳能热水器,热水器吸光板(真空管)合理的倾角为_________________和_________________之间。
(5)?当太阳能热水器的吸光板(其倾角可调)的倾角根据需要调至最小时,江苏大部分地区可能正处于_________________(天气系统)的控制之下,出现_________________天气。
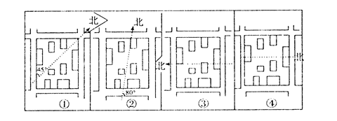
(6)?该活动小组某日参观了当地规划局,发现了规划局为某镇新街街道布局设计的4种方案的图纸(如下图①②③④),请选出可使街道建筑都有较好日照的方案_________________(填出相应的图纸序号)。
参考答案:(1)36°34′(1分)?(2)20时7分28秒(2分) ?(3)H×
? (1分)?(4)13°08′? 60°(2分)?(5)江淮准净止锋?梅雨(2分)?(6)①(1分)
本题解析:本题考查地球自转的特征、意义以及正午太阳高度的计算和应用,第一小题所应用到的基本原理是北半球各地看北极星的仰角等于当地的地理纬度,因此可先依据影长求出正午太阳高度,然后推算出地理纬度。第二小题应明确地球自转的真正周期为一个恒星日,而日常生活作息是以太阳日为单位的,由此作出正确选择。第六小题中,要明白为充分考虑光照条件,街道布局的一般原则是与子午线成30°到60°的夹角。
本题难度:简单
4、单选题 2012 年7 月27 日19 点12 分(零时区区时)第30 届奥运会在伦敦开幕,至8月12日闭幕时中国代表团获得38金牌,居金牌榜第二。结合图文材料,回答题。
小题1:各国学生若计算在本地观看奥运会开幕式现场直播的日期、时刻,可依据下图中的
小题2:在奥运会召开的7、8月份,伦敦比北京
A.气温高,日较差大
B.风小雾大,降水多
C.正午太阳高度角小
D.日出晚,昼短夜长
小题3:结合图分析,途经该区域的洋流
A.造成欧洲西部地区气温升高、湿度降低
B.能使北美洲至欧洲的海轮航行速度加快
C.进入到北冰洋海域,使当地能见度变好
D.在与其他洋流交汇的海域不易形成渔场
参考答案:
小题1:A
小题2:C
小题3:B
本题解析:
小题1:2012 年7 月27 日19 点12 分(零时区区时)第30 届奥运会在伦敦开幕,计算可得0时对应的经线为72°W,另一条是180°经线。7月27日的范围是72°W向西到180°,7月28日的范围是180°向西到72°W。符合的是A。
小题2:伦敦为温带海洋性气候,全年温和湿润;北京为温带季风气候,夏季高温多雨,冬季寒冷干燥。7、8月份为北半球的夏季,伦敦的纬度高于北京,正午太阳高度比北京小,昼长大于北京,日出时间比北京早。
小题3:流经欧洲西部的洋流为盛行西风作用下的北大西洋暖流,对沿岸气候起到增温、增湿的作用;能使北美洲至欧洲的海轮航行速度加快;进入到北冰洋海域,形成海雾,使当地能见度变差;北大西洋暖流与东格陵兰寒流交汇形成了北海渔场。
点评:本题难度适中。以伦敦奥运会为材料,考查学生对日界线、伦敦与北京的气候等知识的对比及北大西洋暖流对欧洲西部的影响。
本题难度:一般
5、单选题 某学校地理兴趣小组到福建省某无人海岛进行野外考察活动。图A为该岛等高线地形图,读图回答下列小题。
【小题1】站在图中四地观测该岛,看到面积最大和最小的分别是( )
A.①②
B.①③
C.④③
D.④②
【小题2】3月21日,图中四地最晚观测到日出的地点是( )
A.①
B.②
C.③
D.④
【小题3】图B是某同学在②处拍摄的太阳照片,拍摄的北京时间最不可能是( )
A.5:30
B.6:30
C.16:30
D.18:30
参考答案:
【小题1】B
【小题2】D
【小题3】C
本题解析:
试题分析:
【小题1】读图可知,①地海拔最高,视野最广阔,看到的面积最大;③④两地海拔高度相同,也最低,但是③地有山脊阻挡,视野受限,故看到的看到面积最小。
【小题2】地势越高,位置越靠东,越向看到日出,①地地势高,②地位置最靠东,无视野阻挡,看到日出早;③④位于同一海拔高度,③地无阻挡,④地东面有山脊阻挡,故④最晚看见日出。
【小题3】根据甲图的指向标可以判断,在②处拍摄的太阳照片可能是日出时间,A、B都有可能。如果是北半球的夏季,日落西北方向,时间在18:00之后,从图甲的海陆分布看,也有可能拍摄到图乙的图片情况,D有可能。如果是北半球冬季,日落西南方向,时间是18:00之前,从图甲看,西南方向是陆地,不可能拍出海面的照片,所以C最不可能,C对。
考点:该题考查等高线地形图及日出时间。
本题难度:一般
| 【大 中 小】【打印】 【繁体】 【关闭】 【返回顶部】 | |
| 下一篇:高考地理答题技巧《地球运动及其.. | |