高考省级导航

全国 A安徽 B北京 C重庆 F福建 G广东 广西 甘肃 贵州 H河南 河北 湖南 湖北 黑龙江 海南 J江苏 江西 吉林 L辽宁 N内蒙古 宁夏 Q青海 S山东 山西 陕西 四川 上海 T天津
     X新疆 西藏 Y云南 Z浙江

高考地理高频试题、高中地理题库汇总-压中真题已成为一种习惯

地球与地图 地球 地图: 地图的基本知识 等值线图 宇宙中的地球 宇宙环境: 地球是太阳系中 太阳对地球的影响 地球运动及其地理意义: 地球运动的地理意义 地球的圈层结构 宇宙探测 人类认识的宇宙 物质运动和能量交换 地壳物质循环 内力作用与地貌 大气的热状况 大气受热过程 大气运动 全球气压带 常见的天气系统 气候类型及其判断 大气的圈层结构 水的运动 陆地上水体 世界洋流分布 水资源利用 整体性和差异性 自然环境 地理环境的整体性: 自然地理要素 地域分异规律 陆地自然带 自然对人类影响 地表形态对聚落及交通 全球气候变化 资源对人类生存: 自然资源的分布和利用 自然灾害发生 人口与城市 人口与地理环境: 人口增长与人口问题 人口迁移 人口分布 人口性别 城市与地理环境: 城市的空间结构 城市化的过程和特点 城市的区位因素 地域文化 生产活动 农业生产活动 农业区位因素 农业地域类型 工业生产 工业区位因素 传统工业区和新兴工业区 交通运输 现代交通运输方式 交通运输线路 交通运输布局 城市交通的特点 商业中心和国际贸易 区域可持续发展 区域工业化 区域农业生产 人类与地理环境 人地关系思想 主要环境问题 可持续发展 区域地理环境 地理信息技术的应用 遥感(RS) 全球定位系统 地理信息系统 区域生态环境的建设 荒漠化的防治 水土流失的治理 森林的开发和保护 区域地理 世界地理 世界分区地理 中国地理 中国地理概况 中国的河流和湖泊 中国的农业和工业 中国的天气和气候 中国的自然资源 中国区域差异 东部季风区 国土整治 选修部分 宇宙与地球 太阳系和地月系 海洋地理 海洋和海岸带 海洋环境问题 海洋开发 海洋权益 旅游地理 旅游活动设计 旅游景观的欣赏 旅游与区域发展 旅游资源的类型与分布 旅游资源的综合评价 文化景观 文明旅游 城乡规划 自然灾害与防治 自然灾害与环境 主要自然灾害 自然灾害 防灾与减灾 环境保护 资源问题 生态环境保护 生态问题 环境污染与防治 环境与环境问题 环境管理 环境与发展问题 地理信息技术应用 3S技术综合应用 地图与遥感 综合专题

高中地理知识点复习《水的运动》考点预测(2019年押题版)(七)
2019-06-24 23:38:58 【

1、单选题  北半球某河流两岸六地中,在自然状态下侵蚀较重的是

[? ]
A.①③⑤
B.①④⑤
C.②③⑥
D.②④⑥



2、单选题  下图是“三种陆地水体转化示意图”,读图回答1—2题。


1、图中P代表的水体可能是

[? ]


A.雨水
B.积雪
C.地下水
D.冰川水
2、箭头b、d代表的现象最集中出现的月份是

[? ]


A.1~2月
B.3~4月
C.6~7月
D.9~10月



3、综合题  读“水循环”示意图依次回答:(10分)

(1)写出水循环的环节(2分)
?;③?;④?;⑥?
(2)促使水循环连续进行的动力是:?,图中③环节主要靠?途径来完成。(2分)
(3)如果人类取用水量超过水循环?的数量与速度,或者使水资源遭受污染,就会造成水资源?。(2分)
(5)说明自然界水循环的作用。(4分)



4、单选题  读我国南方某低山丘陵区某小流域水循环示意图,完成22~23题。

小题1:人类某种活动使蒸腾作用显著减弱时,最可能直接导致该区域
A.降水量增加
B.地表径流变化增大
C.水汽输送减少
D.地表径流增加

小题2:对该流域地表径流含沙量大小影响较大的因素不包括
A.气温日变化及年变化
B.降水量及降水强度
C.土壤类型及地形坡度
D.土地利用状况及规模



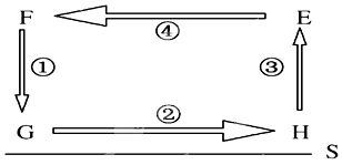
5、单选题  构建模式图,探究地理基本原理、过程、成因及规律,是学习地理的方法之一。读图,回答下列各题。

【小题1】如果该图为海陆间水循环模式,S线代表地球表面,则(   )
A.环节①参与地表淡水资源的补给
B.环节②是陆地自然带形成的基础
C.环节③使大洋表面海水的盐度降低
D.环节④的运动距离与下垫面无关

【小题2】如果该图为世界洋流模式的南半球部分,S线代表纬线,则(   )
A.洋流①对沿岸气候有降温、减湿作用
B.洋流②为西风漂流
C.洋流③对沿岸气候有增温、增湿作用
D.洋流④为赤道逆流



】【打印繁体】 【关闭】 【返回顶部
下一篇高考地理答题技巧《大气的热状况..

问题咨询请搜索关注"91考试网"微信公众号后留言咨询