| 高考省级导航 | |
|
|
|
高考地理知识大全《大气运动》试题特训(2019年最新版)(一)
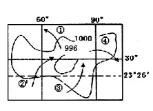
2、单选题 某区域海平面等压线分布图(单位:hpa),其中箭头表示的风向,正确的是
[? ] A.① B.② C.③ D.④ 3、单选题 读下图(a.b.c代表图中等值线相应的数值),回答下列各题。 |
4、单选题 下图为大气运动示意图,M线代表地球表面。据图回答1~3题。 
1、若此图表示热力环流,则
[? ]
A、丙处气压比甲处高
B、甲处气温比乙处高
C、丙处气压比丁处低
D、甲处气温比丙处低
2、若此图表示大气三圈环流中的低纬环流,则
[? ]
A、③气流比较湿润
B、④气流给我国夏季带来丰沛降水
C、甲是副热带高气压带
D、乙处高压的形成与②气流有关
3、若此图表示亚洲东部夏季季风环流,则
[? ]
A、甲处是海洋,乙处是陆地
B、乙处天气以晴朗为主
C、①气流较③气流湿润
D、④气流由低纬流向高纬
5、单选题 日照率是指一定时段内,实际日照总时数占可照总时数的百分率,下图为我国四地多年平均日照率月份变化统计图。读图完成下列小题。
【小题1】下列说法正确的是( )
A.四地日照率冬季差异最小
B.哈密日照率高主要原因是纬度高
C.北京日照率全年变化最小
D.上海受“副高”影响时日照率高
【小题2】M地最可能是( )
A.重庆
B.哈尔滨
C.呼和浩特
D.拉萨
| 【大 中 小】【打印】 【繁体】 【关闭】 【返回顶部】 | |
| 下一篇:高中地理知识点大全《地球运动的.. | |