| 高考省级导航 | |
|
|
|
高考地理试卷《大气的热状况与大气运动》考点强化练习(2019年练习版)(十)
A.① B.② C.③ D.④ |
参考答案:
【小题1】D
【小题2】C
本题解析:
【小题1】图中①是射向地面的太阳辐射,②是被大气吸收的太阳辐射,③是大气逆辐射,④是地面辐射。地面辐射④是大气增温的主要直接热源, D对。
【小题2】大气逆辐射是大气把吸收的热量返还给地面,补偿地面辐射的能量损失,方向由大气指向地面。结合前面分析,表示大气逆辐射的是③,C对。A.B.D错。
考点:大气热力作用的过程及环节。
本题难度:一般
2、单选题 左图为“世界某区域示意图”,右图为该区域P城市的气候统计图。读图回答以下问题。
小题1:2014年冬奥会在索契举办,关于该城市举办冬奥会滑雪场地的有利自然条件,下列说法正确的是
①山上气候寒冷,积雪时间长 ?
②冬季受北方冷空气影响,降水多,积雪量大
③北部位于山区,有良好的天然滑雪赛道
A.①②
B.①③
C.②③
D.①②③
小题2:根据气候统计图,可判断R河在P城市河段径流量最大的季节为
A.春季
B.夏季
C.秋季
D.冬季
小题3:某些年份,赤道附近太平洋中东部海面的温度异常,会引发该区域所在大陆的东岸出现洪涝灾害。下列各项中,有可能与上述现象同年份发生的是
A.澳大利亚持续干旱,爆发森林大火
B.秘鲁渔场大幅减产
C.太平洋赤道以南附近洋流强度变大
D.登陆我国的热带气旋个数比常年少
参考答案:
小题1:B ?
小题2:A?
小题3:C
本题解析:
小题1:此题注意利用经纬网来定位。左图中的纬度主要从40°N---50°N,经度主要从30°E---50°E,且图中湖泊为黑海,可以确定图中山脉为大高加索山,是亚洲与欧洲的分界线,大高加索山以南属于西亚北部,黑海沿岸地区气候主要为地中海气候,故索契应为地中海气候。从图中可以看到,索契位于山区附近,故①、③正确;但是地中海气候在冬季盛行风为西风(西南风),风从地中海途径黑海而来,来自南方低纬地区,补充了大量水汽,空气比较温和湿润,遇到地形抬升,容易出现地形雨,故而降雪量较大,积雪量大,故②错。所以选择B。
小题2:此题主要考查河流的补给类型。根据图中P城市的气温曲线降水量柱状图可以看出,P处为温带大陆性气候,降水量在冬季和夏初都较多,冬季相对较多。依据题目要求,R河在P城市河段径流量最大时应在降水最多的月份附近。由于河流径流量的增加需要降水之后有一个汇水时间,故R河在P城市河段径流量应相应拖后,而且P城在1月份降水总量仍然相对较多,故河流径流量最大时应在2、3月份附近,故A正确。
小题3:该题中的特殊情况应与“厄尔尼诺现象”或者“拉尼娜现象”有关。结合“赤道附近太平洋中东部海面的温度异常,该区域所在大陆的东岸出现洪涝灾害”,即亚欧大陆东岸出现洪涝灾害,说明此时赤道附近太平洋中东部海面应为温度异常下降,为拉尼娜现象。此时,由于东南信风增强,使南赤道暖流增强,太平洋东岸的水温降低,太平洋西岸水温升高。所以澳大利亚应由于水温升高,致使气温较高,上升气流比较旺盛,降水增多,故A错。秘鲁沿岸东南信风较强,在离岸风的吹拂下,导致秘鲁沿岸深层海水会大量上泛,带来丰富营养盐类,鱼类就会大量繁殖,秘鲁渔场增产,故B错。受东南信风(离岸风)增强的影响,南赤道暖流会增强,故C正确。由于太平洋西岸气温升高,容易形成更多的热带气旋,故登陆我国的热带气旋个数应该比常年多,故D错。
本题难度:一般
3、单选题 图是北半球某平原地区某时500 hPa等压面的高度分布图(单位:m)。读图回答问题。
【小题1】下列对图中A、B、C三地气压值的比较,正确的是( )
A.PA>PC>PB B.PA<PC<PB
C.PC>PB>PA D.PA=PC=PB
【小题2】此时,A、B两地近地面的天气特征和C地的近地面风向分别是( )
A.晴朗 阴雨 东南风 B.阴雨 晴朗 西北风
C.晴朗 阴雨 西北风 D.阴雨 晴朗 东南风
参考答案:
【小题1】D
【小题2】C
本题解析:本题考查资料分析运用能力(等压面)。
【小题1】既然是500 hPa等压面,则同一等压面上气压值应该相等。
【小题2】A处500 hPa等压面分布海拔低,则气压也低,相对应的地面气压高,为下沉气流,天气晴朗;B处500 hPa等压面分布海拔高,则气压也高,相对应的地面气压低,为上升气流,阴雨天气。气流由A处流向B处,C处近地面吹西北风。
本题难度:一般
4、单选题 九寨沟景区有着千姿百态的岩溶地貌景观,以水景最为奇丽,湖、泉、瀑、滩连缀一体,呈Y形分布。下图为“九寨沟导游图”,读图回答下列问题。
【小题1】东侧日则沟湖泊众多,而西侧的则查洼沟几乎是一条“干沟”。则查洼沟形成“干沟”的最主要原因是( )
A.河流下切,湖水外泻
B.构造沉降的洼地少,难以蓄水成湖
C.喀斯特地貌发育,地表水下渗严重
D.降水少,河流流量小
【小题2】冬季九寨沟几乎所有的湖泊都结冰,而五花海却不封冻,在湖面上还不时有水泡冒出,被当地
称为“圣湖”,五花海不封冻的原因可能是( )
A.地处断层带,地下有温泉水涌出
B.该湖泊为咸水湖,所以冬季不结冰
C.纬度低,冬季气温高
D.海拔低,冬季气温高
参考答案:
【小题1】C
【小题2】A
本题解析:
【小题1】该地区地处亚热带季风气候区,降水丰富,而则查洼沟几乎为干谷,可推断该地区为喀斯特地貌,石灰岩广布,造成地表水大量下渗所致。
【小题2】五花海不封冻可能和地壳运动有关系,地处断层有地热泉水溢出,使水温较高,不易封冻,A正确;B项从图可以看出既有河流流入五花海又有河流流出,故五花海为淡水湖,B错;,五花海与九寨沟其他地区纬度位置、海拔高度相差不大,故纬度、海拔不能作为五花海气温高的原因,C项、D项都错。
考点:地貌与地表水;影响气温高低的因素
本题难度:一般
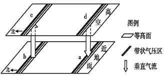
5、单选题 读下图回答问题。
1.若该图表示热力环流形势,则a处与b处的气压(P)和气温(T)大小关系正确的是2.若该图表示北半球的热力环流形势,不考虑摩擦力,c、d之间的风向为3.若该图表示地球表面三圈环流之一,则
A.Pa>Pb;Ta>Tb
B.Pa
D.Pa>Pb;Ta
F.东北风
G.南风
H.西南风
I.该环流一定是北半球低纬环流
G.该环流一定是南半球低纬环流
环流一定使a地高温干燥
环流使b地气候全年多雨
参考答案:1. D
2. A
3. D
本题解析:本题考查读图分析能力(热力环流)。
1.根据图示a处与b处的垂直气流运动方向:a处空气下沉,则近地面气温较低,形成高压,b处空气上升,则近地面气温较高,形成低压;故选D项。
2.根据垂直气流方向,c、d之间的水平气流由c→d,注意c、d位于高空,高空的风不受摩擦力作用,故在北半球向右偏,最终与等压线平行,即形成东风。故选A项。
3.若在北半球,则该环流表示北半球中纬环流;若在南半球,则该环流表示南半球的低纬环流,故AB都错误。C项c可能表示副极地低压带,故C项错误;D项b地受上升气流影响,则全年多雨;正确。
本题难度:简单
| 【大 中 小】【打印】 【繁体】 【关闭】 【返回顶部】 | |
| 下一篇:高考地理试题《区域地理环境与人.. | |