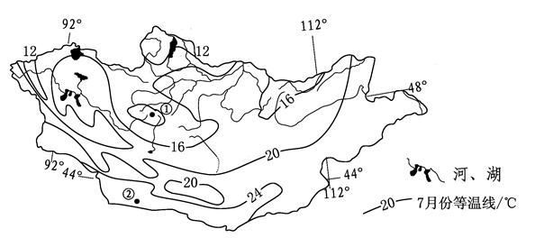
1、单选题 下图示意亚洲某内陆国水系分布和七月份气温分布情况。读图完成题。
1.图中①地的7月均温可能为2.该国
A.18℃
B.16℃
C.14℃
D.10℃
E.年降水量南多北少
F.常年受西风带控制
G.东南部地势起伏大
H.水汽主要来自北冰洋
参考答案:1. D
2. D
本题解析:试题分析:
1.根据图示7月份气温的分布规律可知:等气温差是4℃,①地地势高,气温低,其气温范围是8℃-12℃之间,符合条件的只有D选项。故选D。
2.读图可知该国北部水系发达,表明北部降水多,南部少;东南部等温线稀疏,地势起伏小;因位于亚洲大陆内部,且离北冰洋较近,所以受西风影响较小,其水汽主要来自北冰洋。故选D。
考点:本题考查等温线分布及影响图示地区降水分布的原因。
点评:试题难度中等,解题关键是理解等温线的分布规律与区域降水的原因。根据图中的等值线分布判断①为低值中心,气温应低于12°C。另外我们还可根据图示的经纬度和轮廓判断,此国位于中国的北部,且为内陆国,可推出是蒙古国,即是温带大陆性气候,蒙古深居内陆,降水少,形成的自然带是温带荒漠带。
本题难度:一般
2、单选题 ? 今日水资源严重短缺的西安市隋唐时期用水充足,有“陆海”(指湖泊和沼泽很多)的美称。下图示意古长安(今西安市长安区)“八水”位置。完成1—2题。

1、“八水绕长安”的地质成因之一是渭河平原地壳
[? ]
A、水平错断
B、褶皱凹陷
C、断裂陷落
D、水平张裂
2、古长安“陆海”今日不复存在的重要原因是
[? ]
A、秦岭北坡森林植被破坏
B、渭河流域水体污染严重
C、渭河下游汛期水位上升
D、秦岭南坡耕地面积增加
参考答案:1、C
2、A
本题解析:
本题难度:简单
3、单选题 由于气候变异和人为活动引起的湿润系数在0.05~0.65范围内的地区土地退化过程称为荒漠化。而土地退化是指包括侵蚀、盐碱化、肥力衰竭在内的土壤退化过程和包括植被覆盖度降低、生物量减少和生物多样性下降等在内的生态系统退化过程。读图,回答以下各题:
1.湿润系数可能指2.分析材料中内容,题中的生物多样性下降属于
①环境污染?
②土地退化过程?
③土壤退化过程
④荒漠化过程
⑤生态系统退化过程
A.降水量
B.降水量与蒸发量之比
C.蒸发量
D.蒸发量与降水量之比
E.①②③
F.②③④
G.③④⑤
H.②④⑤
参考答案:1. B
2. D
本题解析:1.根据图中数值的大小和变化趋势,我国东部地区湿润系数大,西北地区湿润系数小。我国越往西北地区降水量越来越少,而根据图中等值线的数值判断,湿润系数不是指降水量,而应该是指降水量和蒸发量的之比。所以本题选择B选项。
2.根据题目叙述:土地退化是指包括侵蚀、盐碱化、肥力衰竭在内的土壤退化过程和包括植被覆盖度降低、生物量减少和生物多样性下降等在内的生态系统退化过程。所以生物多样性下降属于生态系统退化过程,更属于土地退化。由此我们可以选择②⑤。再根据荒漠化过程过程也是指土地的退化过程,所以④也正确。所以选择D选项。
本题难度:困难
4、单选题 读下图,判断下列气候类型与序号相对应正确的是

A.a---热带草原气候
B.b----温带海洋性气候
C.c---热带雨林气候
D.d----亚热带季风气候
参考答案:B
本题解析:试题分析:
读图,根据气温曲线和降水量柱状图分析,a图全年高温,各月 降水量大,降水量在2000毫米以上,是热带雨林气候。选项A错。b图气温冬季温和,夏季凉爽,各月降水均匀,是终年温和多雨的温带海洋性气候,选项B对。c图全年高温,降水集中在夏季,有明显的干季和湿季,是热带草原气候,选项C错。d图夏季高温少雨(炎热干燥),冬季温和多雨,是地中海气候,选项D错。
考点:气候类型的综合运用,气候类型,气候特征。
本题难度:简单
5、单选题 读下图,完成1~3题。

1、若该图是以地球上某地为中心的投影图,O点足尼罗河人海口(30°N,30°E),AB为地球半径的2倍,则在所示区域内包含的板块数为
[? ] A、3个 B、4个 C、5个 D、6个 2、若该图中五点海拔关系为:A=B>O>C=D,则
|
[? ] A、OA—山谷 B、OC—山脊 C、O—山顶 D、O—鞍部 3、若该图表示位于北半球海拔8km高空中的某一水平面,且气压关系为:A=C>O>B=D,则O点的风向不可能为 [? ] A、西北风 B、北风 C、西南风 D、东北风
参考答案:1、D 2、D 3、C
本题解析:
本题难度:一般
|