| 高考省级导航 | |
|
|
|
高中地理知识点总结《地壳物质循环及地表形态的塑造》考点预测(2017年强化版)(十)
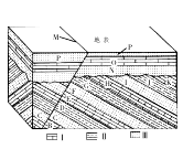
A.4.5月份太阳高度最大 B.4.5月份降水较少 C.4.5月份白昼最长 D.4.5月份多沙尘天气 参考答案:小题1:A 本题解析:小题1:太阳直接辐射取决于太阳高度和天气状况。北京冬季太阳直接辐射比夏季少的主要原因是冬季太阳高度小,白昼短,所以获得的太阳辐射少。所以本题选择A选项。 本题难度:一般 2、单选题 该图为某地地层剖面示意图,已知I、II、III三类岩石分别是深海、浅海、河湖沉积的产物。读图,完成问题。 |
参考答案:【小题1】A
【小题2】C
本题解析:【小题1】根据图中信息可知,首先岩层弯曲形成褶皱;然后断裂上升或下沉形成断层。符合的是A项。
【小题2】C岩石是砂岩,又是河湖沉积的产物。所以是陆地环境。选择C项。
本题难度:一般
3、单选题 下列关于中南半岛的叙述,不正确的是( )
A.山河相间,呈南北纵列分布
B.每年6月到10月吹西南季风,是雨季
C.属于印度洋板块
D.半岛上的湄公河平原是东南亚最大的平原
参考答案:C
本题解析:试题分析:本题考查学生的识记能力,要求掌握中南半岛的自然环境特征,中南半岛属于亚欧板块 。所以不正确的C。
考点:本题考查世界主要地区。
本题难度:一般
4、单选题 图为水循环和岩石圈物质循环示意图,其中①②③代表三大类岩石。回答下列各题。
小题1:图中水循环的描述:
A.a环节和d环节的水量相等
B.北美西部,c为向西南方向输送的水汽
C.我国东部季风区河流的补给主要靠d环节
D.e环节表示地下径流
小题2:图中岩石圈物质循环的叙述:
A.e环节在海岸带地区主要为侵蚀作用
B.g环节属于内力作用
C.i、h、l三环节分别属于地壳运动、变质作用、岩浆活动
D.②③两种岩石可以相互转化
参考答案:小题1:C小题1:C
本题解析:本题考查地质循环和水循环。小题1:图示a表示海洋水汽蒸发;b表示海洋降水;c表示水汽输送;d表示陆地降水,a应等于b+d;A错误;若在美国西部,则c为向东输送的水汽,B错误;我国东部季风区的河流补给主要来自大气降水,故C正确。
小题2:e环节为地表径流,在海岸地带主要为泥沙沉积,A错误;g表示沉积作用和固结成岩,属于外力作用,B错误;③表示岩浆岩,不可能与②变质岩相互转化,D错误。故选C项。
本题难度:一般
5、单选题 读“地质构造剖面示意图”,下列说法正确的是 ( )
A.图a中,①岩体的形成年代早于②岩体
B.图b中,④岩体的形成年代早于⑤岩体
C.图a中,③最有可能为岩浆岩
D.图b中,⑥最有可能为变质岩
参考答案:B
本题解析:本题考查地壳的物质循环过程。图a中①为岩浆岩,②可能为变质岩,变质岩形成于岩浆岩①之前;图b中④为岩浆岩,⑤为沉积岩,形成于④之后,⑥最有可能为沉积岩。所以本题选择B选项。
本题难度:一般
|
||
| 【大 中 小】【打印】 【繁体】 【关闭】 【返回顶部】 | ||
| 下一篇:高中地理知识点大全《区域地理环.. | ||