| 高考省级导航 | |
|
|
|
高考地理答题模板《等值线图》试题预测(2017年最新版)(一)
A.甲地草原辽阔,利于发展乳畜业 B.乙地地势平坦,适宜大规模机械化生产 C.丙地河流稀少,利于商品谷物农业发展 D.丁地夏季低温,适宜发展多种经营 |
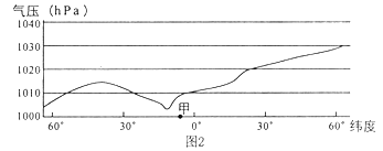
5、单选题 图2为某月沿120°E经线海平面平均气压分布图,读图完成5—7题。
小题1:“某月”可能是?(?)
A.l月
B.4月
C.7月
D.10月
小题2:该月份甲地盛行?(?)
A.东南风
B.西北风
C.西南风
D.东北风
小题3:该月份?(?)
A.夏威夷高压势力强大
B.我国东部盛行偏北风
C.大陆上等温线向北凸
D.气压带、风带位置偏北
| 【大 中 小】【打印】 【繁体】 【关闭】 【返回顶部】 | |
| 下一篇:高考地理知识点总结《地球》答题.. | |