|
|
|
高考物理知识点总结《力学实验》高频试题预测(2017年最新版)(五)
2017-09-26 10:25:53
来源:91考试网
作者:www.91exam.org 【 大 中 小】
|
微信搜索关注"91考试网"公众号,领30元,获取公务员、事业编、教师等考试资料40G!
1、实验题 在“验证机械能守恒定律”的一次实验中,质量m=1kg的重物自由下落,在纸带上打出一系列的点,如下图所示(相邻记数点时间间隔为0.02s),那么: (1)纸带的________(用字母表示)端与重物相连; (2)打点计时器打下计数点B时,物体的速度 =________; (3)从起点P到打下计数点B的过程中物体的重力势能减少量△ =________,此过程中物体动能的增加量△ =________;(g取9.8m/s2)(计算结果保留二位有效数字) (4)通过计算,数值上△EP___△Ek(填“<”、“>”或“=”),这是因为 
2、选择题 在“探究加速度与力、质量的关系”的实验步骤中,下列做法中正确的是 A.同时改变拉力 F 和小车质量的大小 B.先保持小车质量 m 不变,研究加速度 a 与拉力 F 的关系,再保持 F 不变,研究 a 与 m 的关系,最后导出。与 m 及 F 的关系 C.只改变拉力 F 的大小,小车质量 m 的大小始终保持不变 D.只改变小车质量 m 的大小,拉力 F 的大小始终保持不变
|
3、实验题 以下是一位同学做“探究形变与弹力的关系”的实验。 (1)下列的实验步骤是这位同学准备完成的,请你帮这位同学按操作的先后顺序,用字母排列出来是: 。 A.以弹簧伸长量为横坐标,以弹力为纵坐标,描出各组数据(x,F)对应的点,并用平滑的曲线连结起来。 B.记下弹簧不挂钩码时,其下端在刻度尺上的刻度L0 C.将铁架台固定于桌子上,并将弹簧的一端系于横梁上,在弹簧附近竖直固定一刻度尺 D.依次在弹簧下端挂上1个、2个、3个、4个……钩码,并分别记下钩码静止时,弹簧下端所对应的刻度并记录在表格内,然后取下钩码
|
E、以弹簧伸长量为自变量,写出弹力与弹簧伸长量的关系式.
F、解释函数表达式中常数的物理意义.
(2)下表是这位同学探究弹力大小与弹簧伸长量之间的关系所测的几组数据:
弹力(F/N)
| 0.5
| 1.0
| 1.5
| 2.0
| 2.5
|
弹簧原来长度(L0/cm)
| 15
| 15
| 15
| 15
| 15
|
弹簧后来长度(L/cm)
| 16.0
| 17.1
| 18.0
| 18.9
| 20
|
弹簧伸长量(x/cm)
| 1.0
| 2.1
| 3.0
| 3.9
| 5.0
|
据上表的数据在右下图的坐标中作出F-x图线。

②写出曲线的函数表达式。(x用cm作单位):
③函数表达式中常数的物理意义:
4、选择题 某同学误将连接电路用的导线当作被测金属导线测出其直径,测量时仪器指示如图所示,则该导线的直径为:d= 。
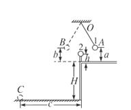
5、实验题 下图是用来验证动量守恒的实验装置,质量为m1的弹性球1用细线悬挂于O点,O点下方桌子的边沿有一竖直立柱.实验时,调节悬点,使弹性球1静止时恰与立柱上的质量为m2的弹性球2接触且两球等高.将球1拉到A点,并使之静止,同时把球2放在立柱上.释放球1,当它摆到悬点正下方时与球2发生对心碰撞.碰后球1向左最远可摆到B点,球2落到水平地面上的C点测出有关数据即可验证1、2两球碰撞时动量守恒.现已测出A点离水平桌面的距离为a.B点离水平桌面的距离为b,C点与桌子边沿间的水平距离为c.(忽略小球的大小)
碰前1球的动量
碰后1球的动量 碰后2球的动量
动量守恒的表达是 