1、选择题 下列关于力和运动状态关系的说法中,正确的是
[? ]
A、静止或做匀速直线运动的物体一定不受外力作用
B、物体速度方向发生变化时,一定受到外力作用
C、物体速度为零时,所受合力一定为零
D、物体所受合力增大时,速度一定增大
2、选择题 下列哪几组共点力作用在同一物体上,物体可能保持平衡?( )
A.2N、5N和9N
B.2N、30N和50N
C.8N、18N和9N
D.20N、30N和20N
3、选择题 下列关于物理学发展史和单位制的说法正确的是
[? ]
A.美国物理学家密立根经过多次实验,比较准确地测定了电子的电荷量
B.卡文迪许通过扭秤实验测量了静电力常量,并验证了库仑定律
C.力学中的三个基本单位是:千克、米、牛顿
D.功的单位可以用kg·m2/s2 表示
4、填空题 在探究物体的加速度与力的关系时,应保持_________不变,分别改变施加在物体上的________力F,测出相对应的加速度a,在探究物体的加速度与质量的关系时,应保持_________不变, 分别改变物体的质量m,测出相应的加速度a.
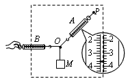
5、实验题 某同学用如图所示的实验装置来验证“力的平行四边形定则”。弹簧测力计A挂于固定点P,下端用细线挂一重物M。弹簧测力计B的一端用细线系于O点,手持另一端向左拉,使结点O静止在某位置。分别读出弹簧测力计A和B的示数,并在贴于竖直木板的白纸上记录O点的位置和拉线的方向。

(1)本实验用的弹簧测力计示数的单位为N,图中A的示数为_______N。
(2)下列不必要的实验要求是_________。(请填写选项前对应的字母)
A.应测量重物M所受的重力
B.弹簧测力计应在使用前校零
C.拉线方向应与木板平面平行
D.改变拉力,进行多次实验,每次都要使O点静止在同一位置
(3)某次实验中,该同学发现弹簧测力计A的指针稍稍超出量程,请你提出两个解决办法。
①_________________________________________________________;
②_________________________________________________________。