| 高考省级导航 | |
| 
 | |
| 高考物理知识点《加速度》试题预测(2019年最新版)(一) 
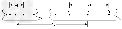
  3、实验题  如图所示,某同学让重锤做自由落体运动,通过测量打点计时器在纸带上打下的点痕来测量当地的重力加速度.该同学在实验时得到6条纸带,在每条纸带上取6个点,如图所示为其中一条,每两个相邻的时间间隔均为T=0.02s.其中1、2、3点相邻,4、5、6点相邻,在3点和4点之间还有若干个点.s1是1、3两点的距离,s3是4、6两点的距离,s2是2、5两点的距离. 4、实验题  利用图所示的装置可以研究自由落体运动。实验中需要调整好仪器,接通打点计时器的电源,松开纸带,使重物下落。打点计时器会在纸带上打出一系列的小点。 5、简答题  某平面上有一半径为R的圆形区域,区域内、外均有垂直于该平面的匀强磁场,圆外磁场范围足够大,已知两部分磁场方向相反,方向如图所示,磁感应强度都为B,现在圆形区域的边界上的A点有一个电量为q,质量为m的带正离子沿半径方向射入圆内磁场.求: | 
| 【大 中 小】【打印】 【繁体】 【关闭】 【返回顶部】 | |
| 下一篇:高考物理知识点《闭合电路的欧姆.. | |