1、计算题 (13分)如图,长L=100cm,粗细均匀的玻璃管一端封闭。水平放置时,长L0=50cm的空气柱被水银封住,水银柱长h=30cm。将玻璃管缓慢地转到开口向下的竖直位置,然后竖直插入水银槽,插入后有Δh=15cm的水银柱进入玻璃管。设整个过程中温度始终保持不变,大气压强p0=75cmHg。求:

(1)插入水银槽后管内气体的压强p;
(2)管口距水银槽液面的距离H。
参考答案:(1)62.5cmHg(2)27.5cm
本题解析:(1)设当转到竖直位置时,水银恰好未流出,管截面积为S,此时气柱长l=70cm
由玻意耳定律:p=p0L0/l=53.6cmHg,
由于p+rgh=83.6cmHg,大于p0,因此必有水银从管中流出,
设当管转至竖直位置时,管内此时水银柱长为x,
由玻意耳定律:p0SL0=(p0-rgh)S(L-x),
解得:x=25cm,
设插入槽内后管内柱长为L’,
L’=L-(x+Dh)=60cm,
由玻意耳定律,插入后压强p=p0L0/L’=62.5cmHg,
(2)设管内外水银面高度差为h’,
h’=75-62.5=12.5cm,
管口距槽内水银面距离距离H=L-L’-h’=27.5cm,
本题难度:简单
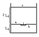
2、简答题 如图所示,一个开口向上的圆筒气缸直立于地面上,距缸底
处固定一个中心开孔的隔板a,在小孔处装有一个只能向下开启的单向阀门b,即只有当上部压强大于下部压强时,阀门开启,c为一质量与摩擦均不计的活塞,开始时隔板以下封闭空气压强为2
(
为大气压),隔板以上由活塞c封闭空气压强为
,活塞c与隔板距离为
.现缓慢地将铁砂加在活塞c上,已知铁砂质量为
时,可产生向下的压强为
,并设气体温度保持不变,活塞、缸壁与隔板厚度均可不计,求:

(1)当堆放铁砂质量为
时,活塞c距缸底高度是多少?
(2)当堆放铁砂质量为
时,缸内各部分气体压强是多少?
参考答案:
(1)
?(2)4P0
本题解析:
(1)堆放
铁砂时,阀门已开启.
对隔板上部气体:
得
.
对隔板下部气体:
得
∴活塞C距缸底高为L=
(2)堆放
铁砂时,阀门仍开启.
对全部气体:3
·
·xS得x=
(∵C不会越过隔板,不合理).
实际上,活塞C压在隔板上,气体体积为
,则
,
即
本题难度:一般
3、计算题 (选修3-3选做题)
图甲是一定质量的气体由状态A经过状态B变为状态C的p-T图象。已知气体在状态A时的体积是0.6 m3。
(1)根据图象提供的信息,计算图中TA的温度值;
(2)请在图乙坐标系中,作出由状态A经过状态B变为状态C的V-T图象,并在图线相应位置上标出字母A、B、C。如果需要计算才能确定有关值,请写出计算过程。

参考答案:解:(1)A→B过程,气体作等容变化,体积不变
由图象提供的信息:pA=1×105Pa,pB=1.5×105Pa,TB=300 K
由查理定律
故TA=
=200 K
(2)B→C过程,气体作等压变化
由图象提供的信息:VB=VA=0.6 m3,TB=300 K,TC=400 K
由盖·吕萨克定律得
故VC=
TC=0.8 m3
故由状态A经过状态B变为状态C的V-T图象如图所示

本题解析:
本题难度:一般
4、选择题 一定量的理想气体从状态a开始,经历三个过程ab、bc、ca回到原状态,其V—T图像如图所示,下列判断正确的是_____。

A.过程ab中气体对外界所做的功等于气体所吸收的热
B.过程bc中气体既不吸热也不放热
C.过程ca中气体一定放热
D.a、b和c三个状态中,状态a分子平均动能最小