1、填空题 (1)某同学用刻度尺测金属丝的长度l,用螺旋测微器测金属丝的直径d,其示数分别如图1和图2所示,则金属丝长度l=______cm,金属丝直径d=______mm.他还用多用电表按正确的操作程序测出了它的阻值,测量时选用“×1”欧姆挡,示数如图3所示,则金属丝的电阻R=______Ω.

参考答案:刻度尺的读数为:40.25cm,
螺旋测微器的固定刻度读数为0mm,可动刻度读数为0.01×22.9mm=0.229mm,所以最终读数为0.229mm.
被测电阻的阻值为9×1=9Ω
故答案为:40.25,0.229mm,9Ω.
本题解析:
本题难度:一般
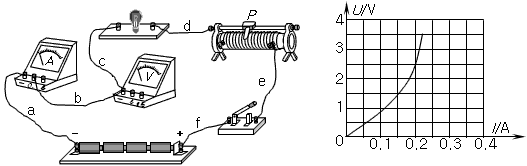
2、实验题 在做“描绘小灯泡的伏安特性曲线”实验时,所用器材有:电动势为6V的电源,额定电压为2.5V的小灯泡,以及符合实验要求的滑动变阻器、电表、开关和导线。要求能测出尽可能多组数据,如图是没有连接完的实物电路。(已连接好的导线有a、b、c、d、e、f六根)

(1)请你用笔画线代替导线,将实物电路连接完整;
(2)排除故障后比和开关,移动滑片P到某处,电压表的示数为2.2V,在要测量小灯泡的额定功率,应将滑片P向__________端滑动(选填“左”“右”);
(3)通过移动滑片P,分别记下了多组对应的电压表和电流表的读数,并绘制成了如图所示的U-I图线。根据U-I图线提供的信息,可计算出小灯泡的额定功率是_________W。
(4)图线是曲线而不是过原点的直线,原因是____________________。
参考答案:(1)连线如图

(2)右
(3)0.5
(4)灯丝的电阻会随温度的升高而增大
本题解析:
本题难度:一般
3、选择题 某同学设计了一个探究电容器所带电荷量与电容器两极间电压关系的实验,实验电路如图6甲所示,其中P为电流传感器,V为电阻很大的电压表。实验时,先将开关S1闭合,单刀双掷开关S2掷向a,调节滑动变阻器的滑动头到某位置使电容器C充电,当电路达到稳定后记录理想电压表的示数。再迅速将开关S2掷向b,使电容器放电。电流传感器P将电容器充、放电过程中的电流数据传送给计算机,在计算机上可显示出电流i随时间t变化的图象如图乙所示。然后改变滑动变阻器滑动头的位置,重复上述步骤,记录多组电流随时间变化的图象和电压表的示数。对于这个实验过程和由图象及数据所得出的结果,下列说法中正确的是(?)

A.流过电流传感器P的充电电流和放电电流方向相同
B.图乙中的第①段(充电阶段)电流曲线与横轴所围图形的面积表示电容器充电结束时所带的电荷量
C.电容器充电结束时所带电荷量随电容器充电结束时两极间电压变化的关系图象应为一条过原点的倾斜直线
D.电容器充电结束时所带电荷量与滑动变阻器滑动头的位置无关
参考答案:BC
本题解析:电容器充电时右极板带负电,流过电流传感器P的负电荷向上,电流方向向下,当放电时,负电荷向下,电流方向向上,所以A错;
根据图像的意义
,面积表示电量,①段曲线与横轴所围图形的面积表示电容器充电时流过传感器的电量,也就是电容器充电完毕后带的电荷量,所以B对;
电容器两端电压
,C为常数,所以电容器两端电压和电量成正比,C对;
电容器与滑动变阻器的一部分属于并联关系,所分电压与滑动出头的位置有关系。D错。
本题难度:一般
4、简答题 如图所示的电路中,直径为D的圆环是用粗细均匀的电阻丝制成的,其阻值为R,图中A,B,…,H为圆环的等分点,A点固定,P为滑片,且滑片P能沿圆环滑动,并保持良好的接触,电源电动势为E,内阻不计.当闭合电键S后,滑片P沿圆环顺时针滑动时,图中各表的示数会发生变化.甲、乙两同学按此电路图,分别做实验,并记下当滑片P在某些位置时各电表的示数.
? 表一甲同学测得实验数据
| 滑片P的位置 | 位置B | 位置C | 位置D | 位置E | 位置F | 位置x | 位置A 电流表A的示数(A) 0.25 0.20 0.18 0.17 0.18 0.19 电压表V1的示数(V) 3.75 3.00 2.70 2.55 2.70 2.85 电压表V2的示数(V) 2.25 3.00 3.30 3.45 3.30 3.15
|
表二乙同学测得实验数据
| 滑片P的位置 | 位置B | 位置C | 位置D | 位置E | 位置F | 位置G | 位置x 电流表A的示数(A ) 0.24 0.17 0.13 0.11 0.09 0.08 电压表V1的示数(V) 3.60 2.55 1.95 1.65 1.35 1.20 电压表V2的示数(V) 2.40 3.45 4.05 4.35 4.65 4.80
|
根据上述实验数据,回答下列问题:
(1)根据表1中的实验数据,请通过计算,分析完成表1中“位置A”下的空格.______
(2)根据表1、表2中的实验数据,请通过比较、分析来说明甲、乙两同学测得的实验数据不同的原因:______.
(3)根据(2)中的分析,请思考:当滑片P滑到G、A之间位置X时,则表2中“位置X”下的空格可能的数据(即各电表的示数)分别是______
A.0.05A,0.75V,5.25V?B.0.07A,1.05V,4.95V
C.0.16A,2.40V,3.60V?D.0.25A,3.75V,2.25V.
参考答案:(1)当滑片滑动A位置,圆环部分短路,电压表电压表V2的示数为0,电源电动势等于圆环部分未短路时,两电压表示数之和,即E=3.75+2.25V=6V,电阻R1的阻值R1=3.750.25Ω=15Ω,则此时电压表V1的示数为6V,电流表的示数I=615A=0.4A.所以“位置A”下的空格分别为0.4A,6V,0.
(2)通过甲同学数据分析知,电压表V2的示数先增大后减小,是因为并联部分电阻先增大后减小,乙同学电压表V2的示数逐渐增大,知圆环部分的电阻逐渐增大,知乙同学做实验时,圆环在G、A之间某处发生断路故障.
(3)由于G、A之间某处发生断路故障,所以在位置X处,圆环的电阻可能比BA部分小,可能比BG部分大,则电流表的示数可能小于0.08A,可能大于0.24A.当电流表示数小于0.08A时,U1<1.20V,U2>4.80V,当电流大于0.24A时,U1>3.6V,U2<2.4V.又电压表U1的示数与电流表的示数比值等于R1的阻值,为15Ω.故B、D正确,A、C错误.
故选BD.
故答案为:(1)0.4A,6V,0 (2)乙同学做实验时,圆环在G、A之间某处发生断路故障 (3)BD
本题解析:
本题难度:一般
5、实验题 (10分)两位同学利用图甲所示的电路描绘小灯泡的伏安特性曲线、测定电源的电动势E和内电阻r。滑动变阻器的滑动触头P从最右端N滑到最左端M的过程中,一同学记录了电流表A(内阻为1.0Ω)和电压表V1(内阻约为20kΩ)的示数;另一同学记录的是电流表A和电压表V2(内阻约为10kΩ)的示数。两位同学各记录了5组数据(包含P在M、N两端时的示数),并根据所记录数据描绘了图乙所示的两条U-I图线。回答下列问题:
?
(1)图线a是利用电流表A和电压表?的示数进行图线描绘 (选填“V1”或“V2”)。
(2)根据图乙可得,电源的电动势E =?V、内电阻r =?Ω。
(3)图乙中两条图线的交点表示P滑到了?端(选填“M”或“N”)。
(4)根据图乙可求得滑动变阻器的总阻值为?Ω。
参考答案:(1) V1?(2)3.0、1.0? (3) M? (4)12
本题解析:(1)由图知图线a电压随电流的增大而减小,所以是利用电压表V1的示数进行描绘的;(2)根据闭合电路的欧姆定律
,结合乙图可得E=3.0V,内阻r=1.0Ω;(3)交点表示两电表示数相同,故P滑到M端;(4)当滑片P滑到N端时,V1的示数最大,V2的示数最小,滑动变阻器的总阻值为
.
本题难度:一般