高考省级导航

全国 A安徽 B北京 C重庆 F福建 G广东 广西 甘肃 贵州 H河南 河北 湖南 湖北 黑龙江 海南 J江苏 江西 吉林 L辽宁 N内蒙古 宁夏 Q青海 S山东 山西 陕西 四川 上海 T天津
     X新疆 西藏 Y云南 Z浙江

高考物理高频试题、高中物理题库汇总-压中真题已成为一种习惯

★力学★ 运动的描述: 质点、参考系、坐标系 时间与时刻 位移与路程 速度、速率 平均速度和瞬时速度 加速度 电磁打点计时器和电火花计时器 直线运动: 匀速直线运动 匀变速直线运动 匀变速直线运动基本公式应用 匀变速直线运动导出公式应用 自由落体运动 竖直上抛运动 探究小车速度随时间变化的规律 运动的图象 S-t图象 V-t图象 追及相遇问题 相互作用: 力的描述 重力 弹力 弹性形变和弹力 探究弹力和弹簧伸长的关系 摩擦力 滑动摩擦力 静摩擦力 力的合成与分解 平行四边形定则 力的合成 力的分解 正交分解 共点力的平衡 三力平衡 动态平衡分析 力矩平衡 牛顿运动定律: 牛顿第一定律 伽利略理想实验 惯性与质量 牛顿第二定律及应用 对单物体(质点)的应用 对质点系的应用 连接体问题 牛顿定律与图象 超重失重 探究加速度与力、质量的关系 牛顿第三定律 牛顿运动定律与电磁学综合 曲线运动: 曲线运动的特点 运动的合成与分解 位移的合成与分解 速度的合成与分解 小船渡河问题分析 最短时间过河 最短位移过河 拋体运动的规律 平抛运动的概念与轨迹 平抛运动的运动规律 研究平抛运动 斜抛运动 圆周运动 描述圆周运动的物理量 匀速圆周运动 向心力与向心加速度 圆周运动实例分析 离心运动和向心运动 万有引力与航天: 开普勒定律 万有引力定律及其应用 天体的匀速圆周运动的模型 人造卫星与飞船 近地卫星和同步卫星 宇宙速度 功和机械能: 恒力做功 变力做功 功率 功率的概念 机车启动 动能与重力势能 动能 探究功与速度变化的关系 弹性势能 动能定理及应用 动能定理的理解 动能定理的综合应用 摩擦力做功 皮带模型 机械能守恒定律 机械能 机械能守恒及其条件 机械能综合应用 能量守恒定律 功能关系 动量: 动量和冲量 动量 冲量 动量定理 动量守恒定律 碰撞 弹性碰撞 非弹性碰撞 反冲 反冲现象 爆炸 机械振动、机械波: 简谐运动 简谐运动的图象 单摆 用单摆测重力加速度 阻尼振动 受迫振动和共振 机械波的形成和传播 机械波的图象 波的干涉和衍射 多普勒效应 波长、波速和频率的关系 力学综合: 子弹打木块模型 弹簧综合 应用数学知识综合 ★电磁学★ 静电现象: 电荷 库仑定律 静电场 电场强度 电场强度的叠加 电势能和电势 等势面 电势差 电势差与电场强度的关系 静电平衡 静电场中的导体 电容器 电容 平行板电容器的电容 电容器的动态分析 电荷在电场中的加速 电荷在电场中的偏转 电荷在交变电场中的运动 示波管的原理与使用 恒定电流: 电源和电流 电流和电荷量 电阻和欧姆定律 电阻、电阻率 影响导体电阻的因素、电阻定律 导体的伏安特性曲线 电阻定律 电功率和电功 焦耳定律 闭合电路的欧姆定律 电源电动势和内阻 全电路的功和能 含容电路 半导体 超导 串联和并联 电表 电流表的构造及使用 欧姆表 练习使用多用电表 磁场: 磁现象和磁场 磁场、地磁场 磁感应强度 安培分子电流假说 通电导线在磁场中受到的力 安培力及其方向 左手定则 安培力的大小 洛伦兹力 粒子在有界磁场中运动 粒子在复合场中运动 磁场和重力场的复合 磁场、电场和重力场复合 电磁场的应用 质谱仪 回旋加速器 电磁流量计 磁流体发电机 电磁感应: 电磁感应现象 楞次定律 法拉第电磁感应定律及应用 磁通量 互感与自感 电磁感应与力学 电磁感应与电路 电磁感应与图象 电磁感应中切割类问题 电磁感应中磁变类问题 交变电流: 交变电流的产生及规律 描述交变电流的物理量 周期和频率 交流电的最大值与有效值 交流电图象 变压器原理 电能的输送 电感和电容对交流电的影响 示波器的使用 门电路 传感器: 与门、或门、非门 门电路设计与应用 传感器 电磁波: 电磁场与电磁波 电磁波的发射和接收 电磁波谱 电磁场理论 复合场: ★热学★ 分子动理论: 物质由大量分子组成 用油膜法估测分子直径的大小 分子大小与阿伏加德罗常数 分子热运动 扩散 布朗运动 分子间的作用力 分子动能、分子势能、内能 温度、温度计和温标 热力学定律: 热力学第一定律 热力学第二定律 热力学第三定律 热机: 热机原理与热机效率 内燃机原理 电冰箱与空调器 固体: 晶体和非晶体 晶体的微观结构 液体: 液体的表面张力 浸润和不浸润、毛细现象 气体: 气体的状态方程 气体实验定律 饱和汽与饱和气压 空气湿度、湿度计 物态变化中的能量交换: ★光学★ 光的反射和折射: 光的反射定律 光的折射定律 折射率 测定玻璃的折射率 全反射、临界角 光的干涉和衍射: 杨氏干涉实验 用双缝干涉测量光的波长 光的衍射 衍射光栅 光的偏振和色散: 偏振现象 偏振现象的应用 光谱 光的色散、光的颜色 薄膜干涉、衍射、折射中的色散 激光: 激光及其特点 光的粒子性: 光子的动量 光电效应 康普顿效应 物质波 光的波粒二象性 ★原子物理与相对论★ 原子结构: 原子的核式结构 氢原子光谱 玻尔原子理论 原子核: 原子核的组成 原子核的衰变、半衰期 核反应方程 质能方程 放射性的应用与防护 核裂变与核聚变 探测射线的方法 夸克: 宇宙和恒星的演化 相对论: 经典时空观与相对论时空观 狭义相对论的两个基本假设 同时的相对性 时间间隔的相对性 ★物理实验★ 力学实验 热学实验 电磁学实验 光学实验 其他实验 ★物理学史和研究方法★ 物理学史: 研究方法: 整体法隔离法 控制变量法 假设法 等效法 图象法 极限法 微元法 ★单位制及量纲★ ★当代社会热点问题★ ★其他★ 能源和可持续发展:

高考物理答题技巧《平抛运动的运动规律》高频试题特训(2020年最新版)(十)
2020-08-15 23:40:15 【

1、计算题  如图所示,高为h=1.25 m的平台上,覆盖一层薄冰,现有一质量为60 kg的滑雪爱好者,以5.0 m/s的初速度向平台边缘匀速滑去, (取重力加速度g=10 m/s2).求:
(1)滑雪者在空中运动的时间
(2)滑雪者着地点到平台边缘的水平距离


参考答案:0.5s,2.5m


本题解析:略


本题难度:简单



2、选择题  跳台滑雪是非常刺激、好看的项目,如图所示是简化后的跳台滑雪的雪道示意图.运动员从助滑雪道AB上由静止开始下滑,到达C点后水平飞出(不计空气阻力),以后落到F点(图中未画出).E是运动轨迹上的某一点,运动员在该点时的速度方向与轨道CD平行.设运动员从C到E、从E到F的运动时间分别为tCE和tEF,EG和斜面CD垂直,则(  )
A.tCE大于tEF,CG等于GF
B.tCE等于tEF,CG小于GF
C.tCE大于tEF,CG小于GF
D.tCE等于tEF,CG等于GF



参考答案:建立坐标系:以C点为原点,CD为X轴,和CD垂直向上方向为Y轴,进行运动分解,Y轴方向做类竖直上抛运动,X轴方向做匀加速直线运动.
? 当运动员速度方向与轨道平行时,在Y轴方向上到达最高点,根据对称性,tCE=tEF
? 而X轴方向运动员做匀加速运动,tCE=tEF,CG<GF
故选B


本题解析:


本题难度:一般



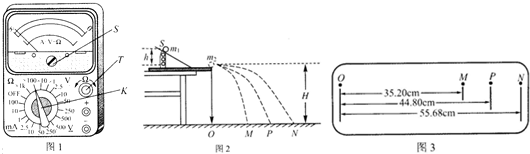
3、简答题  (1)用如图1所示的多用电表测量电阻,要用到选择开关K和两个部件S、T.请根据下列步骤完成电阻测量:
①旋动部件______,使指针对准电流的“0“刻线.②将K旋转到电阻挡“×l00“的位置.
③将插入“十“、“-“插孔的表笔短接,旋动部件______,使指针对准电阻的______?(填“0刻线“或“∞刻线“).
④将两表笔分别与侍测电阻相接,发现指针偏转角度过小.为了得到比较准确的测量结果,请从下列选项中挑出合理的步骤,并按______的顺序避行操作,再完成读数测量.
A.将K旋转到电阻挡“×1k“的位置?B.将K旋转到电阻挡“×10“的位置
C.将两表笔的金属部分分别与被测电阻的两恨引线相接
D.将两表笔短接,旋动合适部件,对电表进行校准
(2)如图2,用“碰撞实验器“可以验证动量守恒定律,即研究两个小球在轨道水平部分碰撞前后的动量关系.
①实验中,直接测定小球碰撞前后的速度是不容易的.但是,可以通过仅测量______?(填选项前的符号),间接地解决这个问题.
A.小球开始释放高度h?B.小球抛出点距地面的高度H
C.小球做平抛运动的射程
②图2中O点是小球抛出点在地面上的垂直投影.实验时,先让入射球ml多次从斜轨上S位置静止释放,找到其平均落地点的位置P,测量平抛射程OP.
然后,把被碰小球m2静置于轨道的水平部分,再将入射球ml从斜轨上S位置静止释放,与小球m2相碰,并多次重复.接下来要完成的必要步骤是______.(填选项前的符号)
A.用天平测量两个小球的质量ml、m2B.测量小球m1开始释放高度h?C.测量抛出点距地面的高度H
D.分别找到m1、m2相碰后平均落地点的位置M、N?E.测量平抛射程OM,ON
③若两球相碰前后的动量守恒,其表达式可表示为______?(用②中测量的量表示);若碰撞是弹性碰撞,那么还应满足的表达式为______?(用②中测量的量表示).
④经测定,m1=45.0g,m2=7.5g,小球落地点的平均位置距O点的距离如图3所示.碰撞前、后m1的动量分别为p1与p1?,则p1:p1?=______:11;若碰撞结束时m2的动量为p2?,则p1?:p2?=11:______.
实验结果表明,碰撞前、后总动量的比值

p1
p1′+p2′
为______.
⑤有同学认为,在上述实验中仅更换两个小球的材质,其它条件不变,可以使被碰小球做平抛运动的射程增大.请你用④中已知的数据,分析和计算出被碰小球m2平抛运动射程ON的最大值为______cm.


参考答案:(1)首先要对表盘机械校零,所以旋动部件是S.接着是欧姆调零,将“十“、“-“插孔的表笔短接,旋动部件T,让表盘指针指在最右端零刻度处.当两表笔分别与待测电阻相接,发现指针偏转角度过小,为了得到比较准确的测量结果,必须将指针在中间刻度附近,所以要将倍率调大.原因是指针偏转小,则说明刻度盘值大,现在要指针偏大即刻度盘值要小,则只有调大倍率才会实现.所以正确顺序ADC
?故答案为:①S;? ③T;?0刻线;? ④ADC.
(2)验证动量守恒定律实验中,即研究两个小球在轨道水平部分碰撞前后的动量关系,直接测定小球碰撞前后的速度是不容易的,但是通过落地高度不变情况下水平射程来体现速度.故答案是C
? 实验时,先让入射球ml多次从斜轨上S位置静止释放,找到其平均落地点的位置P,测量平抛射程OP.然后,把被碰小球m2静置于轨道的水平部分,再将入射球ml从斜轨上S位置静止释放,与小球m2相碰,并多次重复.测量平均落点的位置,找到平抛运动的水平位移,因此步骤中D、E是必须的,而且D要在E之前.至于用天平秤质量先后均可以.所以答案是ADE或DEA或DAE
?设落地时间为t,则v1=OPt,v′1=OMt,v′2=ONt;
而动量守恒的表达式是m1?v1=?m1v′1+m2v′2
动能守恒的表达式是12m1v21=12?m1v′21+12m2v′22
所以若两球相碰前后的动量守恒,则m1?OM+m2?ON=m1?OP?成立
若碰撞是弹性碰撞,动能是守恒的,则有m1?OM2+m2?ON2=m1?OP2成立
碰撞前后m1动量之比:P1P′1=OPOM=44.835.2=1411
P′1P′2=m1?OMm2?ON=45.0×35.27.5×55.68=112.9
P1P′1+P′2=m1?OPm1?OM+?m2?ON=45×44.845×35.2+7.5×55.08=1.01
发生弹性碰撞时,被碰小球获得速度最大,根据
动量守恒的表达式是m1?v1=?m1v′1+m2v′2
动能守恒的表达式是12m1v21=12?m1v′21+12m2v′22
联立解得v′2=2m1m1+m2v1,因此最大射程为S=2×4545+7.5×44.8cm=76.8cm
?故答案为:①C; ②ADE或DEA或DAE;③m1?OM+m2?ON=m1OP;? m1?OM2+m2?ON2=m1OP2
? ④14;?2.9;?1.01;? ⑤76.8.


本题解析:


本题难度:一般



4、选择题  一个质量为m的物体,从距竖直墙L处以初速度v0水平抛出。不计空气阻力,则该物体撞到墙上的时间由下列哪组物理量决定
[? ]
A.重力加速度g
B.初速度v0
C.水平距离L
D.初速度v0和水平距离L


参考答案:D


本题解析:


本题难度:简单



5、填空题  如图,子弹从O点水平射出,初速度为v0,穿过两块竖直放置的薄挡板AB,留下弹孔CD,测量CD的高度差为0.1 m,两板间距4 m,A板离O点的水平距离为14 m,不计挡板和空气的阻力,则v0="________" m/s (g=10 m/s2)


参考答案:80


本题解析:假设子弹穿过A板的时间为t1,穿过B板的时间为t2,根据平抛运动的规律有:穿过两板的高度差:联立以上各式解得:v0=80m/s


本题难度:简单



Modesty helps one to make progress; conceit makes one lag behind. 谦虚使人进步,骄傲使人落后。
】【打印繁体】 【关闭】 【返回顶部
下一篇高中物理高考知识点《匀变速直线..

问题咨询请搜索关注"91考试网"微信公众号后留言咨询