| 高考省级导航 | |
|
|
|
高考地理知识点总结《水的运动》高频考点强化练习(2019年最新版)(一)
A.继续加大围湖造田的力度,增加耕地面积 B.在湖区建设湿地公园,恢复湿地植被 C.在金沙江地区建立自然保护区 D.在生态经济区范围内禁止工业发展 |
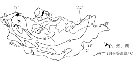
3、单选题 下图示意亚洲某内陆国水系分布和七月份气温分布情况。读图完成问题。
1.该国2.②地的自然带为
A.水汽主要来自北冰洋
B.年降水量自南向北递减
C.最大水系流域面积约占国土面积的一半以上
D.常年受西风带控制
E.温带落叶阔叶林带
F.高山草甸带
G.温带荒漠带
H.亚寒带针叶林带
4、单选题 目前人类比较容易利用的淡水资源是①江河水②湖泊淡水③冰川④浅层地下淡水
[? ]
5、单选题 读下面两幅图,甲图为1990年至2001年太湖劣于Ⅲ类水质变化图,乙图为2005年太湖水质状况分布图。据此回答22~23题。
小题1:从甲图可以看出,1991年至2001年太湖水质状况的变化趋势及其形成的自然原因是
A.水体质量不断变好;水体流动快,自净能力强
B.水体质量基本没有变化;太湖面积大
C.水体质量整体不断下降,1996年水质最差;水体流动缓慢,自净能力弱
D.水体质量波动上升;降水丰富,湖水补给充足
小题2:乙图反映了太湖水域水质状况的分布规律是
A.东北部水质优于东南部水质
B.西部水质优于东部水质
C.北部水质优于南部水质
D.东南部水质优于西北部水质
| 【大 中 小】【打印】 【繁体】 【关闭】 【返回顶部】 | |
| 下一篇:高中地理知识点总结《地球运动及.. | |