微信搜索关注"91考试网"公众号,领30元,获取公务员、事业编、教师等考试资料40G!
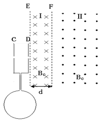
1、计算题 (18分)中心均开有小孔的金属板C、D与半径为d的圆形单匝金属线圈连接,圆形框内有垂直纸面的匀强磁场,大小随时间变化的关系为B=kt(k未知且k>0),E、F为磁场边界,且与C、D板平行。D板右方分布磁场大小均为B0,方向如图所示的匀强磁场。区域Ⅰ的磁场宽度为d,区域Ⅱ的磁场宽度足够。在C板小孔附近有质量为m、电量为q的负离子由静止开始加速后,经D板小孔垂直进入磁场区域Ⅰ,不计离子重力。

(1)判断圆形线框内的磁场方向;
(2)若离子从C板出发,运动一段时间后又恰能回到C板出发点,求离子在磁场中运动的总时间;
(3)若改变圆形框内的磁感强度变化率k,离子可从距D板小孔为2d的点穿过E边界离开磁场,求圆形框内磁感强度的变化率k是多少?
2、简答题 如图甲所示,在光滑绝缘的水平桌面上建立一xoy坐标系,平面处在周期性变化的电场和磁场中,电场和磁场的变化规律如图乙所示(规定沿+y方向为电场强度的正方向,竖直向下为磁感应强度的正方向).在t=0时刻,一质量为10g、电荷量为0.1C的带电金属小球自坐标原点O处,以v0=2m/s的速度沿x轴正方向射出.已知E0=0.2N/C、B0=0.2πT.求:
(1)t=1s末速度的大小和方向;
(2)1s~2s内,金属小球在磁场中做圆周运动的半径和周期;
(3)(2n-1)s~2ns(n=1,2,3,…)内金属小球运动至离x轴最远点的位置坐标.

3、选择题 如图所示,现有一带正电的粒子能够在正交的匀强电场和匀强磁场中匀速直线穿过。设产生匀强电场的两极板间电压为U,板间距离为d,匀强磁场的磁感应强度为B,粒子带电荷量为q,进入速度为v(不计粒子的重力)。以下说法正确的是

A.匀速穿过时粒子速度v与U、d、B间的关系为
B.若只增大v,其他条件不变,则粒子仍能直线穿过
C.若只增大U,其他条件不变,则粒子仍能直线穿过
D.若保持两板间电压不变,只减小d,其他条件不变,粒子进入两板间后将向下偏
4、简答题
⑴匀强电场的场强E;
⑵AD之间的水平距离d;
⑶已知小颗粒在轨迹DP上某处的最大速度为vm,该处轨迹的
曲率半径是距水平面高度的k倍,则该处的高度为多大?
5、计算题 如图甲所示,两平行金属板接有如图乙所示随时间t变化的电压U,两板间电场可看作均匀的,且两板外无电场,板长L=0.2m,板间距离d=0.2m。在金属板右侧有一边界为MN的区域足够大的匀强磁场,MN与两板中线OO′垂直,磁感应强度
T,方向垂直纸面向里。现有带正电的粒子流沿两板中线OO′连续射入电场中,已知每个粒子速度
m/s,比荷q/m=108C/kg,重力忽略不计,在每个粒子通过电场区域的极短时间内,电场可视作是恒定不变的。
(1)试求带电粒子射出电场时的最大速度;
(2)证明任间时刻从电场射出的带电粒子,进入磁场时在MN上的入射点和在MN上出射点的距离为定值,写出该距离的表达式;
(3)从电场射出的带电粒子,进入磁场运动一段时间后又射出磁场,求粒子在磁场中运动最长时间和最短时间。
