高考省级导航

全国 A安徽 B北京 C重庆 F福建 G广东 广西 甘肃 贵州 H河南 河北 湖南 湖北 黑龙江 海南 J江苏 江西 吉林 L辽宁 N内蒙古 宁夏 Q青海 S山东 山西 陕西 四川 上海 T天津
     X新疆 西藏 Y云南 Z浙江

高考物理高频试题、高中物理题库汇总-压中真题已成为一种习惯

★力学★ 运动的描述: 质点、参考系、坐标系 时间与时刻 位移与路程 速度、速率 平均速度和瞬时速度 加速度 电磁打点计时器和电火花计时器 直线运动: 匀速直线运动 匀变速直线运动 匀变速直线运动基本公式应用 匀变速直线运动导出公式应用 自由落体运动 竖直上抛运动 探究小车速度随时间变化的规律 运动的图象 S-t图象 V-t图象 追及相遇问题 相互作用: 力的描述 重力 弹力 弹性形变和弹力 探究弹力和弹簧伸长的关系 摩擦力 滑动摩擦力 静摩擦力 力的合成与分解 平行四边形定则 力的合成 力的分解 正交分解 共点力的平衡 三力平衡 动态平衡分析 力矩平衡 牛顿运动定律: 牛顿第一定律 伽利略理想实验 惯性与质量 牛顿第二定律及应用 对单物体(质点)的应用 对质点系的应用 连接体问题 牛顿定律与图象 超重失重 探究加速度与力、质量的关系 牛顿第三定律 牛顿运动定律与电磁学综合 曲线运动: 曲线运动的特点 运动的合成与分解 位移的合成与分解 速度的合成与分解 小船渡河问题分析 最短时间过河 最短位移过河 拋体运动的规律 平抛运动的概念与轨迹 平抛运动的运动规律 研究平抛运动 斜抛运动 圆周运动 描述圆周运动的物理量 匀速圆周运动 向心力与向心加速度 圆周运动实例分析 离心运动和向心运动 万有引力与航天: 开普勒定律 万有引力定律及其应用 天体的匀速圆周运动的模型 人造卫星与飞船 近地卫星和同步卫星 宇宙速度 功和机械能: 恒力做功 变力做功 功率 功率的概念 机车启动 动能与重力势能 动能 探究功与速度变化的关系 弹性势能 动能定理及应用 动能定理的理解 动能定理的综合应用 摩擦力做功 皮带模型 机械能守恒定律 机械能 机械能守恒及其条件 机械能综合应用 能量守恒定律 功能关系 动量: 动量和冲量 动量 冲量 动量定理 动量守恒定律 碰撞 弹性碰撞 非弹性碰撞 反冲 反冲现象 爆炸 机械振动、机械波: 简谐运动 简谐运动的图象 单摆 用单摆测重力加速度 阻尼振动 受迫振动和共振 机械波的形成和传播 机械波的图象 波的干涉和衍射 多普勒效应 波长、波速和频率的关系 力学综合: 子弹打木块模型 弹簧综合 应用数学知识综合 ★电磁学★ 静电现象: 电荷 库仑定律 静电场 电场强度 电场强度的叠加 电势能和电势 等势面 电势差 电势差与电场强度的关系 静电平衡 静电场中的导体 电容器 电容 平行板电容器的电容 电容器的动态分析 电荷在电场中的加速 电荷在电场中的偏转 电荷在交变电场中的运动 示波管的原理与使用 恒定电流: 电源和电流 电流和电荷量 电阻和欧姆定律 电阻、电阻率 影响导体电阻的因素、电阻定律 导体的伏安特性曲线 电阻定律 电功率和电功 焦耳定律 闭合电路的欧姆定律 电源电动势和内阻 全电路的功和能 含容电路 半导体 超导 串联和并联 电表 电流表的构造及使用 欧姆表 练习使用多用电表 磁场: 磁现象和磁场 磁场、地磁场 磁感应强度 安培分子电流假说 通电导线在磁场中受到的力 安培力及其方向 左手定则 安培力的大小 洛伦兹力 粒子在有界磁场中运动 粒子在复合场中运动 磁场和重力场的复合 磁场、电场和重力场复合 电磁场的应用 质谱仪 回旋加速器 电磁流量计 磁流体发电机 电磁感应: 电磁感应现象 楞次定律 法拉第电磁感应定律及应用 磁通量 互感与自感 电磁感应与力学 电磁感应与电路 电磁感应与图象 电磁感应中切割类问题 电磁感应中磁变类问题 交变电流: 交变电流的产生及规律 描述交变电流的物理量 周期和频率 交流电的最大值与有效值 交流电图象 变压器原理 电能的输送 电感和电容对交流电的影响 示波器的使用 门电路 传感器: 与门、或门、非门 门电路设计与应用 传感器 电磁波: 电磁场与电磁波 电磁波的发射和接收 电磁波谱 电磁场理论 复合场: ★热学★ 分子动理论: 物质由大量分子组成 用油膜法估测分子直径的大小 分子大小与阿伏加德罗常数 分子热运动 扩散 布朗运动 分子间的作用力 分子动能、分子势能、内能 温度、温度计和温标 热力学定律: 热力学第一定律 热力学第二定律 热力学第三定律 热机: 热机原理与热机效率 内燃机原理 电冰箱与空调器 固体: 晶体和非晶体 晶体的微观结构 液体: 液体的表面张力 浸润和不浸润、毛细现象 气体: 气体的状态方程 气体实验定律 饱和汽与饱和气压 空气湿度、湿度计 物态变化中的能量交换: ★光学★ 光的反射和折射: 光的反射定律 光的折射定律 折射率 测定玻璃的折射率 全反射、临界角 光的干涉和衍射: 杨氏干涉实验 用双缝干涉测量光的波长 光的衍射 衍射光栅 光的偏振和色散: 偏振现象 偏振现象的应用 光谱 光的色散、光的颜色 薄膜干涉、衍射、折射中的色散 激光: 激光及其特点 光的粒子性: 光子的动量 光电效应 康普顿效应 物质波 光的波粒二象性 ★原子物理与相对论★ 原子结构: 原子的核式结构 氢原子光谱 玻尔原子理论 原子核: 原子核的组成 原子核的衰变、半衰期 核反应方程 质能方程 放射性的应用与防护 核裂变与核聚变 探测射线的方法 夸克: 宇宙和恒星的演化 相对论: 经典时空观与相对论时空观 狭义相对论的两个基本假设 同时的相对性 时间间隔的相对性 ★物理实验★ 力学实验 热学实验 电磁学实验 光学实验 其他实验 ★物理学史和研究方法★ 物理学史: 研究方法: 整体法隔离法 控制变量法 假设法 等效法 图象法 极限法 微元法 ★单位制及量纲★ ★当代社会热点问题★ ★其他★ 能源和可持续发展:

高考物理知识大全《导体的伏安特性曲线》高频试题巩固(2017年最新版)(六)
2017-07-10 21:09:43 来源:91考试网 作者:www.91exam.org 【
微信搜索关注"91考试网"公众号,领30元,获取公务员、事业编、教师等考试资料40G!

1、实验题  (10分)利用以下器材测定干电池的电动势和内电阻:
A待测干电池两节? B电流传感器
C电压传感器? D电阻箱R(0~20Ω,2 A)?
E电阻R0(2 000Ω)? F开关和导线若干
某同学设计了如图甲所示的电路来完成实验。

(1)实验中应该选用的传感器是_______________(填写字母序号)(2分)
(2)当开关K闭合之前,电阻箱的阻值应调到______________(选填最大、最小)(2分)
当电阻箱的阻值变小时,传感器的读数将___________(选填变大、变小、不变)(2分)
(3)图乙为该同学利用测出的实验数据通过计算机绘出如图所示的图线。(为电阻箱的阻值示数,为保护电阻),则由图线可得被测干电池的电动势E=________V(2分),内阻r =________Ω。(2分)(答案保留两位有效数字)


参考答案:(1)C?(2)最大;变小?(3)2.9;7.3(其它数据均不得分)


本题解析:(1)传感器与电阻箱并联,知道支路电压就能求得电阻箱所在支路电流,所以传感器选择电压传感器(2)当开关K闭合之前,电阻箱的阻值应调到最大位置,使电路中电流最小,当电阻箱的阻值变小时,由串联分压可知并联段分得的电压减小(3)由闭合电路欧姆定律可知,图像与纵坐标的交点为电源电动势的倒数,所以E=1/0.34=2.9V,图像的斜率表示r/E,所以电源内阻r=7.3Ω
点评:本题难度较大,考查电学实验基础、传感器的认识、仪器的选择,还有应用数学方法求解物理问题


本题难度:一般



2、实验题  常用电流表有内阻,现要测量电流表G1的内阻r1 电路如图甲所示。供选择的仪器如下:
A.待测电流表G1(0~5 mA,内阻约300)
B.电流表G2(0~10 mA,内阻约100)
C.定值电阻R1(30)
D.定值电阻R2(300)

E.定值电阻R3(3)? F.滑动变阻器R4(0?20)
G.电源(电动势6.0 V,内阻不计)?H.开关S及导线若干
(1) 电路中与电流表G1并联的电阻应选_______,保护电阻应选用_______ (请填写器材前的字母序号)。

(2) 根据电路在图乙中连接实物图,要求闭合开关前滑动变阻器的滑动触头P处于正确位置。
(3) 补全实验步骤:
①按电路图连接电路;
②闭合开关S,移动滑动触头P至某一位置,记录G1、G2的读数I1、I2;
③_______________________________________________________________
④以I1为纵轴,I2为横轴,作出相应图象如图丙所示。
(4) 根据I1-I2图线的斜率k及定值电阻,写出电流表G1内阻的表达式r1=_______


参考答案:(1)(2分)D ( 或R2 ) ,C( 或R1 )
(2)(3分)如右图
(3)(2分)多次移动滑动触头,记录相应的G1、G2读数I1、I2
(4)(2分)


本题解析:略


本题难度:一般



3、简答题  现用伏安法研究某电子器件R的伏安特性曲线,要求特性曲线尽可能完整(直接测量的变化范围尽可能大一些).备用的仪器有:直流电源(12V)、电流表、电压表、滑动变阻器(0~10Ω)、电键、导线若干.
91考试网
(1)在上图1方框中画出实验电路图.
(2)根据测得的数据在图2中画出R的伏安特性曲线.从图中可看出,当电流超过某一数值后,其电阻迅速______(填“增大”或“减小”);

U/V0.00.41.02.04.07.013.0
I/A
0.00
0.50
1.00
1.50
2.00
2.50
3.00
(3)若R与标有“6V,9W”的灯泡串联后,接入直流电源两端,灯泡恰能正常发光.则此时该电子器件两端的电压是______V,该直流电源的内阻是______Ω.(结果保留两位有效数字)


参考答案:
91考试网

91考试网
(1)由题意可知本实验应采用滑动变阻器分压接法、电流表采用外接法,电路图如图b所示;
(2)由表格中数据利用描点法将各点描于坐标轴中,再用平滑的曲线画出R的伏安特性曲线.图象如图c所示;
图象的斜率表示该器件的阻值,由图可知,图象的斜率越来越大,故说明电子器件的电阻增大;
(3)灯泡正常发光,故灯泡的电压为6V,电流I=PU=96=1.5A;
由坐标中数据可知,电子器件两端的电压为2.0V;则由串联电路的电压规律可知,电源内阻两端的电压U内=12-2.0-6=4V,故内电阻r=U内I=41.5=2.7Ω;
故答案为:(1)如右图所示;(2)增大;(3)2.0;2.7.


本题解析:


本题难度:一般



4、简答题  对某导电元件(圆柱状)进行研究,图甲是说明书中给出的伏安特性曲线.
91考试网
(1)用多用表的欧姆挡试测元件在常温下的电阻,操作步骤正确,发现表头指针偏转的角度过大或过小时应选用其它挡位测量,换挡后进行测量之前,应当______.
(2)可由U-I图线得到各状态下的电阻值,为了进一步研究材料电阻率,需要测量元件的长度和截面直径,如图乙,用螺旋测微器测得的直径读数为______mm.
(3)实验室中提供以下器材:
A.电压表V(量程为0~3V,内阻约5kΩ)B.电流表A(量程为0~0.6A,内阻约0.lΩ)
C.滑动变阻器R1(0一l0Ω,额定电流1.5A)
D.滑动变阻器R2(0一l000Ω,额定电流0.5A)
E.直流电源(电动势3V,内阻忽略不计)?F.电键一个、导线若干
设计一个电路,验证该元件的伏安特性线是否和说明书中所给的一致,则滑动变阻器应选择______;试在图丙方框中画出实验原理图.


参考答案:
91考试网
(1)使用欧姆表测电阻换挡后要重新欧姆调零.
(2)由图乙所示螺旋测微器可知,螺旋测微器固定刻度示数为1.5mm,
可动刻度示数为49.0×0.01mm=0.490mm,螺旋测微器示数为1.5mm+0.490mm=1.990mm.
(3)为方便实验操作滑动变阻器应选R1;电压与电流从零变化,滑动变阻器应采用分压接法,由伏安特性曲线可知,灯泡电阻约为4Ω,电流表内阻约为0.1Ω,电压表内阻约为5000Ω,电压表内阻远大于待测电阻阻值,电流表应采用外接法,实验电路图如图所示.
故答案为:(1)欧姆调零;(2)1.990;(3)R1;实验电路图如图所示.


本题解析:


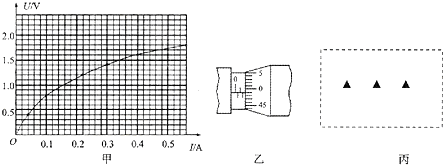
本题难度:一般



5、简答题  (1)当使用多用电表测量物理量时,多用电表表盘示数如图1所示.若此时选择开关对准直流50V电压档,则被测电压为______V;若此时选择开关对准×l0档,则被测电阻的阻值为______Ω.
(2)某电阻Rx约为25kΩ,要测量它的阻值.现有电动势为15V的直流电源,最大阻值为5Ω的滑动变阻器,另外可供选择的电表有:
A.电流表(量程100μA,内阻约2kΩ)?
B.电流表(量程500μA,内阻约300Ω)
C.电压表(量程10V,内阻约l00kΩ)?
D.电压表(量程50V,内阻约500kΩ)
①应选择的电表为(只需填电表前面的字母即可):
电流表______;电压表______.
②在图2方框中画出最合适的测量电路图.
91考试网


参考答案:(1)电压表的读数为U=21.0V,欧姆表的读数为R=40×10Ω=400Ω.
(2)由于电动势为15V,所以电压表应选C;由I=UR可求出通过待测电阻的最大电流为I=1025mA=400μA,所以电流表应选B.
(3)由于R?VR?x<R?xR?A,所以电流表应选内接法;由于滑动变阻器全电阻远小于待测电阻,所以滑动变阻器应用分压式接法,电路图如图所示

91考试网

故答案为(1)21.0,400
?(2)B,C
?(3)如图


本题解析:


本题难度:一般



】【打印繁体】 【关闭】 【返回顶部
下一篇高中物理知识点大全《力学》考点..

网站客服QQ: 960335752 - 14613519 - 791315772